Запчасти Case IH 7120 (8-44) - HITCH CONTROL (08) - HYDRAULICS

Схема запчастей Case IH 7120 - (8-44) - HITCH CONTROL (08) - HYDRAULICS
23
47
12
9
16
40
4
24
17
25
39
3
50
33
1
35
34
2
1
45
13
1
6
20
35
46
26
19
41
30
21
15
10
3
40
29
22
32
27
28
14
6
42
11
44
41
11
FIT
1:1
100%

Артикул

Название

Примечание

Количество

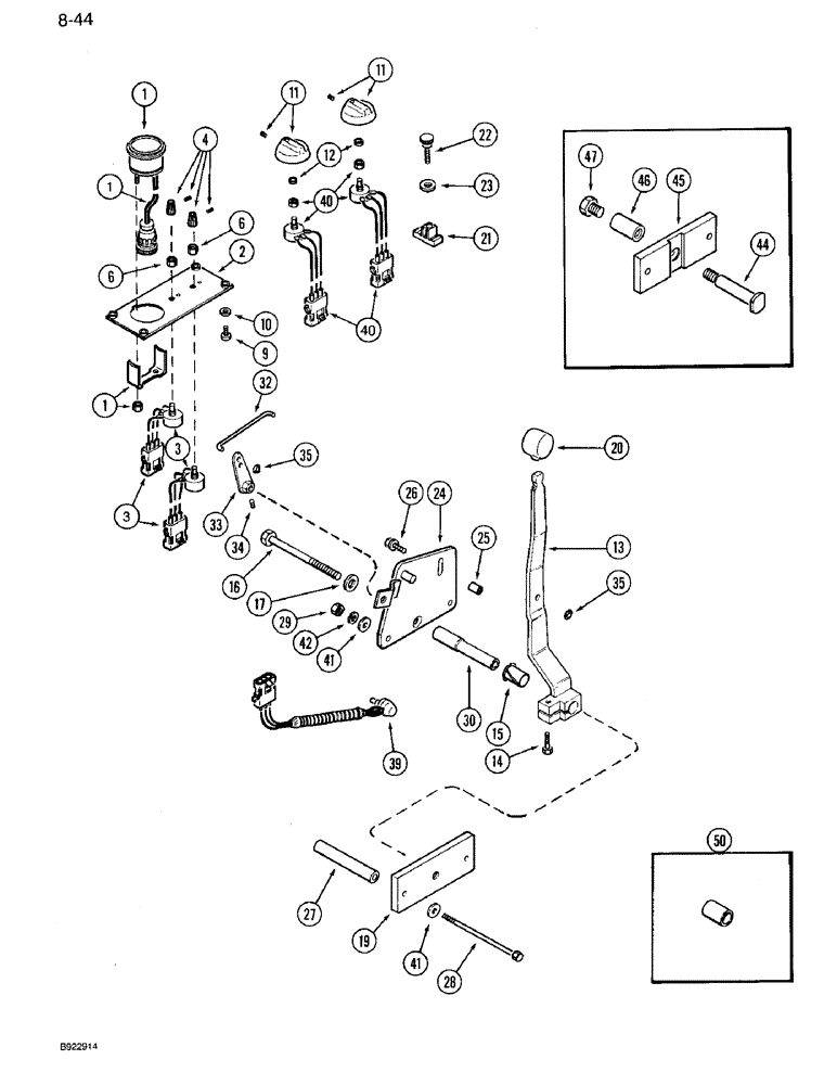
1

1983331C1

GAUGE

- display, seven segment, Replaces: A186064

1шт.

2

1546482C1

PLATE ASSY.

PLATE - panel, plastic, Replaces: A186066, metal plate

1шт.

3

A186061

POTENTIOMETER,10,000 Ohm, 8V

Gauge 10,000 Ohm, 8V

2шт.

4

A186263

KNOB

Speed, Drop and Hitch

2шт.

6

A186265

NUT

- retainer

2шт.

9

490-1108

SCREW,Cross Pan Hd, #10-32 x 1/2"

- pan head slotted machine, No. 10 NF x 1/2 inch

4шт.

10

495-31022

WASHER,#10

4шт.

11

96729C1

KNOB

- lever, draft and sensing

2шт.

11

1977591C1

KNOB

- lever, sensing, used on 4 post ROPS

1шт.

12

97121C1

FRICTION WASHER

- friction

2шт.

13

1280384C3

HANDLE

ASSEMBLY - position control, Replaces: 1280384C2

1шт.

14

814-6030

BOLT,Hex, M6 x 1 x 30mm, Cl 8.8

1шт.

15

1283599C1

BUSHING,19.08mm ID x 28.58mm OD x 28.57mm L

- pivot, lever

1шт.

16

814-12140

BOLT,Hex, M12 x 1.75 x 140mm, Cl 8.8

1шт.

17

896-11012

WASHER,13.5mm ID x 24mm OD x 3mm Thk

1шт.

19

1340477C1

LARGE PLATE

PLATE - support, outer, Start Serial: JJA0023777

1шт.

20

A177435

BALL KNOB

KNOB - lever

1шт.

21

1259806C1

BAR

- stop-handle

1шт.

22

96860C1

KNOB

- bar, stop

1шт.

23

1971243C1

WASHER

- nylon

1шт.

24

96667C1

PLATE ASSY.

PLATE - support

1шт.

25

96679C1

STOP

- handle

1шт.

26

97006C1

BOLT,Hex, M6 x 20mm, Cl 8.8

- heavy hex flange, 6 mm -1 x 20 mm, polyseal

1шт.

27

96681C1

SPACER

- plate

2шт.

28

827-8160

BOLT,Hex, M8 x 1.25 x 160mm, Cl 10.9

- hex, 8 x 160 mm

2шт.

29

829-1408

NUT,Hex, M8 x 1.25, Cl 10.9

2шт.

30

1340476C2

SPACER

- pivot, lever, Replaces: 1340476C1, Start Serial: JJA0023777

1шт.

32

96677C1

ROD

- control

1шт.

33

96673C4

LEVER ASSY.

LEVER - control, Replaces: 96673C2 and 96673C3

1шт.

34

877-1046

SET SCREW,M4 x 6mm

SCREW - headless socket, 4 x 6 mm

1шт.

35

96686C1

RING

- retaining

2шт.

39

111448A1

POTENTIOMETER,5000 Ohm, 8V

Gauge Position, Replaces A186003 5000 Ohm, 8V

2шт.

40

A186061

POTENTIOMETER,10,000 Ohm, 8V

Gauge, Load and Travel 10,000 Ohm, 8V

2шт.

41

895-11008

WASHER,9mm ID x 16mm OD x 1.6mm Thk

4шт.

42

892-11008

LOCK WASHER,8mm ID

WASHER, LOCK, M8

2шт.

44

1280374C1

BOLT,Shldr, 5/8" - 11 x 109.80mm, Gr 8

BOLT - shoulder, Serial Range: -JJA0023777

1шт.

45

1280393C1

PLATE ASSY.

PLATE - support, outer, Serial Range: -JJA0023777

1шт.

46

96680C1

SPACER

- pivot, Serial Range: -JJA0023777

1шт.

47

326-1012

BOLT,Hex, 5/8" - 11 x 3/4", Gr 8

- hex, 5/8 NC x 3/4 inch

1шт.

50

97203C2

SPACER

- pivot, used without hitch

1шт.

Выбрано товаров: 40