Запчасти Case IH 7120 (8-94) - OPERATORS SEAT HYDRAULICS, AIR/OIL SEAT, IF EQUIPPED (08) - HYDRAULICS

Схема запчастей Case IH 7120 - (8-94) - OPERATORS SEAT HYDRAULICS, AIR/OIL SEAT, IF EQUIPPED (08) - HYDRAULICS
5
7
6
2
11
21
13
3
16
23
24
1
10
10
6
17
7
4
4
11
12
2
14
11
5
22
11
7
15
20
FIT
1:1
100%

Артикул

Название

Примечание

Количество

1

REF

INSTRUCTION

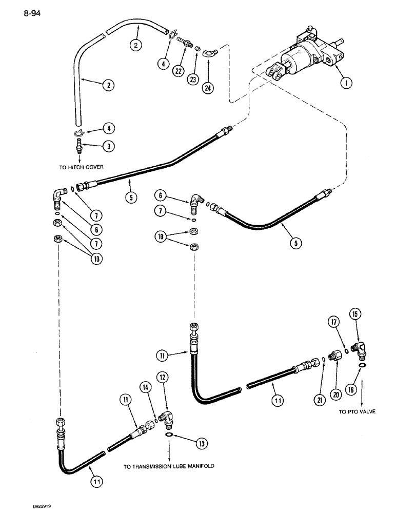
CYLINDER ASSEMBLY - module, seat, See Figure 9-74

1шт.

2

NSS

NOT SOLD SEPARAT

HOSE - drain, 39 inch, order A21561 and, Serial Range: cut-length

1шт.

A21561

HOSE,0.25" ID x 25.00"

0.25" ID x 25.00' - Bulk

1шт.

3

1282227C1

FITTING

- hose, drain

1шт.

4

210511R1

HOSE CLAMP,#8, 1/2", Spring

CLAMP - hose, spring wire size 8

1шт.

5

1974731C1

HOSE ASSY.

HOSE - supply and return

2шт.

6

201-300

ELBOW,90 Degree Elbow, 9/16" - 18 Male ORFS x 9/16" - 18 Male ORFS

- 90 degree bulkhead, 9/16-18 inch thread, Includes: Ref. 7

2шт.

7

238-6011

O-RING,0.07" Thk x 0.301" ID, -11, Cl 6, 90 Duro

Face end -011, 90 Duro, .301" ID x .070" Thk

2шт.

10

218-1254

LOCK NUT,Blkhd, 9/16"-18

NUT, LOCK, Blkhd, 9/16"-18

4шт.

11

1289204C1

HOSE

- pressure and return

2шт.

12

201-303

ELBOW,90 Degree Elbow, 9/16" - 18 Male ORFS x 7/16" - 20 Male ORB

- 90 degree adjustable, 7/16 x 9/16 inch thread, Includes: Ref. 13 and 14

1шт.

13

237-6004

O-RING,0.072" Thk x 0.351" ID, -904, Cl 6, 90 Duro

4-1, 90 Duro, .351" ID x .072" Thk, Boss end

1шт.

14

238-6011

O-RING,0.07" Thk x 0.301" ID, -11, Cl 6, 90 Duro

Face end -011, 90 Duro, .301" ID x .070" Thk

1шт.

15

201-305

ELBOW,90 Degree Elbow, 13/16" - 16 Male ORFS x 3/4" - 16 Male ORB

- 90°, adjustable, 3/4 x 13/16" thread, Incl. Ref. 16 and 17

1шт.

16

237-6008

O-RING,0.087" Thk x 0.644" ID, -908, Cl 6, 90 Duro

8-1, 90 Duro, .644" ID x .087" Thk, Boss end

1шт.

17

238-6014

O-RING,0.07" Thk x 0.489" ID, -14, Cl 6, 90 Duro

Face end -014, 90 Duro, .489" ID x .070" Thk

1шт.

20

201-110

REDUCER,9/16" - 18 Male ORFS x 13/16" - 16 Female ORFS

ASSEMBLY - connecting, 9/16-18 inch thread, Includes: Ref. 21

1шт.

21

238-6011

O-RING,0.07" Thk x 0.301" ID, -11, Cl 6, 90 Duro

Face end -011, 90 Duro, .301" ID x .070" Thk

1шт.

22

A49784

CONNECTOR, ELEC

CONNECTOR ASSEMBLY - hose, special, Includes: Ref. 23

1шт.

23

NSS

NOT SOLD SEPARAT

SLEEVE - connector, order A49784

1шт.

24

217-20

ELBOW,90 Degree, 1/8"-28 NPTF, Fem x 1/8"-27 NPTF Male

brass 90º, 1/8"-28 NPTF, Fem x 1/8"-27 NPTF Male

1шт.

Выбрано товаров: 21