Запчасти Case IH 7120 (9-138) - CAB, AIR FILTER AND BLOWER HOUSING (09) - CHASSIS/ATTACHMENTS

Схема запчастей Case IH 7120 - (9-138) - CAB, AIR FILTER AND BLOWER HOUSING (09) - CHASSIS/ATTACHMENTS
5
4
19
18
24
34
35
28
20
19
34
1
7
6
12
3
10
2
23
16
33
11
29
8
22
15
13
14
9
17
20
FIT
1:1
100%

Артикул

Название

Примечание

Количество

1

REF

INSTRUCTION

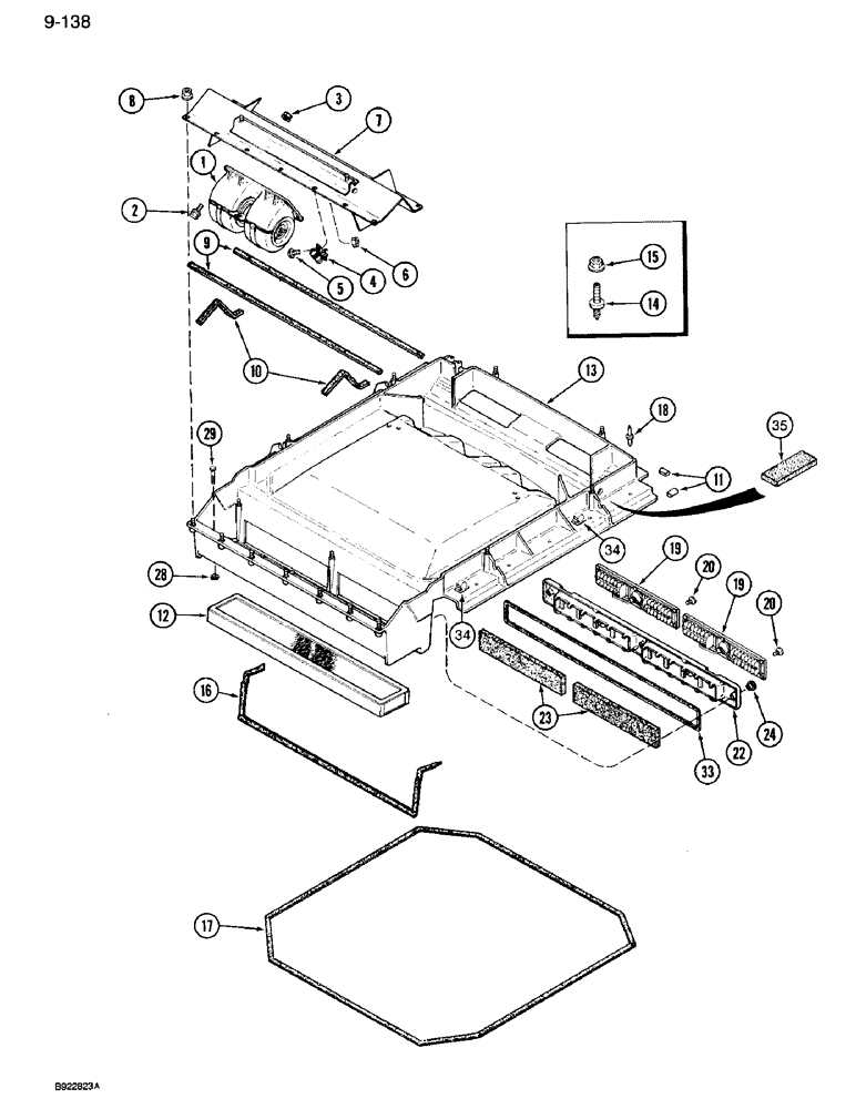
BLOWER ASSEMBLY - air, cab, See Figure 4-23 and 9-140 for service parts, Serial Range: -JAB0100387

1шт.

1

REF

INSTRUCTION

BLOWER ASSEMBLY - air, cab, See Figure 4-23 and 9-140 for service parts, Start Serial: JAB0100387

1шт.

2

97006C1

BOLT,Hex, M6 x 20mm, Cl 8.8

- hex flange, 6 x 20 mm

4шт.

3

97005C1

FLANGE NUT

- hex flange, 6 mm

4шт.

4

1255876C1

RESISTOR

- blower, See Figure 9-140 for service parts, Serial Range: -JAB0100387

1шт.

4

REF

INSTRUCTION

RESISTOR - blower, See Figure 4-22, Start Serial: JAB0100387

1шт.

5

30495R1

SCREW,Cross Pan Hd, M3 x 12

2шт.

6

825-1103

NUT,M3, Cl 8

- hex, 3 mm

2шт.

7

97032C4

SUPPORT ASSY.

SUPPORT - blower

1шт.

8

938016R1

FLANGE NUT,Flg, USR, 1/4"-20

- hex flange lock

10шт.

9

97198C2

SEAL

- 1080 mm, support, order 195917C2 and, Serial Range: cut-length

2шт.

10

1330171C1

SEAL - 356 mm, support, order 195917C2 and, Serial Range: cut-length

2шт.

11

NSS

NOT SOLD SEPARAT

TRIM - edge, 3 mm, order 1327666C2 and, Serial Range: cut-length

2шт.

12

143481C2

AIR CLEANER

FILTER - air, cab

1шт.

13

1340339C1

PANEL

ASSEMBLY - inner roof, Replaces: 96789C5, Includes: Ref. 14

1шт.

14

97176C1

STUD

- inner roof panel

23шт.

15

938016R1

FLANGE NUT,Flg, USR, 1/4"-20

- hex flange lock, 1/4 inch

7шт.

16

97199C1

SEAL

SEAL - 1750 mm, inner roof, order 182747C2 and, Serial Range: cut-length

1шт.

17

97200C1

SEAL

SEAL - 4440 mm, inner roof, order 182747C2 and, Serial Range: cut-length

1шт.

18

1330955C2

RIVET

- mandrel, 3/16 inch

15шт.

19

1331102C2

DIFFUSER

LOUVER ASSEMBLY - air recirculation

2шт.

20

97212C1

SCREW,Pan, #6 - 20 x 7/8"

- pan head, No. 6-20 x 7/8 inch

12шт.

22

97181C2

PANEL ASSY.

PANEL - recirculated air filter

1шт.

23

97142C1

FILTER CARTRIDGE

FILTER - recirculated air

2шт.

24

97135C1

KNOB

- recirculation panel

3шт.

28

1971364C1

RETAINER

- bolt

2шт.

29

417-440

BOLT,Sq Hd, 1/4" - 20 x 2-1/2", Gr 2

2шт.

30

26110R1

LOCK NUT,1/4"-20, GC

NUT - hex lock, 1/4 inch NC, not shown

2шт.

33

NSS

NOT SOLD SEPARAT

SEAL - 2391 mm, recirculation panel, order 187874C2 and, Serial Range: cut-length

1шт.

195917C2

SEAL

SEAL - 50 foot, bulk roll

1шт.

1327666C2

SEALING STRIP

TRIM - edge, 50 foot, bulk roll

1шт.

182747C2

SEAL ASSY.

SEAL - bulk roll, 50 foot

1шт.

187874C2

SEAL

SEAL - bulk roll, 50 foot

1шт.

34

169850C2

CABLE CLIP

1шт.

35

1977988C1

FOAM

1шт.

Выбрано товаров: 0