Запчасти Case IH 7120 (3-16) - MAIN FUEL TANK (03) - FUEL SYSTEM

Схема запчастей Case IH 7120 - (3-16) - MAIN FUEL TANK (03) - FUEL SYSTEM
24
25
3
23
22
19
9
20
27
18
33
8
34
6
28
27
11
2
32
25
4
37
1
7
25
26
29
36
5
17
FIT
1:1
100%

Артикул

Название

Примечание

Количество

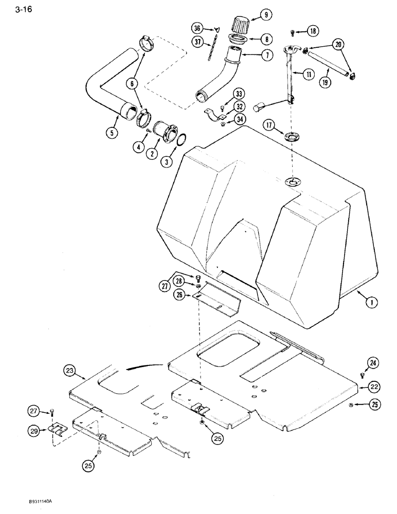
1

96903C3

RESERVOIR

TANK ASSEMBLY - fuel, main, see Figure 3-17A for related parts

1шт.

See main fuel tank on Fig. 3-17A also.

1шт.

2

1283682C1

FUEL TUBE,66.05 mm OD

TUBE - tank inlet

1шт.

3

97226C1

O-RING,4.04mm Thk x 64.82mm ID

- fuel inlet

1шт.

4

840-1620

SCREW,Pan, M6 x 20mm, Cl 4.8

Replaces 31126R1 Cross Pan Hd, M6 x 20, 4.8

6шт.

5

1283825C1

FUEL HOSE,63.50 mm ID, 66.70 mm ID x 382.00 mm, SAE 30R7

63.50 mm ID, 66.70 mm ID x 382.00 mm, SAE 30R7 - Inlet

1шт.

6

397256R1

HOSE CLAMP,#44, 2.31/3.25 Type F Worm, W/liner

CLAMP - hose retaining

2шт.

7

1283783C2

FUEL TUBE

TUBE - filler

1шт.

8

1283807C1

COLLAR

- filler neck

1шт.

9

1283826C2

CAP

- fuel filler

1шт.

11

1987598C1

FUEL GAUGE

SENSOR - fuel level, main tank, also equipped with auxiliary tank, Replaces: 91958C1, used with 91948C1 auxiliary sensor and 1983367C1 sensor, also order Ref. 17, 104812C3 gasket

1шт.

Has 1 tube and 1 terminal. P/N 1983369C1 has 2 tubes.

1шт.

17

104812C3

GASKET,3.05mm Thk

- fuel level sensor

1шт.

18

193-563

SCREW,SEMS, Hex Hd, #10-24 x 3/4", G5

- hex washer head, No. 10-24 x 3/4 inch

5шт.

19

1283890C1

FUEL HOSE,15.90 mm ID x 272.00 mm, SAE J200

- Tank vent 15.90 mm ID x 272.00 mm, SAE J200

1шт.

20

214-1410

HOSE CLAMP,#10, 0.56" - 1.06", Type F Worm

CLAMP, HOSE, , Replaces 214-253 #10, 0.56/1.06 Type F Worm

2шт.

22

96974C2

SUPPORT ASSY.

SUPPORT - tank, if used

1шт.

23

120589A1

SUPPORT ASSY.

SUPPORT - tank, if used

1шт.

24

814-10020

BOLT,Hex, M10 x 1.5 x 20mm, Cl 8.8, Full Thd

4шт.

25

825-1410

NUT,M10, Cl 8

6-8шт.

26

137630C2

BRACKET

- hold down, fuel tank

1шт.

27

1287737C1

BOLT,Hex, M10 x 1.5 x 25mm, Cl 10.9

BOLT - hex, special, 10 x 25 mm, class 10.9

2-4шт.

28

1287738C2

WASHER

- flat, 11 x 21 x 3 mm

2шт.

29

120587A1

SUPPORT

BRACKET - upper link, used with ref. 23, 120589A1 support, if used

1шт.

32

1283792C1

MOUNTING CLIP

CLAMP - tube retaining

1шт.

33

614-8020

BOLT,Hex, M8 x 1.25 x 20mm

- hex, 8 x 20 mm

2шт.

34

825-2408

FLANGE NUT,M8 x 1.25, Flg, Cl 8

M8 x 1.25", Flg, Cl 8

2шт.

36

1971391C1

CLIP

- retainer, chain

2шт.

37

1971392C1

CHAIN (AG)

CHAIN - fuel cap, 10 inch

1шт.

Выбрано товаров: 29