Запчасти Case IH 7130 (9-142) - CAB, AIR FILTER AND BLOWER HOUSING (09) - CHASSIS/ATTACHMENTS

Схема запчастей Case IH 7130 - (9-142) - CAB, AIR FILTER AND BLOWER HOUSING (09) - CHASSIS/ATTACHMENTS
16
28
2
12
11
3
19
6
20
5
1
34
33
17
22
9
10
29
24
18
34
15
13
7
19
8
23
35
20
4
14
FIT
1:1
100%

Артикул

Название

Примечание

Количество

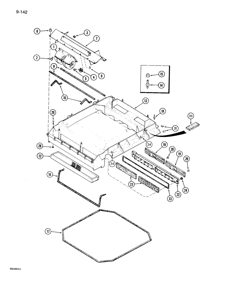
1

REF

INSTRUCTION

BLOWER ASSEMBLY - air, cab

1шт.

Cab S/N JAB0100387 and after, see Figure 4-022

1шт.

Prior to Cab S/N JAB0100387, see Figure 9-144 for service parts

1шт.

2

97006C1

BOLT,Hex, M6 x 20mm, Cl 8.8

- hex flange, 6 x 20 mm

4шт.

3

97005C1

FLANGE NUT

- hex flange, 6 mm

4шт.

4

1255876C1

RESISTOR

- blower

1шт.

Prior to Cab S/N JAB0100387, see Figure 9-144 for service parts

1шт.

4

REF

INSTRUCTION

RESISTOR - blower

1шт.

Cab S/N JAB0100387 and after, see Figure 4-022

1шт.

5

30495R1

SCREW,Cross Pan Hd, M3 x 12

2шт.

6

825-1103

NUT,M3, Cl 8

- hex, 3 mm

2шт.

7

97032C4

SUPPORT ASSY.

SUPPORT - blower

1шт.

8

938016R1

FLANGE NUT,Flg, USR, 1/4"-20

- hex flange lock

10шт.

9

97198C2

SEAL

- 1080 mm, support, order 195917C2 and cut to length, Serial Range: -

2шт.

10

NSS

NOT SOLD SEPARAT

SEAL - 356 mm, support, order 195917C2 and cut to length, Serial Range: -

2шт.

11

NSS

NOT SOLD SEPARAT

TRIM - edge, 3 mm, order 1327666C2 and cut to length, Serial Range: -

2шт.

12

143481C2

AIR CLEANER

FILTER - air, cab

1шт.

13

1340339C1

PANEL

ASSEMBLY - inner roof, Includes: Ref. 14

1шт.

14

97176C1

STUD

- inner roof panel

23шт.

15

938016R1

FLANGE NUT,Flg, USR, 1/4"-20

- hex flange lock, 1/4 inch

7шт.

16

97199C1

SEAL

SEAL - 1750 mm, inner roof, order 182747C2 and cut to length, Serial Range: -

1шт.

17

97200C1

SEAL

SEAL - 4440 mm, inner roof, order 182747C2 and cut to length, Serial Range: -

1шт.

18

1330955C2

RIVET

- mandrel, 3/16 inch

15шт.

19

1331102C2

DIFFUSER

LOUVER ASSEMBLY - air recirculation

2шт.

20

97212C1

SCREW,Pan, #6 - 20 x 7/8"

- pan head, No. 6-20 x 7/8 inch

12шт.

22

97181C2

PANEL ASSY.

PANEL - recirculated air filter

1шт.

23

97142C1

FILTER CARTRIDGE

FILTER - recirculated air

2шт.

24

97135C1

KNOB

- recirculation panel

3шт.

28

1971364C1

RETAINER

- bolt

2шт.

29

417-440

BOLT,Sq Hd, 1/4" - 20 x 2-1/2", Gr 2

2шт.

Ref. 29 - If looking for male knob, P/N is 1975759C3, female knob is 1340216C1, inset P/N is 1975757C1 (this is 90 mm long with 1/4"-20 UNC internal thread on one end)

1шт.

30

26110R1

LOCK NUT,1/4"-20, GC

NUT - hex lock, 1/4 inch NC, not shown

2шт.

33

NSS

NOT SOLD SEPARAT

SEAL - 2391 mm, recirculation panel, order 187874C2 and cut to length, Serial Range: -

1шт.

34

169850C2

CABLE CLIP

CLIP - harness retaining

2шт.

35

1977988C1

FOAM

FOAM PAD - foam, filler

4шт.

195917C2

SEAL

SEAL - 50 foot, bulk roll

1шт.

1327666C2

SEALING STRIP

TRIM - edge, 50 foot, bulk roll

1шт.

182747C2

SEAL ASSY.

SEAL - bulk roll, 50 foot

1шт.

187874C2

SEAL

SEAL - bulk roll, 50 foot

1шт.

Выбрано товаров: 39