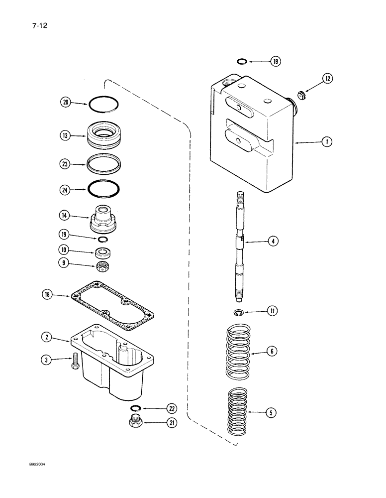
Запчасти Case IH 7140 (7-012) - BRAKE VALVE ASSEMBLY (07) - BRAKES

Схема запчастей Case IH 7140 - (7-012) - BRAKE VALVE ASSEMBLY (07) - BRAKES
14
3
11
5
18
10
12
4
24
20
13
23
21
6
2
1
19
9
19
22
FIT
1:1
100%

Артикул

Название

Примечание

Количество

1272218C1

VALVE

ASSEMBLY - brake, Includes: Ref. 1-24

1шт.

1

NSS

NOT SOLD SEPARAT

BODY - valve

1шт.

2

384495R1

CAP

- body

1шт.

3

113-9

BOLT,Hex, 1/4" - 20 x 7/8", Gr 5

- hex, 1/4 NC x 7/8 inch, Replaces: P/N 13-414

6шт.

4

NSS

NOT SOLD SEPARAT

SPOOL - valve

2шт.

5

1263125C1

SPRING

- return

2шт.

6

1263124C1

SPRING

- piston, large

2шт.

9

9411648

LOCK NUT,1/2"-20, GC

NUT - hex lock, 1/2 inch NC

2шт.

10

69158C1

WASHER,12.78mm ID x 25.4mm OD x 6.35mm Thk

- piston

2шт.

11

A27020

RING

- snap

2шт.

12

140720C1

PLATE

- orifice

1шт.

13

NSS

NOT SOLD SEPARAT

PISTON - large

2шт.

14

NSS

NOT SOLD SEPARAT

PISTON - small

2шт.

71487C92

GASKET KIT

- valve, Includes: Ref. 18-24

1шт.

18

384503R2

GASKET,0.38mm Thk

- body

1шт.

19

NSS

NOT SOLD SEPARAT

O-RING - spool

1шт.

20

NSS

NOT SOLD SEPARAT

O-RING - 2-1/16 ID x 3/32 inch

2шт.

21

76349

PLUG,9/16" - 18 ORB

1шт.

23

1986769C1

BACK-UP RING

RING - slipper

2шт.

1986769C1 is NSS, order 71487C92 kit

1шт.

24

238-5135

O-RING,0.103" Thk x 1.925" ID, -135, Cl 5, 75 Duro

- 1-15/16 x 3/32 inch, Replaces: P/N 384498R1

2шт.

22

237-6006

O-RING,0.078" Thk x 0.468" ID, -906, Cl 6, 90 Duro

6-1, 90 Duro, .468" ID x .078" Thk, 3/8 OD tube

1шт.

Выбрано товаров: 22