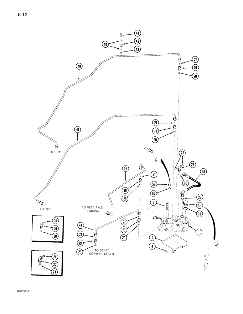
Запчасти Case IH 7140 (8-012) - PTO HYDRAULICS, TRANSMISSION S/N AJB0044915 AND AFTER (08) - HYDRAULICS

Схема запчастей Case IH 7140 - (8-012) - PTO HYDRAULICS, TRANSMISSION S/N AJB0044915 AND AFTER (08) - HYDRAULICS
41
21
4
19
55
40
20
34
45
31
20
2
42
20
21
1
30
35
48
23
22
46
25
56
26
21
44
57
20
19
29
20
24
21
21
19
19
23
43
27
19
3
FIT
1:1
100%

Артикул

Название

Примечание

Количество

1

1986567C2

VALVE

ASSEMBLY - PTO, See Figure 8-018

1шт.

See Figure 5-020 for adapter and cooler supply tube, Ref. 31 and 32, that attach to the PTO valve and Figure 4-016 for transmission system pressure switch, Ref. 21.

1шт.

2

1334649C1

BRACKET

- mounting, valve

1шт.

3

814-10070

BOLT,Hex, M10 x 1.5 x 70mm, Cl 8.8

- hex, 10 mm - 1.50 x 70 mm

3шт.

4

825-1410

NUT,M10, Cl 8

3шт.

19

201-101

HYD CONNECTOR,11/16" - 16 Male ORFS x 9/16" - 18 Male ORB

Adapter - straight, Incl Ref. 20-21 11/16"-16 ORFS x 9/16"-18 ORB

5шт.

21

238-6012

O-RING,0.07" Thk x 0.364" ID, -12, Cl 6, 90 Duro

Face end -012, 90 Duro, .364" ID x .070" Thk

1шт.

22

201-305

ELBOW,90 Degree Elbow, 13/16" - 16 Male ORFS x 3/4" - 16 Male ORB

- 90°, adjustable, 3/4 x 13/16" thread, if equipped, Incl. Ref. 23-24

1шт.

23

237-6008

O-RING,0.087" Thk x 0.644" ID, -908, Cl 6, 90 Duro

8-1, 90 Duro, .644" ID x .087" Thk, Boss end

1шт.

24

238-6014

O-RING,0.07" Thk x 0.489" ID, -14, Cl 6, 90 Duro

Face end -014, 90 Duro, .489" ID x .070" Thk

1шт.

25

201-401

TEE,11/16"-16 x 9/16"-18 Br, ORFS

- adjustable, 9/16 x 11/16 x 11/16 inch thread, Includes: Ref. 26-27

1шт.

27

238-6012

O-RING,0.07" Thk x 0.364" ID, -12, Cl 6, 90 Duro

Face end -012, 90 Duro, .364" ID x .070" Thk

2шт.

29

201-304

ELBOW,90 Degree Elbow, 11/16" - 16 Male ORFS x 9/16" - 18 Male ORB

- 90°, 11/16-16 face x 9/16-18 inch adj O-ring without hitch, Includes: Ref. 30-31

1шт.

31

238-6012

O-RING,0.07" Thk x 0.364" ID, -12, Cl 6, 90 Duro

1шт.

34

273916

PLUG,Hex, 1-5/16" - 12 ORB

Assy, if used, Includes Ref. 35 Hex Hd, 1 5/16"-12 ORB

1шт.

35

218-5010

O-RING,0.116" Thk x 1.171" ID, -916, Cl 6, 90 Duro

- 1-11/16 x 1-13/32 x 1/8 inch

1шт.

40

1997585C1

HYD TUBE

TUBE - clutch, PTO Replaces: 1978559C1

1шт.

41

1997587C1

HYD TUBE

TUBE - brake, PTO Replaces: 1342097C1

1шт.

42

535307R1

CLAMP

- tube

2шт.

43

3072723R1

SPACER

- clamp

2шт.

44

614-6025

BOLT,Hex, M6 x 1 x 25mm, Cl 8.8, Full Thd

2шт.

45

1348381C1

HOSE,9.53mm ID x 409mm L, SAE 100R1

- drain, PTO, Replaces: 1978417C1

1шт.

46

1348310C1

HYD TUBE,0.375 mm OD, 502.9, 59.5 mm Length

TUBE - return, regulator valve

1шт.

48

895-10006

WASHER,6.6mm ID x 12mm OD x 1.6mm Thk

- flat, 6.4 x 12.5 x 1.6 mm

4шт.

55

1348309C1

HYD TUBE,0.375" OD, 531.1, 196 mm Length

TUBE - differential lock

1шт.

56

76349

PLUG,9/16" - 18 ORB

if used, Incl. Ref. 57 Hex Hd, 9/16"-18 ORB

1шт.

20

237-6006

O-RING,0.078" Thk x 0.468" ID, -906, Cl 6, 90 Duro

6-1, 90 Duro, .468" ID x .078" Thk, Boss end

1шт.

26

237-6006

O-RING,0.078" Thk x 0.468" ID, -906, Cl 6, 90 Duro

6-1, 90 Duro, .468" ID x .078" Thk, Boss end

1шт.

30

237-6006

O-RING,0.078" Thk x 0.468" ID, -906, Cl 6, 90 Duro

6-1, 90 Duro, .468" ID x .078" Thk

1шт.

57

237-6006

O-RING,0.078" Thk x 0.468" ID, -906, Cl 6, 90 Duro

6-1, 90 Duro, .468" ID x .078" Thk

1шт.

Выбрано товаров: 30