Запчасти Case IH 7140 (8-046) - HITCH CYLINDER ASSEMBLIES (08) - HYDRAULICS

Схема запчастей Case IH 7140 - (8-046) - HITCH CYLINDER ASSEMBLIES (08) - HYDRAULICS
10
13
4
11
2
5
5
14
3
9
12
1
FIT
1:1
100%

Артикул

Название

Примечание

Количество

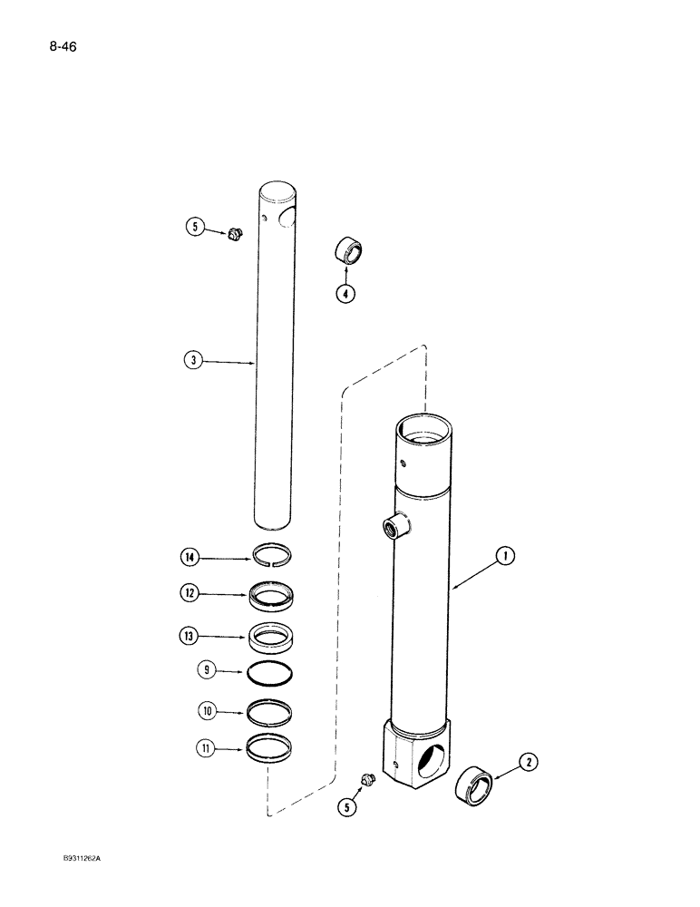
149699C6

CYLINDER ASSY.

CYLINDER ASSEMBLY - 1-1/2 inch bore x 10-3/4 inch stroke, hitch, Includes: Refs. 1-14

2шт.

1

1341305C2

HYD CYL SLEEVE

BODY ASSEMBLY - cylinder, 1-1/2 inch bore, Includes: Ref. 2

1шт.

2

149638C1

BUSHING,31.8mm ID x 38.16mm OD x 16mm L

- pivot, cylinder, 1-1/2 inch bore

2шт.

3

1341300C2

PISTON ROD

ROD - piston, 1-1/2 inch bore

1шт.

4

149636C1

BUSHING,19.25mm ID x 25.46mm OD x 13mm L

- pivot, rod, 1-1/2 inch bore

2шт.

5

219-1

LUBE NIPPLE,1/8" - 27 NPTF

FITTING - grease, 1/8 inch PT, short, if used, 1-1/2 inch bore

2шт.

5

219-14

LUBE NIPPLE,1/4" NPTF

FITTING - grease, straight, 1/4 inch drive type, if used, 1-1/2 inch bore

2шт.

79616C1

PACKAGE

KIT - seal, cylinder, 1-1/2 inch bore, Includes: Refs. 9-14

1шт.

9

238-5129

O-RING,0.103" Thk x 1.549" ID, -129, Cl 5, 75 Duro

1-1/2 inch bore -129, 70 Duro, 1.549" ID x .103" Thk

1шт.

10

149668C1

WASHER

RING - backup, 1-1/2 inch bore

1шт.

11

149667C1

RING

- seal, 1-1/2 inch bore

1шт.

12

403460R1

WIPER SEAL,38mm ID x 50.9mm OD x 7.94mm Thk

WIPER - piston rod, 1-1/2 inch bore

1шт.

13

1252335C1

SEAL,36.55mm ID x 53.06mm OD x 6.35mm Thk

- piston, 1-1/2 inch bore

1шт.

14

NSS

NOT SOLD SEPARAT

RING - retaining, if used, 1-1/2 inch bore

1шт.

1266760C4

CYLINDER ASSY.

CYLINDER ASSEMBLY - 1-3/4 inch bore x 10-3/4 inch stroke, hitch, Includes: Refs. 1-13

2шт.

1

1341304C3

BODY

ASSEMBLY - cylinder, Replaces: P/N 1341304C2, 1-3/4 inch bore, Includes: Ref. 2

1шт.

2

149638C1

BUSHING,31.8mm ID x 38.16mm OD x 16mm L

- pivot, cylinder, 1-3/4 inch bore

2шт.

3

1341303C2

PISTON ROD

ROD - piston, 1-3/4 inch bore

1шт.

4

149636C1

BUSHING,19.25mm ID x 25.46mm OD x 13mm L

- pivot, rod, 1-3/4 inch bore

2шт.

5

219-14

LUBE NIPPLE,1/4" NPTF

FITTING - grease, straight, 1/4 inch drive type, 1-3/4 inch bore

2шт.

80362C1

SEAL KIT

- seal, cylinder, 1-3/4 inch bore, Includes: Refs. 9-13

1шт.

9

238-5133

O-RING,0.103" Thk x 1.799" ID, -133, Cl 5, 75 Duro

70 Duro, 1.799" ID x .103" Thk, 1-3/4 inch bore

1шт.

10

145387C1

WASHER

RING - backup, piston rod, 1-3/4 inch bore

1шт.

11

145388C1

SEALING RING

RING - quad, piston rod, 1-3/4 inch bore

1шт.

12

403845R1

WIPER SEAL

WIPER - piston rod, 1-3/4 inch bore

1шт.

13

1261097C1

WIPER SEAL

- piston, 1-3/4 inch bore

1шт.

1994514C1

HYDRAULIC CYLINDER,278.3mm Stroke

CYLINDER ASSEMBLY - 2-1/4 inch bore x 10-3/4 inch stroke, hitch, Includes: Refs. 1-13

2шт.

1

1994515C1

JACK BODY

BODY ASSEMBLY - cylinder, 2-1/4 inch bore, Includes: Ref. 2

1шт.

2

149638C1

BUSHING,31.8mm ID x 38.16mm OD x 16mm L

- pivot, cylinder, 2-1/4 inch bore

2шт.

3

1986565C1

PISTON ROD

ROD - piston, 2-1/4 inch bore

1шт.

4

149636C1

BUSHING,19.25mm ID x 25.46mm OD x 13mm L

- pivot, rod, 2-1/4 inch bore

2шт.

5

219-14

LUBE NIPPLE,1/4" NPTF

FITTING - grease, straight, 1/4 inch drive type, 2-1/4 inch bore

2шт.

1994517C1

SEAL KIT

KIT - seal, cylinder, 2-1/4 inch bore, Includes: Refs. 9-13

1шт.

9

238-5141

O-RING,0.103" Thk x 2.3" ID, -141, Cl 5, 75 Duro

2-1/4 inch bore -141, 90 Duro, 2.3" ID x .103" Thk

1шт.

10

1986912C1

WASHER

RING - backup, 2-1/4 inch bore

1шт.

11

1986911C1

RING

- quad, piston rod, not available for service, order 1994517C1 kit, 2-1/4 inch bore

1шт.

12

D95145

WIPER SEAL,54.79mm ID x 70.09mm OD x 7.91mm W

WIPER - piston rod, 2-1/4 inch bore

1шт.

13

1986572C1

SEAL

- reverse wiper, not available for service, order 1994517C1 kit, 2-1/4 inch bore

1шт.

Выбрано товаров: 38