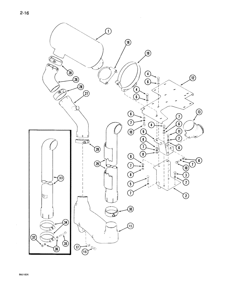
Запчасти Case IH 7140 (2-016) - EXHAUST SYSTEM, PRIOR TO P.I.N. JJA0018535 (02) - ENGINE

Схема запчастей Case IH 7140 - (2-016) - EXHAUST SYSTEM, PRIOR TO P.I.N. JJA0018535 (02) - ENGINE
7
12
19
6
3
1
4
10
6
27
17
6
18
11
10
7
6
7
8
4
29
30
8
7
16
37
4
7
33
9
36
6
6
2
6
7
26
15
5
35
7
13
7
28
6
28
28
34
FIT
1:1
100%

Артикул

Название

Примечание

Количество

1

A184157

MUFFLER

exhaust

1шт.

2

1289169C2

BRACKET

muffler support

1шт.

3

814-10020

BOLT,Hex, M10 x 1.5 x 20mm, Cl 8.8, Full Thd

1шт.

4

814-10030

BOLT,Hex, M10 x 1.5 x 30mm, Cl 8.8, Full Thd

5шт.

5

814-10060

BOLT,Hex, M10 x 1.5 x 60mm, Cl 8.8

2шт.

6

895-11010

WASHER,11mm ID x 20mm OD x 2mm Thk

flat, 11 x 21 x 2 mm

1шт.

7

892-11010

LOCK WASHER,M10

1шт.

8

825-1410

NUT,M10, Cl 8

4шт.

9

REF

INSTRUCTION

BRACKET elbow, See Figures 2-036 or 2-038

1шт.

10

814-10025

BOLT,Hex, M10 x 1.5 x 25mm, Cl 8.8, Full Thd

4шт.

11

614-10035

BOLT,Hex, M10 x 1.5 x 35mm, Cl 8.8, Full Thd

hex, 10 x 35 mm

1шт.

12

1289088C3

SUPPORT

air cleaner and muffler

1шт.

13

REF

INSTRUCTION

ELBOW turbocharger, See Figures 2-036 or 2-038

1шт.

15

1289113C1

ELBOW UNION

ELBOW exhaust

1шт.

16

30044R1

BOLT,Hex, M12 x 1.75 x 40mm, Cl 10.9, Full Thd

hex, 12 x 40 mm, class 10.9

4шт.

17

30177R1

WASHER,M12 x 24.5 x 3, HT

flat, 13 x 24 x 3 mm

4шт.

18

A184592

CLAMP

muffler

1шт.

19

A173223

MOUNTING CLIP

CLAMP retaining

1шт.

26

A184564

ELBOW

TUBE exhaust

1шт.

27

A184565

PIPE

TUBE ejector exhaust

1шт.

28

A173381

CLAMP,117.7mm ID

retaining

3шт.

29

1978401C1

PIPE

EXTENSION includes shield, exhaust

1шт.

30

A173381

CLAMP,117.7mm ID

retaining

1шт.

33

1289129C1

PIPE

EXTENSION exhaust if equipped

1шт.

34

1289311C1

CLAMP

retaining if equipped

2шт.

35

827-10080

BOLT,Hex, M10 x 1.5 x 80mm, Cl 10.9

2шт.

36

896-11010

WASHER,11mm ID x 21mm OD x 2.5mm Thk

4шт.

37

825-1410

NUT,M10, Cl 8

2шт.

Выбрано товаров: 28