Запчасти Case IH 7140 (4-040) - STARTER AND ALTERNATOR MOUNTING (04) - ELECTRICAL SYSTEMS

Схема запчастей Case IH 7140 - (4-040) - STARTER AND ALTERNATOR MOUNTING (04) - ELECTRICAL SYSTEMS
20
3
16
13
25
30
15
23
14
28
5
27
12
24
6
33
1
8
31
17
2
32
34
26
4
18
7
35
FIT
1:1
100%

Артикул

Название

Примечание

Количество

1

REF

INSTRUCTION

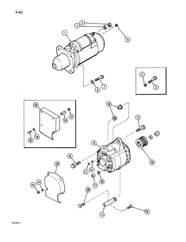
STARTER ASSEMBLY - engine, See Figure 4-042 or 4-046, mounting

1шт.

87297380

REMAN-STARTER

Remanufactured Starter; For N.A. only

1шт.

87297381

CORE-STARTER

Return number - For N.A. only

1шт.

2

866-12035

12 PT SCREW,Flg, M12 x 35mm, Cl 8.8

BOLT - 12 point flange, 12 x 35 mm, if equipped, starter mounting

3шт.

3

892-11012

LOCK WASHER,M12

WASHER, LOCK, , If Equipped, Starter Mounting M12

3шт.

4

493-21052

LOCK WASHER,Int Tooth, 1/2"

WASHER - internal lock, 1/2 inch, starter mounting

1шт.

5

425-148

JAM NUT,Jam, 1/2"-13, G5

NUT - hex, jam, 1/2 inch NC, Starter mounting

1шт.

6

193-1000

NUT,Keps, w/LW,#10-32

NUT - hex keps, No. 10-32, starter mounting

1шт.

7

868-12040

12 PT SCREW,M12 x 40mm, Cl 12.9

BOLT - 12 point flange, 12 x 40 mm, starter mounting

3шт.

8

896-11012

WASHER,13.5mm ID x 24mm OD x 3mm Thk

WASHER, , Starter Mounting M13.5 x 24.5 x 3, HT

3шт.

12

REF

INSTRUCTION

ALTERNATOR ASSEMBLY - engine, See Figure 4-050, mounting

1шт.

13

A189616

PULLEY

PULLEY - alternator, mounting

1шт.

14

J911485

SUPPORT

BRACE - alternator, mounting

1шт.

15

614-8030

BOLT,Hex, M8 x 1.25 x 30mm, Cl 8.8, Full Thd

BOLT, HH, CL 8.8, M8 x 1.25 x 30, Alternator mounting

1шт.

16

854-12060

BOLT,Hvy Hex, M12 x 60mm, Cl 10.9

BOLT - hex flange, 12 - 1.75 x 60 mm, class 10.9, Alternator mounting

1шт.

17

854-12050

BOLT,Hvy Hex, M12 x 50mm, Cl 10.9

BOLT, , Alternator mounting Hex Flg, M12 x 50, 10.9

1шт.

18

829-2312

FLANGE NUT,M12 x 1.75, Flg, Cl 10

NUT - hex flange, 12 mm - 1.75, class 10, alternator mounting

2шт.

20

426-820

BOLT,Hex, 1/2" - 13 x 1-1/4", Gr 8

BOLT - hex, 1/2 NC x 1-1/4 inch, Grade 8, Alternator mounting

1шт.

23

1960746C1

SHIELD

SHIELD - alternator, if equipped, mounting

1шт.

24

1960747C1

SPACER

SPACER - alternator shield, if equipped, mounting

4шт.

25

814-5016

BOLT,Hex, M5 x 0.8 x 16mm, Cl 8.8, Full Thd

BOLT - hex, 5 mm - 0.8 x 16 mm, if equipped, alternator mounting

4шт.

26

892-1105

LOCK WASHER,M5

WASHER - lock, 5 mm, if equipped, alternator mounting

4шт.

27

825-1105

NUT,M5, Cl 8

NUT - hex, 5 mm, if equipped, alternator mounting

4шт.

28

1968023C1

PROTECTOR

SHIELD - alternator, Replaces: P/N 1960746C1, mounting

1шт.

30

492-11044

LOCK WASHER,7/16"

WASHER, LOCK, , Alternator mounting 7/16"

1шт.

31

825-1404

NUT,M4, Cl 8

NUT - hex, 4 mm, class 10.9, Alternator mounting

1шт.

32

892-11004

LOCK WASHER,M4

WASHER, LOCK, , Alternator mounting M4

1шт.

33

425-147

JAM NUT,Jam, 7/16"-14, G5

NUT - hex, jam, 7/16 inch NC, alternator mounting

1шт.

34

892-11005

LOCK WASHER,M5

WASHER, LOCK, , If used, Alternator mounting M5

4шт.

35

824-1405

NUT,M5, Cl 5

NUT, , If used, alternator mounting M5, Cl 5

4шт.

Выбрано товаров: 30