Запчасти Case IH 7150 (9-028) - DRAWBAR HAMMERSTRAP (09) - CHASSIS/ATTACHMENTS

Схема запчастей Case IH 7150 - (9-028) - DRAWBAR HAMMERSTRAP (09) - CHASSIS/ATTACHMENTS
25
5
17
27
2
12
23
16
26
21
25
1
3
20
27
22
15
13
14
28
26
6
7
24
4
FIT
1:1
100%

Артикул

Название

Примечание

Количество

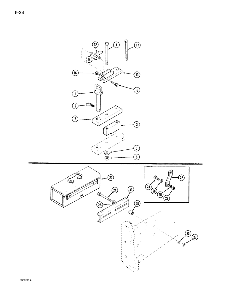
A67879

PACKAGE

HAMMERSTRAP ATTACHMENT - drawbar, Machinery Item, Includes: Ref. 1-17

1шт.

1

1286985C4

HITCH PIN,40mm OD x 200mm L

PIN ASSEMBLY - hammerstrap

1шт.

2

1289372C1

SPLIT PIN/SAFETY PIN

PIN - hair, special, If equipped

1шт.

3

1286983C1

RAIL ASSY.

SPACER - drawbar strap

1шт.

4

827-20220

BOLT,Hex, M20 x 2.5 x 220mm, Cl 10.9

- hex, 20 x 220 mm, class 10.9

1шт.

5

896-11020

WASHER,22mm ID x 37mm OD x 4mm Thk

- flat, 22 x 37 x 4 mm

2шт.

6

829-1420

NUT,M20, Cl 10

2шт.

7

1286984C1

DRAWBAR

HAMMERSTRAP - drawbar

1шт.

12

1965315C2

LEVER

- hammerstrap

1шт.

13

1965312C3

LATCH ASSY.

LATCH - hammerstrap

1шт.

14

1965316C2

SPACER,13mm ID x 19.1mm OD x 8mm L

- latch, hammerstrap

2шт.

15

827-12065

BOLT,Hex, M12 x 1.75 x 65mm, Cl 10.9

hex, 12 - 1.75 x 65 mm, class 10.9

1шт.

16

832-10412

NUT,M12 x 1.75, Cl 8

NUT, LOCK, M12 x 1.75, Cl 8

1шт.

17

827-20200

BOLT,Hex, M20 x 2.5 x 200mm, Cl 10.9

- hex, 20 x 200 mm, class 10.9

1шт.

1983805C1

BOX

TOOL BOX ATTACHMENT - tractor, Machinery Item, Includes: Ref. 20-28

1шт.

20

A181436

TOOL BOX

BOX tool

1шт.

21

A181434

SUPPORT

BRACKET - mounting, tool box

1шт.

22

1259591C1

SUPPORT

STRAP - mounting, If equipped, tool box

2шт.

23

814-16035

BOLT,Hex, M16 x 2 x 35mm, Cl 8.8, Full Thd

if equipped, tool box Hex, M16 x 35, 8.8

2шт.

24

814-16150

BOLT,Hex, M16 x 2 x 150mm, Cl 8.8

Tool box Hex, M16 x 150, 8.8

2шт.

25

892-11016

LOCK WASHER,16.4mm ID x 27.4mm OD x 5mm Thk

WASHER, LOCK, , Tool box M16

2шт.

26

895-11016

WASHER,17.5mm ID x 30mm OD x 3mm Thk

Flat, Tool box M16 x 30 x 3

2шт.

27

825-1416

NUT,M16, Cl 8

Toolbox M16, Cl 8

2шт.

28

1348536C1

SPACER

- mounting, Replaces: 1334638C1, tool box

2шт.

Выбрано товаров: 24