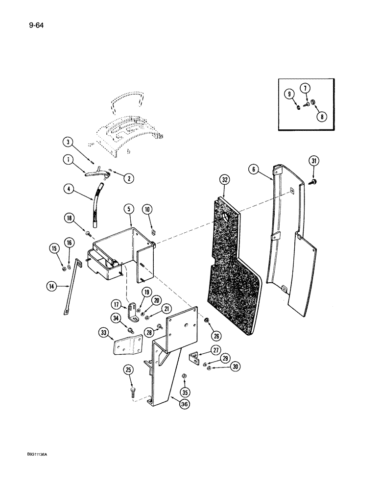
Запчасти Case IH 7150 (9-064) - CAB CONTROL CONSOLE, 96886C5 CREEPER SWITCH LEVER (09) - CHASSIS/ATTACHMENTS

Схема запчастей Case IH 7150 - (9-064) - CAB CONTROL CONSOLE, 96886C5 CREEPER SWITCH LEVER (09) - CHASSIS/ATTACHMENTS
34
16
35
15
31
32
2
28
6
8
5
27
25
26
20
4
17
10
7
9
29
3
1
19
21
33
36
14
30
18
FIT
1:1
100%

Артикул

Название

Примечание

Количество

1

96886C5

LEVER

- switch, creeper

1шт.

2

97063C1

WASHER

- curved

1шт.

3

30786R1

LOCK PIN,M2 x 14, Slotted

PIN - 2 x 14 mm

1шт.

4

97062C1

CABLE PULLING GRIP

CABLE - creeper switch

1шт.

5

96569C6

SUPPORT ASSY.

SUPPORT - shift and governor control, Replaces: 96569C5

1шт.

6

96725C1

PANEL ASSY.

PANEL - front cover

1шт.

7

1270762C1

SELF-TAP SCREW

- pan head special, If equipped

1шт.

8

97280C1

CAP

- trim, If equipped

1шт.

9

97279C1

RETAINER

- cap, If equipped

1шт.

10

96900C1

SPRING NUT,U, #10-16, Panel type

Speed U, #10-16, Panel type

1шт.

14

97297C1

ROD

- tower support

1шт.

15

825-1406

NUT,M6, Cl 8

2шт.

16

895-11006

WASHER,6.6mm ID x 12mm OD x 1.6mm Thk

4шт.

17

96890C1

BRACKET

- creeper switch

1шт.

18

30479R1

SCREW,Cross Pan Hd, M5 x 16

BOLT - pan head, 5 x 16 mm

1шт.

19

895-11005

WASHER,5.5mm ID x 10mm OD x 1mm Thk

1шт.

20

892-11005

LOCK WASHER,M5

WASHER, LOCK, M5

1шт.

21

824-1405

NUT,M5, Cl 5

1шт.

25

614-10035

BOLT,Hex, M10 x 1.5 x 35mm, Cl 8.8, Full Thd

- hex, 10 x 35 mm

2шт.

26

31081R1

NUT,M6 x 1, Flg, Cl 8

- hex flange, 6 mm

4шт.

27

96700C2

BRACKET

- control support

1шт.

28

614-6020

BOLT,Hex, M6 x 1 x 20mm, Cl 8.8, Full Thd

2шт.

28

814-8025

BOLT,Hex, M8 x 1.25 x 25mm, Cl 8.8, Full Thd

- hex, 8 x 25 mm, Use with 96561C5

2шт.

29

895-11006

WASHER,6.6mm ID x 12mm OD x 1.6mm Thk

4шт.

29

895-11008

WASHER,9mm ID x 16mm OD x 1.6mm Thk

Use with 96561C5 M8 x 16 x 1.6

4шт.

30

825-1406

NUT,M6, Cl 8

2шт.

30

832-41308

NUT,M8 x 1.25, Cl 10

- hex lock, 8 mm, Use with 96561C5

2шт.

31

1975919C1

SELF-TAP SCREW

- cross slotted truss, polyseal

1шт.

32

1977666C1

PAD

- console, front, right

1шт.

1344243C1

SUPPORT

ASSEMBLY - shift tower, Includes: Refs. 33-36

1шт.

33

1340412C2

SUPPORT

BRACKET - shift cable, upper

1шт.

34

628-8030

BOLT,Hex, M8 x 1.25 x 30mm, Cl 10.9, Full Thd

hex, full threads 8 - 1.25 x 30 mm, class 10.9

1шт.

35

832-41308

NUT,M8 x 1.25, Cl 10

- hex lock, 8 mm - 1.25, class 10

2шт.

36

96561C5

SUPPORT

- shift controls, Replaces: 96561C4

1шт.

1960456C1

BRACKET

for mounting eqpt. on all 7100

1шт.

Выбрано товаров: 35