Запчасти Case IH 7210 (2-036) - TURBOCHARGER SYSTEM, 6T-830 ENGINE, ALL 7210 TRACTORS, 7220 MODELS PRIOR TO P.I.N. JJA0064978 (02) - ENGINE

Схема запчастей Case IH 7210 - (2-036) - TURBOCHARGER SYSTEM, 6T-830 ENGINE, ALL 7210 TRACTORS, 7220 MODELS PRIOR TO P.I.N. JJA0064978 (02) - ENGINE
12
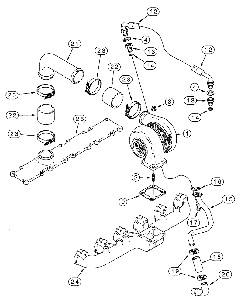
1
3
22
24
13
20
19
9
23
2
23
23
25
18
21
15
16
14
4
23
14
22
13
4
12
17
FIT
1:1
100%

Артикул

Название

Примечание

Количество

1

J919199

TURBOCHARGER

ASSEMBLY - engine, new, parts list Fig. 2-38

1шт.

2

J818823

STUD

turbocharger mounting

4шт.

3

J818824

FLANGE NUT

hex flange, special, 1.0 mm - 1.5

4шт.

4

222-993

GASKET,3/8 Tube, Fl, Copper

2шт.

9

J911941

GASKET

mounting, turbocharger

1шт.

12

J921530

HOSE,9.53mm ID x 385mm L

Turbocharger Oil Supply, Replaces J918562

1шт.

13

J919687

HYD CONNECTOR

ADAPTER - female hex, special

2шт.

14

238-5013

O-RING,0.07" Thk x 0.426" ID, -13, Cl 5, 75 Duro

1шт.

15

J917417

TUBE,22.23 mm OD x 281, 141.1 mm L

drain, oil

1шт.

16

J914388

GASKET

turbo oil drain tube

1шт.

17

845-8016

BOLT,Hvy Hex, M8 x 16mm, Cl 8.8

2шт.

18

J931970

HOSE,22.22 mm ID x 76.20 mm

Turbocharger Oil Drain, Replaces J903745

1шт.

19

214-1416

HOSE CLAMP,#16, 0.81" - 1.5", Type F Worm

Adj.

2шт.

20

J903744

PIPE FITTING,22.42 mm ID x 28 mm OD x 90.2, 64 mm L

TUBE - turbocharger oil drain

1шт.

21

J914944

TUBE,63.5 mm OD x 207.8, 91.9 mm L

air, crossover

1шт.

22

J916529

TRANSMISSION SLEEVE

HOSE - 76 mm (3 inch) long, crossover tube

2шт.

23

J924386

COLLAR CLAMP

adjustable, special

4шт.

24

J929779

MANIFOLD

exhaust, see Fig. 2-34

1шт.

25

J906737

COVER ASSY

intake manifold, see Fig. 2-34

1шт.

Выбрано товаров: 0