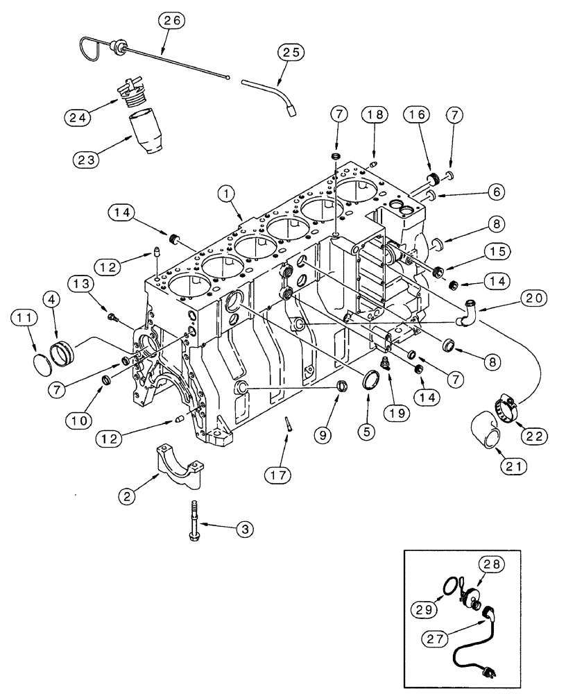
Запчасти Case IH 7210 (2-074) - CYLINDER BLOCK, 6T-830 ENGINE, 7210 TRACTOR ONLY, PRIOR TO TRACTOR P.I.N. JJA0064978 (02) - ENGINE

Схема запчастей Case IH 7210 - (2-074) - CYLINDER BLOCK, 6T-830 ENGINE, 7210 TRACTOR ONLY, PRIOR TO TRACTOR P.I.N. JJA0064978 (02) - ENGINE
25
5
8
16
3
7
12
1
4
10
14
7
13
8
15
23
29
17
12
28
2
26
14
24
27
20
11
9
7
6
22
7
14
18
21
FIT
1:1
100%

Артикул

Название

Примечание

Количество

1989005C4

ENGINE ASSEMBLY

ENGINE ASSY complete, 6T-830, includes all parts except starter, alternator, fan, fan belt, air cleaner, muffler & exhaust pipe, for service order 1989098C3 basic engine below

1шт.

1989005C4R

REMAN-REPLACEMENT EN

7210 MAGNUM (10/93-12/96) Prior To P.I.N JJA0064978

1шт.

6T-830C

CORE-REPLACEMENT ENG

Return Part Number

1шт.

87448699

REMAN-SHORT ENGINE

Remanufactured

1шт.

6830SHBC

CORE-SHORT ENGINE

Return Part Number

1шт.

1989098C3

BASIC ENGINE

ASSEMBLY - includes all parts except starter, alternator, fan, fan belt, air cleaner, muffler, exhaust manifold, flywheel and housing, oil fill and dipstick, fuel injection pump, injectors and lines, front crank pulley and belt tensioner

1шт.

AR174398

REMAN-BASIC ENGINE

Assembly, Remanufactured, Basic, Component Parts Shown On This Figure Do Not Apply To The Remanufactured Assembly; See Note

1шт.

AC174398

CORE-BASIC ENGINE

Return Number. KNOWN POTENTIAL CORE VARIATIONS, REFER TO CORE CRITERIA FOR PROPER CORE IDENTIFICATION

1шт.

J934597

SKELETON ENGINE

BLOCK ASSEMBLY - short, new, includes stripped block, pistons, connecting rods and bearings, crankshaft and bearings, replaces J925488 & J926152 short block assemblies

1шт.

JR934597

ENGINE, EXCHANGE

Engine (Exchange) Block Assembly, Short, Remanufactured, Replaces JR925488 Remanufactured Short Block Assembly

1шт.

6-830-SHBC

CORE

Return Part Number, Use This Part Number To Return Short Block Core For Credit When Using a Remanufactured Assy, replaces JC925187

1шт.

1

J928964

CRANKCASE

BLOCK ASSEMBLY - stripped engine, prior to engine serial number 45636466, no longer available, order necessary short block assy. above, replaces J923289, J926145 and J929604 stripped block assemblies

1шт.

1

J934900

SHORT ENGINE

BLOCK ASSEMBLY - stripped, engine serial number 45636466 and after

1шт.

Order items 9 - 20 on Figure 2-76, when ordering J934900 stripped block.

1шт.

2

J917313

BEARING CAP

bearing, main

7шт.

3

J916369

FLANGE BOLT,Hex, M14 x 2 x 128mm, Cl 10.9

Bearing cap to block

14шт.

4

J901685

BUSHING

camshaft, see Figure 2-40, item 6

7шт.

5

A77782

PLUG

expansion, 58 mm OD

1шт.

6

A77586

PLUG

expansion, 28.9 mm OD

1шт.

7

A77506

PLUG

expansion, 21 mm OD

4шт.

8

J905401

PLUG

expansion, 35 mm OD

4шт.

A77716

BLOCK

KIT - block hardware no longer available, order components seperately

1шт.

Order items 9 - 20 when ordering J926145 stripped block.

1шт.

9

J920706

PLUG

expansion, 22 mm OD

1шт.

10

A77530

PLUG

expansion, 30 mm OD, not used in this application

2шт.

11

41-3044

PLUG,Exp, 2 3/4"

Replaces J901969 plug

1шт.

12

J901846

PIN,12.01mm OD x 24mm L

dowel

4шт.

13

J906619

PLUG,1/8" - 27

hex, 1/8 inch PT

6шт.

14

A77429

PLUG

hex socket, 1/2 inch PT

4шт.

15

A77505

PLUG

hex socket, 3/4 inch PT

2шт.

16

A77533

PLUG

hex socket, 1 inch PT

1шт.

17

J919003

NOZZLE INJECTION

piston cooling

12шт.

18

J900257

PIN,10.01mm OD x 16mm L

dowel, 16 mm long

2шт.

19

217-103

COCK, DRAIN

VALVE - 1/4 inch PT, coolant

1шт.

20

J903744

PIPE FITTING,22.42 mm ID x 28 mm OD x 90.2, 64 mm L

TUBE - turbocharger oil drain, see Figure 2-36 for connecting turbocharger parts

1шт.

21

J920762

ELBOW

HOSE - 79 mm (3-1/8 inch), water

1шт.

22

J918521

HOSE CLAMP,59mm - 83mm

adj, 1-13/16 - 2-3/4 inch dia, hose, coolant

1шт.

23

J905408

TUBE,35.13 mm ID x 52.39 mm OD x 100 mm L

oil filler

1шт.

24

A77424

FILLER CAP

CAP - oil fill tube

1шт.

25

J905778

TUBE,9.52 mm OD x 184.8, 107.7 mm L

oil dipstick

1шт.

26

J908094

DIPSTICK

oil

1шт.

A77595

KIT

engine block heater

1шт.

27

196466A1

ELECTRIC CABLE

engine block heater, replaces J905113 cable

1шт.

28

NSS

NOT SOLD SEPARAT

ELEMENT - heater, 120 volt, engine block

1шт.

29

J910517

O-RING

heater sealing, engine block

1шт.

Выбрано товаров: 45