Запчасти Case IH 7210 (2-078) - CYLINDER BLOCK 6T-830 EMISSIONS CERT. ENGINE, 7210 TRACTOR ONLY, P.I.N. JJA0064978 AND AFTER (02) - ENGINE

Схема запчастей Case IH 7210 - (2-078) - CYLINDER BLOCK 6T-830 EMISSIONS CERT. ENGINE, 7210 TRACTOR ONLY, P.I.N. JJA0064978 AND AFTER (02) - ENGINE
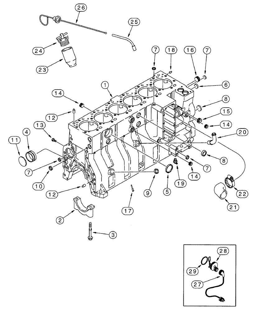
7
9
22
1
4
27
7
11
14
8
23
14
19
7
18
2
10
13
20
12
5
17
26
24
7
6
15
14
16
8
25
12
29
21
28
3
FIT
1:1
100%

Артикул

Название

Примечание

Количество

142942A1

MOTOR

ENGINE ASSEMBLY - complete, 6T-830, includes all parts except starter, alternator, fan, fan belt, air cleaner, muffler and exhaust pipe, for service order 1989098C3 basic engine below

1шт.

1989005C4R

REMAN-REPLACEMENT EN

Remanufactured

1шт.

6T-830C

CORE-REPLACEMENT ENG

Return Part Number, Engine

1шт.

1989098C3

BASIC ENGINE

ASSEMBLY - includes all parts except starter, alternator, fan, fan belt, air cleaner, muffler, exhaust man, flywheel and housing, oil fill and dipstick, fuel injection pump, injectors and lines, front crank pulley and belt tensioner

1шт.

AR174398

REMAN-BASIC ENGINE

Remanufactured Basic Engine Assembly, assembly includes short block assembly, cylinder head, valve cover, front cover, oil pan, water pump, thermostat and gasket kit to transfer trim parts

1шт.

AC174398

CORE-BASIC ENGINE

Return Number. KNOWN POTENTIAL CORE VARIATIONS, REFER TO CORE CRITERIA FOR PROPER CORE IDENTIFICATION

1шт.

1

J934597

SKELETON ENGINE

BLOCK ASSEMBLY - short, new, includes stripped block, pistons, connecting rods & bearings, crankshaft & bearings, replaces J926152 short block assembly

1шт.

1

JR934597

ENGINE, EXCHANGE

Engine (Exchange) Block Assembly, short, Remanufactured, Replaces JR925488 Remanufactured Short Block Assembly

1шт.

1

6-830-SHBC

CORE

Return Part Number, Use This Part Number To Return Short Block For Credit When Using a Remanufactured Assembly, Replaces JC925187

1шт.

2

J917313

BEARING CAP

bearing, main

7шт.

3

J916369

FLANGE BOLT,Hex, M14 x 2 x 128mm, Cl 10.9

Bearing cap to block

14шт.

4

J945329

CAMSHAFT BEARING,60.08mm ID x 64.13mm OD x 25mm L

camshaft, replaces J901685, see Fig. 2-70 , item 6

7шт.

5

A77782

PLUG

expansion, 58 mm OD

1шт.

6

A77586

PLUG

expansion, 28.9 mm OD

1шт.

7

A77506

PLUG

expansion, 21 mm OD

4шт.

8

J905401

PLUG

expansion, 35 mm OD

4шт.

9

J920706

PLUG

expansion, 22 mm OD

1шт.

10

A77530

PLUG

expansion, 30 mm OD, not used in this application

2шт.

11

41-3044

PLUG,Exp, 2 3/4"

Replaces J901969 plug

1шт.

12

J901846

PIN,12.01mm OD x 24mm L

dowel

4шт.

13

J906619

PLUG,1/8" - 27

hex, 1/8 inch PT

6шт.

14

A77429

PLUG

hex socket, 1/2 inch PT

4шт.

15

A77505

PLUG

hex socket, 3/4 inch PT

2шт.

16

A77533

PLUG

hex socket, 1 inch PT

1шт.

17

J919003

NOZZLE INJECTION

piston cooling

12шт.

18

J900257

PIN,10.01mm OD x 16mm L

dowel, 16 mm long

2шт.

19

217-103

COCK, DRAIN

VALVE - 1/4 inch PT, coolant

1шт.

20

J903744

PIPE FITTING,22.42 mm ID x 28 mm OD x 90.2, 64 mm L

TUBE - turbocharger oil drain, see Fig. 2-36 for connecting turbocharger parts

1шт.

21

J920762

ELBOW

HOSE - 79 mm (3-1/8 inch), water

1шт.

22

J918521

HOSE CLAMP,59mm - 83mm

adj, 1-13/16 - 2-3/4 inch dia, hose, coolant

1шт.

23

J905408

TUBE,35.13 mm ID x 52.39 mm OD x 100 mm L

oil filler

1шт.

24

A77424

FILLER CAP

CAP - oil fill tube

1шт.

25

J905778

TUBE,9.52 mm OD x 184.8, 107.7 mm L

oil dipstick

1шт.

26

J908094

DIPSTICK

oil

1шт.

A77595

KIT

engine block heater

1шт.

27

196466A1

ELECTRIC CABLE

engine block heater, replaces J905113 cable

1шт.

28

NSS

NOT SOLD SEPARAT

ELEMENT - heater, 120 volt, engine block

1шт.

29

J910517

O-RING

heater sealing, engine block

1шт.

Выбрано товаров: 38