Запчасти Case IH 7220 (8-036) - HITCH CYLINDER ASSEMBLY, 1-3/4 INCH BORE, 7220 TRACTOR (08) - HYDRAULICS

Схема запчастей Case IH 7220 - (8-036) - HITCH CYLINDER ASSEMBLY, 1-3/4 INCH BORE, 7220 TRACTOR (08) - HYDRAULICS
10
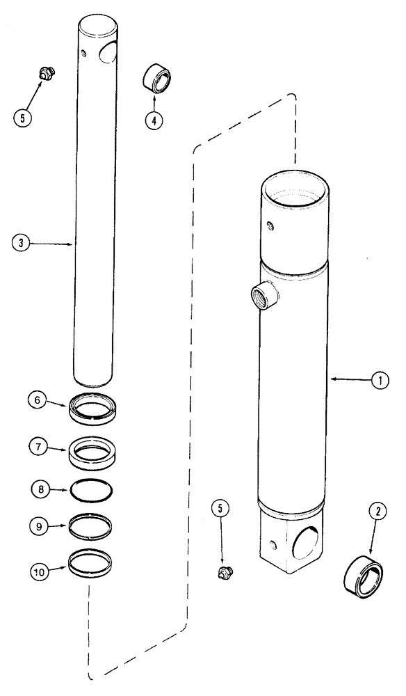
2
1
7
5
3
6
8
9
4
5
FIT
1:1
100%

Артикул

Название

Примечание

Количество

1266760C4

CYLINDER ASSY.

44 (1-3/4) ID x 273 mm (10-3/4 inch) stroke, hitch, see note

2шт.

1

1341304C3

BODY

TUBE ASSEMBLY - cylinder

1шт.

2

149638C1

BUSHING,31.8mm ID x 38.16mm OD x 16mm L

pivot, cylinder

2шт.

3

1341303C2

PISTON ROD

1шт.

4

149636C1

BUSHING,19.25mm ID x 25.46mm OD x 13mm L

pivot, rod

2шт.

5

219-14

LUBE NIPPLE,1/4" NPTF

Straight

2шт.

80362C1

SEAL KIT

seal, cylinder, also includes 1266757C1 retaining ring not used in this application

1шт.

6

403845R1

WIPER SEAL

seal, piston rod

1шт.

7

1261097C1

WIPER SEAL

oil, piston

1шт.

8

238-5133

O-RING,0.103" Thk x 1.799" ID, -133, Cl 5, 75 Duro

1шт.

9

145387C1

WASHER

piston rod quad ring

1шт.

10

145388C1

SEALING RING

SEALRING RING - quad, piston rod

1шт.

11

1266757C1

RING, SNAP

RING SNAP retaining, piston rod, not shown

1шт.

Выбрано товаров: 13