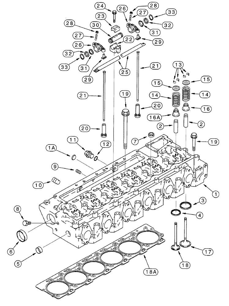
Запчасти Case IH 7220 (2-066) - CYLINDER HEAD AND VALVE MECHANISM, 6T-830 EMISSIONS CERT. ENG, 7220 TRCTR, P.I.N. JJA0064978 & AFTR (02) - ENGINE

Схема запчастей Case IH 7220 - (2-066) - CYLINDER HEAD AND VALVE MECHANISM, 6T-830 EMISSIONS CERT. ENG, 7220 TRCTR, P.I.N. JJA0064978 & AFTR (02) - ENGINE
1
16a
5
24
16
19
20
2
8
2
4
29
26
28
28
21
31
17
23
27
1a
26
15
18
12
30
13
3
18a
33
20
25
32
14
15
31
14
19
33
29
11
21
32
6
7
10
9
27
22
FIT
1:1
100%

Артикул

Название

Примечание

Количество

JR925642

HEAD

Assembly - cylinder, with valves, remanufactured, component parts shown on this Figure do not apply to the remanufactured assembly

1шт.

JC916464

HEAD

Return Number - use this part number to return head, with valves, for credit when using a remanufactured assembly

1шт.

J925642

HEAD (CYLINDER)

ASSEMBLY - new, with valves

1шт.

84262945R

REMAN-CYLINDER HEAD

7220, Cylinder Head and Valve Mechanism, 6T-830 Emissions Certified Engine, 7220 Tractor, P.I.N. JJA0064978 & After (10/93-12/96), Reman For New P/N J925642

1шт.

84262945C

CORE-CYLINDER HEAD

Return Number

1шт.

1

J920031

HEAD (CYLINDER)

ASSEMBLY - new, without valves

1шт.

1

84262945R

REMAN-CYLINDER HEAD

7220, Cylinder Head and Valve Mechanism, 6T-830 Emissions Certified Engine, 7220 Tractor, P.I.N. JJA0064978 & After(10/93-12/96), Reman For New P/N J920031

1шт.

1

84262945C

CORE-CYLINDER HEAD

Return Number

1шт.

1

86990827

REMAN-CYLINDER HEAD

Cylinder Head

1шт.

1

86990828

CORE-CYLINDER HEAD

Return Number

1шт.

1a

J912900

PLUG

expansion, 24 mm

1шт.

2

J923564

VALVE GUIDE

valve stem

12шт.

3

J924582

INSERT

INSERT - intake

6шт.

3

J925468

SEAT, VALVE

INSERT - intake, 0.254 mm oversize, service repair only

6шт.

The oversize valve insert is not part of the head assembly and must be ordered separately.

1шт.

3

J925470

SEAT, VALVE

INSERT - intake, 0.508 mm oversize, service repair only

6шт.

The oversize valve insert is not part of the head assembly and must be ordered separately.

1шт.

4

J929005

INSERT

seat, exhaust valve

6шт.

4

J929006

INSERT

seat, exhaust valve, 0.254 mm oversize, service repair only

6шт.

The oversize valve insert is not part of the head assembly and must be ordered separately.

1шт.

4

J929007

INSERT

seat, exhaust valve, 0.508 mm oversize, service repair only

6шт.

The oversize valve insert is not part of the head assembly and must be ordered separately.

1шт.

5

J920443

PLUG

expansion, 30 mm OD

1шт.

6

A77782

PLUG

expansion, 58 mm OD

2шт.

7

41-1616

PLUG,Cup, 1", Stainless

5шт.

8

A77534

PLUG

hex, 1/16 inch PT

1шт.

9

A77428

PLUG

hex socket, 1/4 inch PT

1шт.

10

A77429

PLUG

hex socket, 1/2 inch PT

2шт.

11

J924148

PLUG,M22 x 1.5

hex magnetic, special, 22 mm - 1.5

2шт.

12

J902425

SEALING WASHER,22.2mm ID x 26.9mm OD x 1.75mm Thk

sealing, plug

2шт.

13

J901177

VALVE

KEEPER - valve

24шт.

14

J906412

VALVE SPRING

12шт.

15

J912976

RETAINER

valve spring

12шт.

16

J915707

SEAL

intake and exhaust valve stem and guide, used on intake valve only on Emissions Certified Engines

6шт.

16a

J919038

SEAL

exhaust valve stem and guide

6шт.

17

J924492

STD INLET VALVE

STD ENGINE INLET VALVE

6шт.

18

J921444

STD EXHAUST VALVE

STD ENGINE EXHAUST VALVE

6шт.

18a

J935585

GASKET

cylinder head, standard, replaces J928168 gasket, see item 8 on Fig. 2-56

1шт.

19

J917728

BOLT

BOLT - cylinder head, 160 mm long

14шт.

19

J917729

BOLT,Flng, M14 x 80mm

BOLT - cylinder head, 80 mm long

12шт.

20

J931623

TAPPET

valve, push rod, replaces J930213 tappet

12шт.

21

J905194

PUSH ROD

rocker arm

12шт.

22

J905870

SUPPORT

shaft, rocker arm

6шт.

23

J901693

CLAMP

retaining, shaft

6шт.

24

868-10065

12 PT SCREW,M10 x 65mm, Cl 12.9

12шт.

25

J919677

TUBE

oil, rocker arm

1шт.

26

J901717

ROCKER

ARM ASSEMBLY

12шт.

27

J937438

ADJUSTMENT SCREW,Hex Skt, 3/8" - 24 x 33mm, Adj, Ball Point

slotted set, adjusting, special

1шт.

28

425-116

NUT,3/8" - 24, Gr 5

Hex

1шт.

29

NSS

NOT SOLD SEPARAT

INSERT - rocker

1шт.

30

J919435

SHAFT

rocker

6шт.

31

J906100

SPRING CUP

WASHER

12шт.

32

J907206

WASHER,22.5mm ID x 30mm OD x 1mm Thk

flat, special

12шт.

33

100-1187

SNAP RING,#87, Ext

12шт.

Выбрано товаров: 54