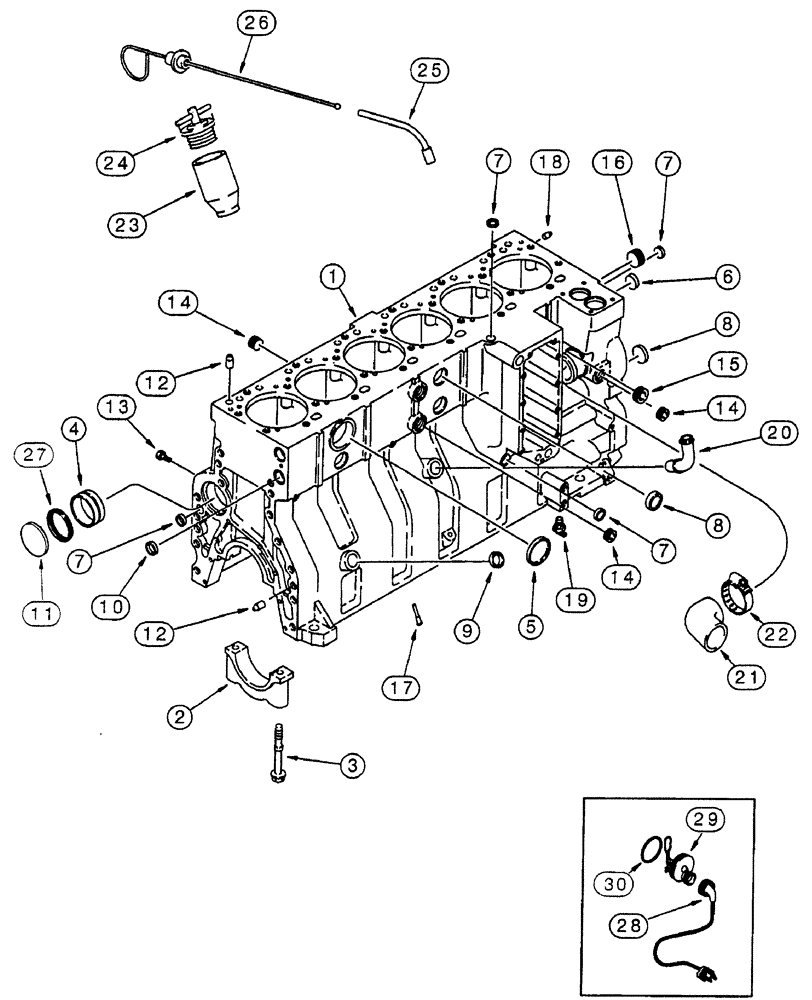
Запчасти Case IH 7220 (2-086) - CYLINDER BLOCK, 6T-830 EMISSIONS CERTIFIED ENGINE, 7220 TRACTOR ONLY, P.I.N. JJA0064978 & AFTER (02) - ENGINE

Схема запчастей Case IH 7220 - (2-086) - CYLINDER BLOCK, 6T-830 EMISSIONS CERTIFIED ENGINE, 7220 TRACTOR ONLY, P.I.N. JJA0064978 & AFTER (02) - ENGINE
14
20
25
5
26
21
14
8
17
11
30
7
12
24
7
14
3
7
19
9
8
23
22
18
7
13
4
27
6
2
29
16
1
12
15
28
10
FIT
1:1
100%

Артикул

Название

Примечание

Количество

124702A1

MOTOR

ENGINE ASSEMBLY - 6T-830 Emissions Certified, complete, for Service order basic engine below

1шт.

199949A1

BASIC ENGINE

ASSEMBLY - includes all parts except starter, alternator, fan, fan belt, air cleaner, muffler, exhaust manifold, flywheel and housing, oil fill and dipstick, fuel injection pump, injectors and lines, front pulley, belt tensioner

1шт.

199949A1R

REMAN-BASIC ENGINE

Assembly - remanufactured component parts shown on this Figure do not apply to the remanufactured assembly; See Note

1шт.

6-830-LBC

CORE-BASIC ENGINE

Return Part Number use this part number to return basic engine core for credit, replaces 199949A1C

1шт.

J934900

SHORT ENGINE

BLOCK ASSEMBLY - stripped, also order hardware kit A77716, engine serial number 45636466 and after

1шт.

1

J934600

SKELETON ENGINE

BLOCK ASSEMBLY - short, new, includes stripped block, pistons, connecting rods and bearings, crankshaft & bearings, replaces J931187 short block

1шт.

JR934600

ENGINE, EXCHANGE

ENGINE (EXCHANGE) BLOCK ASSEMBLY - short, remanufactured, North America only, component parts shown on this Figure do not apply to the remanufactured assembly

1шт.

2

J917313

BEARING CAP

bearing, main

7шт.

3

J916369

FLANGE BOLT,Hex, M14 x 2 x 128mm, Cl 10.9

Bearing cap to block

14шт.

4

J945329

CAMSHAFT BEARING,60.08mm ID x 64.13mm OD x 25mm L

camshaft, replaces J901685 bushing, see Fig. 2-72, item 6

7шт.

5

A77782

PLUG

expansion, 58 mm OD

1шт.

6

A77586

PLUG

expansion, 28.9 mm OD

1шт.

7

A77506

PLUG

expansion, 21 mm OD

4шт.

8

J905401

PLUG

expansion, 35 mm OD

4шт.

9

J920706

PLUG

expansion, 22 mm OD

1шт.

10

A77530

PLUG

expansion, 30 mm OD, upper right-hand rear of block

2шт.

11

41-3044

PLUG,Exp, 2 3/4"

1шт.

12

J901846

PIN,12.01mm OD x 24mm L

dowel

4шт.

13

J906619

PLUG,1/8" - 27

hex, 1/8 inch PT

6шт.

14

A77429

PLUG

hex socket, 1/2 inch PT

4шт.

15

A77505

PLUG

hex socket, 3/4 inch PT

2шт.

16

A77533

PLUG

hex socket, 1 inch PT

1шт.

17

J928031

NOZZLE,8.5mm OD x 30mm L

piston cooling

12шт.

18

J900257

PIN,10.01mm OD x 16mm L

dowel, 16 mm long

2шт.

19

217-103

COCK, DRAIN

VALVE - 1/4 inch PT, coolant

1шт.

20

J903744

PIPE FITTING,22.42 mm ID x 28 mm OD x 90.2, 64 mm L

TUBE - turbocharger oil drain, not used in this application

1шт.

21

J920762

ELBOW

HOSE - 79 mm (3-1/8 inch), water

1шт.

22

J918521

HOSE CLAMP,59mm - 83mm

adj, 1-13/16 - 2-3/4 inch dia, hose, coolant

1шт.

23

J905408

TUBE,35.13 mm ID x 52.39 mm OD x 100 mm L

oil filler

1шт.

24

A77424

FILLER CAP

CAP - oil fill tube

1шт.

25

J928896

TUBE,9.52 mm OD x 239.2, 123.7 mm L

oil dipstick

1шт.

26

J928895

DIPSTICK

oil

1шт.

27

J926048

O-RING,0.07" Thk x 2.614" ID, -38, Cl 5, 75 Duro

sealing, 66 mm ID

1шт.

196804A1

KIT

engine block heater

1шт.

28

196466A1

ELECTRIC CABLE

engine block heater

1шт.

29

NSS

NOT SOLD SEPARAT

ELEMENT - heater, 120 volt, engine block

1шт.

30

J910517

O-RING

heater sealing, engine block

1шт.

Выбрано товаров: 37