Запчасти Case IH 7240 (9-012) - DRAWBAR, WITH HITCH (09) - CHASSIS/ATTACHMENTS

Схема запчастей Case IH 7240 - (9-012) - DRAWBAR, WITH HITCH (09) - CHASSIS/ATTACHMENTS
28
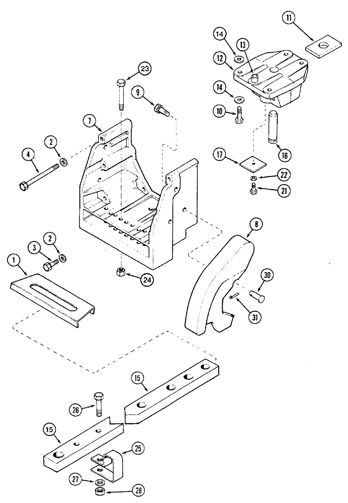
1
10
15
16
11
13
12
25
21
22
4
14
3
30
17
2
31
8
2
27
14
23
26
7
15
9
24
FIT
1:1
100%

Артикул

Название

Примечание

Количество

1

1286971C1

PLATE ASSY.

wear, drawbar

1шт.

2

896-16016

WASHER,17.5mm ID x 34mm OD x 5mm Thk

flat, 17.5 x 34 x 5 mm, hardened, replaces 67872C1 washer

8шт.

3

628-16050

BOLT,Hex, M16 x 2 x 50mm, Cl 10.9, Full Thd

2шт.

4

828-16190

BOLT,Hex, M16 x 2 x 190mm, Cl 10.9

6шт.

7

1981968C2

SUPPORT

drawbar

1шт.

8

1331889C1

CAM

sway limiter, left

1шт.

8

1331890C1

CAM

sway limiter, right (Shown)

1шт.

9

410-11228

BOLT,Hex, 3/4" - 10 x 1 3/4", Gr 8

2шт.

10

828-16060

BOLT,Hex, M16 x 2 x 60mm, Cl 10.9

4шт.

11

224619C2

SPACER

drawbar pivot

1шт.

12

142619C3

SUPPORT ASSY.

pivot, drawbar

1шт.

13

837-25050

DOWEL,M25 x 50, HDN

1шт.

14

896-16016

WASHER,17.5mm ID x 34mm OD x 5mm Thk

flat, 17.5 x 34 x 5 mm, hardened

8шт.

15

1286969C3

DRAWBAR,1540mm L x 76.2mm W x 44.45mm Thk

swinging

1шт.

16

1982103C1

PIN,34.87mm OD x 140mm L

pivot, drawbar, 140 mm

1шт.

17

67828C1

RETAINER

pin

1шт.

21

627-12030

BOLT,Hex, M12 x 1.75 x 30mm, Cl 10.9, Full Thd

Full Thd

1шт.

22

892-11012

LOCK WASHER,M12

1шт.

23

827-16140

BOLT,Hex, M16 x 2 x 140mm, Cl 10.9

2шт.

24

832-10416

NUT,M16 x 2, Cl 8

2шт.

25

1331943C1

SUPPORT ASSY.

chain

1шт.

26

827-20090

BOLT,Hex, M20 x 2.5 x 90mm, Cl 10.9

1шт.

27

896-11020

WASHER,22mm ID x 37mm OD x 4mm Thk

flat, 22 x 37 x 4 mm, hardened

1шт.

28

829-1420

NUT,M20, Cl 10

1шт.

30

439-11236

HEADED PIN,3/4" x 2 1/4"

Replaces 439-51236 pin

2шт.

31

1978738C1

HAIR PIN COTTER

3/16"

2шт.

Выбрано товаров: 26