Запчасти Case IH 7250 (5-032) - FRONT AXLE SUPPORT, MFD TRACTOR (05) - STEERING

Схема запчастей Case IH 7250 - (5-032) - FRONT AXLE SUPPORT, MFD TRACTOR (05) - STEERING
4
6
8
5
2
7
11
1
10
4
12
FIT
1:1
100%

Артикул

Название

Примечание

Количество

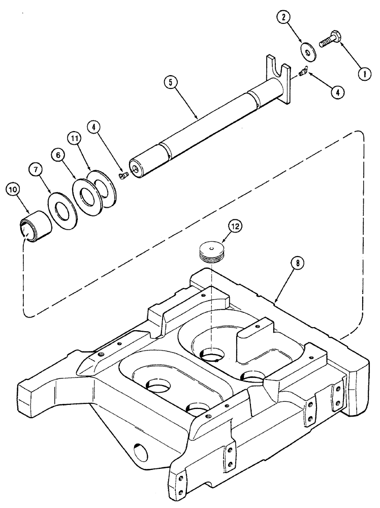
1

806-12030

BOLT,Hex, M12 x 1.75 x 30mm, Cl 10.9

1шт.

2

101936C2

WASHER

flat, hardened, special, support pin

1шт.

4

219-41

LUBE NIPPLE,65 Degree Elbow, 1/8" - 27 NPTF

2шт.

5

1348230C1

PIVOT PIN,49.95mm OD x 530mm L

front axle

1шт.

6

A177855

SEALING WASHER,50.3mm ID x 90mm OD x 4.9mm Thk

thrust, axle pivot

2шт.

7

A177854

WASHER,50.3mm ID x 90mm OD x 1.6mm Thk

flat, pivot, front axle, 1.6 mm thick

1шт.

8

137316A1

SUPPORT ASSY.

BOLSTER - steering, front axle support, replaces A185918 bolster, see Figure 9-18 for bolster plate

1шт.

10

A177916

BUSHING,50.3mm ID x 64.96mm OD x 50mm L

front pivot

2шт.

11

186869A1

SHIM,50.3mm ID x 90mm OD x 2.26mm Thk

2.26 mm thick, hardened

1шт.

12

192896A1

PLUG

front support, if used

4шт.

Выбрано товаров: 10