Запчасти Case IH 7250 (8-034) - HITCH CYLINDER ASSEMBLY, 1-1/2 INCH BORE (08) - HYDRAULICS

Схема запчастей Case IH 7250 - (8-034) - HITCH CYLINDER ASSEMBLY, 1-1/2 INCH BORE (08) - HYDRAULICS
1
2
6
4
3
8
7
5
9
10
5
FIT
1:1
100%

Артикул

Название

Примечание

Количество

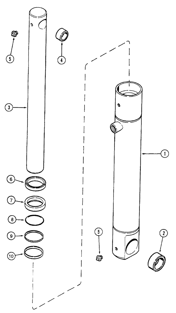
149699C6

CYLINDER ASSY.

38 (1-1/2) ID x 273 mm (10-3/4 inch) stroke, hitch, see note

2шт.

1

1341305C2

HYD CYL SLEEVE

TUBE ASSEMBLY - cylinder

1шт.

2

149638C1

BUSHING,31.8mm ID x 38.16mm OD x 16mm L

pivot, cylinder

2шт.

3

1341300C2

PISTON ROD

1шт.

4

149636C1

BUSHING,19.25mm ID x 25.46mm OD x 13mm L

pivot, rod

2шт.

5

219-14

LUBE NIPPLE,1/4" NPTF

Straight

2шт.

79616C1

PACKAGE

KIT - seal, cylinder, also includes 149637C1 retaining ring not used in this application, kit no longer available, order components

1шт.

6

403460R1

WIPER SEAL,38mm ID x 50.9mm OD x 7.94mm Thk

SEALRING WIPER - piston rod

1шт.

7

1252335C1

SEAL,36.55mm ID x 53.06mm OD x 6.35mm Thk

oil, piston rod

1шт.

8

238-5129

O-RING,0.103" Thk x 1.549" ID, -129, Cl 5, 75 Duro

Piston

1шт.

9

149668C1

WASHER

RING - backup, piston rod

1шт.

10

149667C1

RING

quad, piston rod

1шт.

Выбрано товаров: 12