Запчасти Case IH 7250 (8-038) - HITCH CYLINDER ASSEMBLY, 2-1/4 INCH BORE (08) - HYDRAULICS

Схема запчастей Case IH 7250 - (8-038) - HITCH CYLINDER ASSEMBLY, 2-1/4 INCH BORE (08) - HYDRAULICS
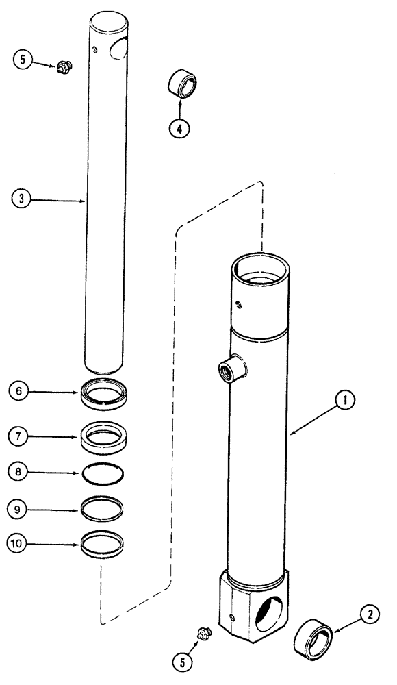
5
1
7
8
2
3
10
4
5
9
6
FIT
1:1
100%

Артикул

Название

Примечание

Количество

1994514C1

HYDRAULIC CYLINDER,278.3mm Stroke

57 (2-1/4) ID x 273 mm (10-3/4 inch) stroke, hitch, see note

2шт.

1

1994515C1

JACK BODY

TUBE ASSEMBLY - cylinder

1шт.

2

149638C1

BUSHING,31.8mm ID x 38.16mm OD x 16mm L

pivot, cylinder

2шт.

3

1986565C1

PISTON ROD

1шт.

4

149636C1

BUSHING,19.25mm ID x 25.46mm OD x 13mm L

pivot, rod

2шт.

5

219-14

LUBE NIPPLE,1/4" NPTF

Straight

2шт.

1994517C1

SEAL KIT

seal, cylinder

1шт.

6

D95145

WIPER SEAL,54.79mm ID x 70.09mm OD x 7.91mm W

piston rod

1шт.

7

1986572C1

SEAL

reverse wiper, not available for service, order 1994517C1 kit

1шт.

8

238-5141

O-RING,0.103" Thk x 2.3" ID, -141, Cl 5, 75 Duro

1шт.

9

1986912C1

WASHER

RING - backup, O-ring

1шт.

10

1986911C1

RING

quad, piston rod, not available for service, order 1994517C1 kit

1шт.

Выбрано товаров: 12