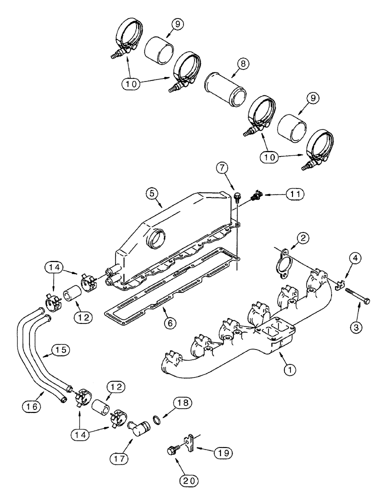
Запчасти Case IH 7250 (2-036) - MANIFOLDS, 6TA-830 ENGINE, PRIOR TO TRACTOR P.I.N. JJA0064978 (02) - ENGINE

Схема запчастей Case IH 7250 - (2-036) - MANIFOLDS, 6TA-830 ENGINE, PRIOR TO TRACTOR P.I.N. JJA0064978 (02) - ENGINE
11
4
9
9
20
14
14
10
10
6
19
18
17
12
3
15
2
1
7
16
12
8
5
FIT
1:1
100%

Артикул

Название

Примечание

Количество

1

J932183

EXHAUST MANIFOLD

exhaust, replaces J906720 manifold

1шт.

2

J929012

GASKET,0.5mm Thk

exhaust manifold, 0.54 mm thick, replaces J921787 gasket

6шт.

3

814-10070

BOLT,Hex, M10 x 1.5 x 70mm, Cl 8.8

Exhaust

12шт.

4

J914708

LOCKING PLATE

manifold bolt, exhaust

12шт.

5

J914501

COOLER

after - intake manifold, no longer available, order J924732 aftercooler and J823494 sealant below

1шт.

5

J924732

AFTERCOOLER

after - air intake

1шт.

6

J914311

MANIFOLD GASKET

intake manifold cover, used with J914501 aftercooler

1шт.

6

J823494

SEALANT

Three Bond Silver RTV Adhesive/Sealer, 3 ounce tube, used with J924732 aftercooler, intake

1шт.

7

J918109

FLANGE BOLT,Hex, M8 x 1.25 x 25mm

Special, Intake manifold cover to cylinder head, Aftercooler

18шт.

8

J914943

TUBE,63.5 mm OD x 140 mm L

crossover, air, intake aftercooler

1шт.

9

J916529

TRANSMISSION SLEEVE

HOSE - 76 mm (3 inch) long, intake aftercooler

2шт.

10

J924386

COLLAR CLAMP

adjustable, special, hose retaining, intake aftercooler

4шт.

11

J909394

COCK, DRAIN

VALVE - drain, air bleed, intake aftercooler

1шт.

12

J918611

HOSE,18.50 mm ID x 63.00 mm

Supply Tube to Aftercooler, Intake Aftercooler

4шт.

14

J918163

CLIP

CLAMP - spring type, intake aftercooler

8шт.

15

J906436

TUBE,19.05 mm OD x 385.3 mm L

TUBE - water inlet, intake aftercooler

1шт.

16

J908402

TUBE,19.05 mm OD

TUBE - water outlet, intake aftercooler

1шт.

17

J917394

ELBOW

CONNECTOR - water inlet, intake aftercooler

1шт.

18

238-5120

O-RING,0.103" Thk x 0.987" ID, -120, Cl 5, 75 Duro

Connector to block, intake aftercooler

2шт.

19

J906439

PLATE

mounting, intake aftercooler

1шт.

20

845-8016

BOLT,Hvy Hex, M8 x 16mm, Cl 8.8

Intake aftercooler

1шт.

Выбрано товаров: 21