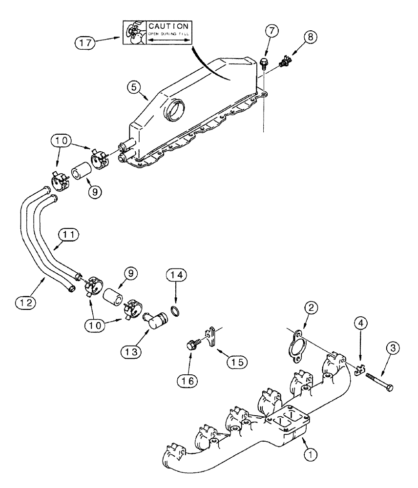
Запчасти Case IH 7250 (2-038) - MANIFOLDS, 6TA-830 EMISSIONS CERTIFIED ENGINE, TRACTOR PIN JJA0064978 AND AFTER (02) - ENGINE

Схема запчастей Case IH 7250 - (2-038) - MANIFOLDS, 6TA-830 EMISSIONS CERTIFIED ENGINE, TRACTOR PIN JJA0064978 AND AFTER (02) - ENGINE
8
17
11
14
12
13
10
9
10
7
15
4
2
9
16
5
1
3
FIT
1:1
100%

Артикул

Название

Примечание

Количество

1

J932183

EXHAUST MANIFOLD

exhaust, replaces J929779 manifold

1шт.

2

J929012

GASKET,0.5mm Thk

exhaust manifold, 0.54 mm thick

6шт.

3

814-10070

BOLT,Hex, M10 x 1.5 x 70mm, Cl 8.8

Replaces J929537 bolt, Exhaust

12шт.

4

J914708

LOCKING PLATE

manifold bolt, exhaust

12шт.

5

J924732

AFTERCOOLER

after - air intake

1шт.

6

J823494

SEALANT

Three Bond Silver RTV Adhesive/Sealer, 3 ounce tube, intake manifold aftercooler, not shown

1шт.

7

J918109

FLANGE BOLT,Hex, M8 x 1.25 x 25mm

Special, Aftercooler to cylinder head, Intake

18шт.

8

J909394

COCK, DRAIN

VALVE - air bleed, intake aftercooler

1шт.

9

J918611

HOSE,18.50 mm ID x 63.00 mm

Supply Tube to Aftercooler, Intake

4шт.

10

J918163

CLIP

CLAMP - spring type, hose retaining, intake aftercooler

8шт.

11

J906436

TUBE,19.05 mm OD x 385.3 mm L

TUBE - water inlet, intake aftercooler

1шт.

12

J908402

TUBE,19.05 mm OD

TUBE - water outlet, intake aftercooler

1шт.

13

J917394

ELBOW

CONNECTOR - water inlet, intake aftercooler

2шт.

14

238-5120

O-RING,0.103" Thk x 0.987" ID, -120, Cl 5, 75 Duro

Intake aftercooler

2шт.

15

J906439

PLATE

mounting, intake aftercooler

1шт.

16

845-8016

BOLT,Hvy Hex, M8 x 16mm, Cl 8.8

Intake aftercooler

1шт.

17

J910778

DECAL

Caution, open during fill, connector to block, intake aftercooler

1шт.

Выбрано товаров: 17