Запчасти Case IH 7250 (2-100) - CYLINDER BLOCK, 6TA-830 ENGINE, PRIOR TO TRACTOR PIN JJA0064978 (02) - ENGINE

Схема запчастей Case IH 7250 - (2-100) - CYLINDER BLOCK, 6TA-830 ENGINE, PRIOR TO TRACTOR PIN JJA0064978 (02) - ENGINE
12
14
14
2
10
14
18
7
12
7
28
22
20
21
29
9
24
13
8
4
19
7
11
16
23
25
6
26
7
3
27
5
17
1
15
8
FIT
1:1
100%

Артикул

Название

Примечание

Количество

1989185C2

MOTOR

ENGINE ASSEMBLY - complete, 6TA-830, includes all parts except starter, alternator, fan, fan belt, air cleaner, muffler and exhaust pipe, for service order basic engine below

1шт.

87448684

REMAN-SHORT ENGINE

Reman For New PN 1989185C2

1шт.

6830SHBC

CORE-SHORT ENGINE

Return Part Number

1шт.

199949A1

BASIC ENGINE

ASSEMBLY - includes all parts except starter, alternator, fan, fan belt, air cleaner, muffler, exhaust manifold, flywheel and hous, oil fill and dipstick, fuel injection pump, injectors and lines, front pulley, belt tensioner, turbocharger and aftercooler

1шт.

199949A1R

REMAN-BASIC ENGINE

Remanufactured Basic Engine Assembly, assembly includes short block assembly, cylinder head, valve cover, front cover, oil pan, water pump, thermostat and gasket kit to transfer trim parts. 3-3/8” Injection Pump Mounting Hole.

1шт.

199949A1C

CORE-BASIC ENGINE

Return Part Number

1шт.

J934596

SKELETON ENGINE

BLOCK ASSEMBLY - short, new, includes stripped block, pistons, connecting rods and bearings, crankshaft and bearings, also, new shorter cylinder sleeves, replaces J925187 and J926151 short block assemblies

1шт.

JR934596

ENGINE, EXCHANGE

Engine (Exchange) Block Assembly short, engine, remanufactured replaces JR925187 short block assembly

1шт.

JC925187

CORE-SHORT ENGINE

Return Part Number - use this part number to return short block for credit when using a remanufactured assembly

1шт.

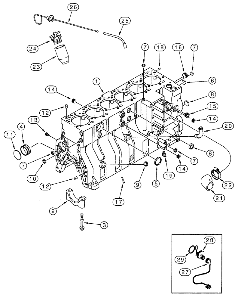
1

J928964

CRANKCASE

BLOCK ASSEMBLY - stripped engine, prior to engine serial number 45636466, no longer available, order the necessary short block assembly above, replaces J923289, J926145 and J929604 stripped block assemblies

1шт.

1

J934900

SHORT ENGINE

BLOCK ASSEMBLY - stripped, engine serial number 45636466 and after

1шт.

Order items 9 - 20 when ordering J934900 stripped block.

1шт.

2

J917313

BEARING CAP

bearing, main

7шт.

3

J916369

FLANGE BOLT,Hex, M14 x 2 x 128mm, Cl 10.9

Bearing cap to block

14шт.

4

J945329

CAMSHAFT BEARING,60.08mm ID x 64.13mm OD x 25mm L

camshaft, see Figure 2-80, item 6, replaces J901685 bushing

7шт.

5

A77782

PLUG

expansion, 58 mm OD

1шт.

6

A77586

PLUG

expansion, 28.9 mm OD

1шт.

7

A77506

PLUG

expansion, 21 mm OD

4шт.

8

J905401

PLUG

expansion, 35 mm OD

4шт.

A77716

BLOCK

KIT - block hardware, no longer available, order components separately

1шт.

9

J920706

PLUG

expansion, 22 mm OD

1шт.

10

A77530

PLUG

expansion, 30 mm OD, not used in this application

2шт.

11

41-3044

PLUG,Exp, 2 3/4"

Replaces J901969 plug

1шт.

12

J901846

PIN,12.01mm OD x 24mm L

dowel

4шт.

13

J906619

PLUG,1/8" - 27

hex, 1/8 inch PT

6шт.

14

A77429

PLUG

hex socket, 1/2 inch PT

4шт.

15

A77505

PLUG

hex socket, 3/4 inch PT

2шт.

16

A77533

PLUG

hex socket, 1 inch PT

1шт.

17

J919003

NOZZLE INJECTION

piston cooling

12шт.

18

J900257

PIN,10.01mm OD x 16mm L

dowel, 16 mm long

2шт.

19

217-103

COCK, DRAIN

VALVE - 1/4 inch PT, coolant

1шт.

20

J903744

PIPE FITTING,22.42 mm ID x 28 mm OD x 90.2, 64 mm L

TUBE - turbocharger oil drain, see Figure 2-44 for connecting turbocharger parts

1шт.

21

J920762

ELBOW

HOSE - 79 mm (3-1/8 inch), water

1шт.

22

J918521

HOSE CLAMP,59mm - 83mm

adj, 1-13/1 6 - 2-3/4 inch dia, coolant

1шт.

23

J905408

TUBE,35.13 mm ID x 52.39 mm OD x 100 mm L

oil filler

1шт.

24

A77424

FILLER CAP

CAP - oil fill tube

1шт.

25

J905778

TUBE,9.52 mm OD x 184.8, 107.7 mm L

oil dipstick

11шт.

26

J908094

DIPSTICK

oil

1шт.

A77595

KIT

engine block heater

1шт.

27

196466A1

ELECTRIC CABLE

engine block heater, replaces J905113 cable

1шт.

28

NSS

NOT SOLD SEPARAT

ELEMENT - heater, 120 volt, engine block

1шт.

29

J910517

O-RING

heater sealing, engine block

1шт.

Выбрано товаров: 42