Запчасти Case IH 8910 (2-046) - CYLINDER BLOCK, 6T-830 EMISSIONS CERTIFIED ENGINE, 228158A1 ENGINE ASSEMBLY (02) - ENGINE

Схема запчастей Case IH 8910 - (2-046) - CYLINDER BLOCK, 6T-830 EMISSIONS CERTIFIED ENGINE, 228158A1 ENGINE ASSEMBLY (02) - ENGINE
10
22
7
13
7
12
12
30
20
19
18
15
2
26
17
4
1
7
21
8
23
14
14
25
29
27
7
14
8
9
5
6
24
16
3
28
11
FIT
1:1
100%

Артикул

Название

Примечание

Количество

228158A1

ENGINE ASSEMBLY

ENGINE ASSY ENGINE ASSEMBLY, complete, 6T-830 Emissions Certified, complete, for service order basic engine

1шт.

The engine part number is stamped on a metal tag which is mounted on the front gear cover.

1шт.

243307A1

BASIC ENGINE

ENGINE ASSEMBLY - basic, includes all parts except starter, alternator, fan & belt, air cleaner, muffler, exhaust manifold, flywheel & housing, oil fill & dipstick, fuel inj pump, injectors & lines, frt pulley, belt tensioner, turbocharger & aftercooler

1шт.

47466015R

REMAN-BASIC ENGINE

Engine Assembly - remanufactured component parts shown in this figure do not apply to the remanufactured assembly; See Note

1шт.

47466015C

CORE-BASIC ENGINE

Return Part Number use this part number to return engine core for credit when using a remanufactured assembly

1шт.

J934900

SHORT ENGINE

BLOCK ASSEMBLY - stripped, for service also order: P/N A77716 hardware kit for engine SN 45636466 and after

1шт.

JR934600

ENGINE, EXCHANGE

Engine (Exchange) Block Assembly - short, remanufactured, component parts shown in this figure do not apply to the remanufactured assembly

1шт.

6-830-SHBC

CORE

Return Part Number use this part number to return short block for credit when using a remanufactured assembly

1шт.

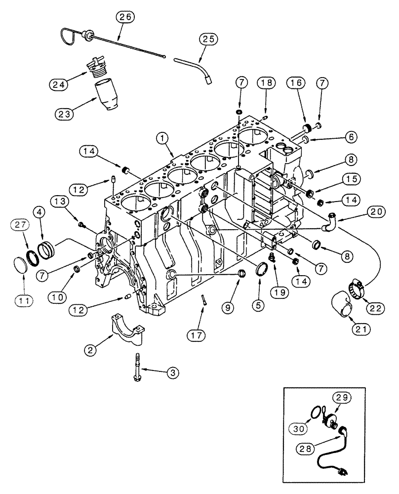
1

J934600

SKELETON ENGINE

BLOCK ASSEMBLY - short, new, includes stripped block, pistons, connecting rods and bearings, crankshaft and bearings, Replaces: P/N J931187, Includes: Ref. 2 thru 20

1шт.

2

J917313

BEARING CAP

CAP bearing, main

7шт.

3

J916369

FLANGE BOLT,Hex, M14 x 2 x 128mm, Cl 10.9

SCREW, , Bearing cap to block Hex Flg Hd, M14 x 128

14шт.

4

J945329

CAMSHAFT BEARING,60.08mm ID x 64.13mm OD x 25mm L

BUSHING camshaft, see Figure 2-044, Ref. 6, Replaces: P/N J901685

7шт.

5

A77782

PLUG

PLUG expansion, 58 mm OD

1шт.

6

A77586

PLUG

PLUG expansion, 28.9 mm OD

1шт.

7

A77506

PLUG

PLUG expansion, 21 mm OD

4шт.

8

J905401

PLUG

PLUG expansion, 35 mm OD

4шт.

9

J920706

PLUG

PLUG expansion, 22 mm OD

1шт.

10

A77530

PLUG

PLUG expansion, 30 mm OD, not used in this application

2шт.

11

41-3044

PLUG,Exp, 2 3/4"

PLUG, Exp, 2 3/4"

1шт.

12

J901846

PIN,12.01mm OD x 24mm L

PIN dowel

4шт.

13

J906619

PLUG,1/8" - 27

PLUG hex, 1/8 inch PT

6шт.

14

A77429

PLUG

PLUG hex socket, 1/2 inch PT

4шт.

15

A77505

PLUG

PLUG hex socket, 3/4 inch PT

2шт.

16

A77533

PLUG

PLUG hex socket, 1 inch PT

1шт.

17

J928031

NOZZLE,8.5mm OD x 30mm L

NOZZEL piston, cooling

12шт.

18

J900257

PIN,10.01mm OD x 16mm L

PIN dowel, 16 mm long

2шт.

19

217-103

COCK, DRAIN

VALVE - 1/4 inch PT, coolant

1шт.

20

J903744

PIPE FITTING,22.42 mm ID x 28 mm OD x 90.2, 64 mm L

TUBE - turbocharger oil drain

1шт.

21

J920762

ELBOW

HOSE - 79 mm (3-1/8 inch), water

1шт.

22

J918521

HOSE CLAMP,59mm - 83mm

CLAMP adj, 1-13/16 - 2-3/4 inch dia, hose, coolant

1шт.

23

J905408

TUBE,35.13 mm ID x 52.39 mm OD x 100 mm L

TUBE oil, filler

1шт.

24

A77424

FILLER CAP

CAP - oil fill, tube

1шт.

25

J928896

TUBE,9.52 mm OD x 239.2, 123.7 mm L

TUBE oil, dipstick

1шт.

26

J928895

DIPSTICK

DIPSTICK oil

1шт.

27

J926048

O-RING,0.07" Thk x 2.614" ID, -38, Cl 5, 75 Duro

O-RING sealing, 66 mm ID

1шт.

196804A1

KIT

KIT engine block heater, Includes: Ref. 28 thru 30

1шт.

28

196466A1

ELECTRIC CABLE

CABLE engine block heater

1шт.

29

NSS

NOT SOLD SEPARAT

ELEMENT - heater, 120 volt

1шт.

30

J910517

O-RING

O-RING heater sealing

1шт.

Выбрано товаров: 39