Запчасти Case IH 8920 (2-013A) - AIR INDUCTION SYSTEM, WITH DEAERATION SYSTEM, IF EQUIPPED (02) - ENGINE

Схема запчастей Case IH 8920 - (2-013A) - AIR INDUCTION SYSTEM, WITH DEAERATION SYSTEM, IF EQUIPPED (02) - ENGINE
11
31
31
2
14
25
26
30
18
38
39
22
29
14
16
7
21
1
5
37
23
27
19
3
4
33
24
32
13
36
14
12
20
28
33
17
FIT
1:1
100%

Артикул

Название

Примечание

Количество

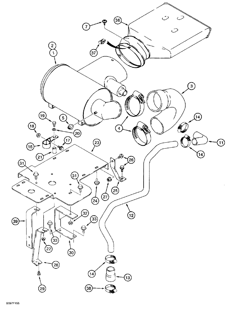
1

113077A1

AIR CLEANER

CLEANER ASSEMBLY, Includes: Ref. 2, precleaner, see Figure 2-014

1шт.

2

NSS

NOT SOLD SEPARAT

PRECLEANER engine, included with air cleaner assembly

1шт.

3

1289073C3

LARGE HOSE

HOSE, air, Serial Range: cleaner-turbocharger

1шт.

4

214-3280

HOSE CLAMP,4-1/4" - 5-1/8", HD Worm, W/ Liner

CLAMP, HOSE, , Adjustable, Hose to Turbo 4.25/5.125 HD Worm, W/liner

1шт.

5

P6137737

INDICATOR

SWITCH restriction, air cleaner, Replaces: P/N 1983640C1 switch

1шт.

6

214-3288

HOSE CLAMP,4-3/4" - 5-5/8", HD Worm, W/ Liner

CLAMP adj, 4-3/4 - 5-5/8 inch dia, clamp hose to air cleaner

1шт.

7

93199C1

FASTENER

ratchet, precleaner to air duct

3шт.

11

1998851C1

HOSE

aspirator, 90 degree

1шт.

12

121746A1

TUBE

aspirator

1шт.

13

1998858C1

HOSE

aspirator

1шт.

14

214-1428

HOSE CLAMP,#28, 1.31" - 2.25", Type F Worm

CLAMP, HOSE, , Adjustable #28, 1.31/2.25 Type F Worm

4шт.

16

1334309C2

COLLAR CLAMP

CLAMP aspirator tube, mounts to turbo shield

1шт.

17

905-10025

BOLT,Hex Flg, M10 x 25mm

hex serrated flange, 10 - 1.5 x 25 mm

1шт.

18

829-2410

FLANGE NUT,M10 x 1.5, Flg, Cl 10

1шт.

19

814-10060

BOLT,Hex, M10 x 1.5 x 60mm, Cl 8.8

1шт.

20

895-11010

WASHER,11mm ID x 20mm OD x 2mm Thk

1шт.

21

A176570

SPACER

clamp

1шт.

22

829-2410

FLANGE NUT,M10 x 1.5, Flg, Cl 10

1шт.

23

278863A2

SUPPORT

PLATE support, deaeration tank/ air cleaner

1шт.

24

905-10020

BOLT,Hex Flg, M10 x 20mm

3шт.

25

1348518C1

SUPPORT

BRACKET air cleaner support, mounts to cylinder head

1шт.

26

905-10025

BOLT,Hex Flg, M10 x 25mm

hex serrated flange, 10 - 1.5 x 25 mm

2шт.

27

829-2410

FLANGE NUT,M10 x 1.5, Flg, Cl 10

1шт.

28

1340702C1

SUPPORT

air cleaner

1шт.

29

905-8012

BOLT,Hex Flg, M8 x 12mm

hex serrated flange, 8 - 1.25 x 12 mm

1шт.

30

279325A1

SUPPORT ASSY.

BRACKET air cleaner mounting, mounts to cylinder head

1шт.

31

905-10025

BOLT,Hex Flg, M10 x 25mm

hex serrated flange, 10 - 1.5 x 25 mm

1шт.

32

825-51410

FLANGE NUT,M10, Flg Ser

hex serrated flange, 10 mm - 1.5

1шт.

33

905-10020

BOLT,Hex Flg, M10 x 20mm

1шт.

36

113580A1

DUCT

air intake

1шт.

37

96900C1

SPRING NUT,U, #10-16, Panel type

3шт.

38

214-1432

HOSE CLAMP,#32, 1.56" - 2.5", Type F Worm

CLAMP, HOSE, #32, 1.56/2.50 Type F Worm

1шт.

39

278862A1

SUPPORT

BRACKET air plate

1шт.

Выбрано товаров: 33