Запчасти Case IH 8920 (9-106) - MIRROR AND MONITOR MOUNTING KITS (09) - CHASSIS/ATTACHMENTS

Схема запчастей Case IH 8920 - (9-106) - MIRROR AND MONITOR MOUNTING KITS (09) - CHASSIS/ATTACHMENTS
2
11a
14
3
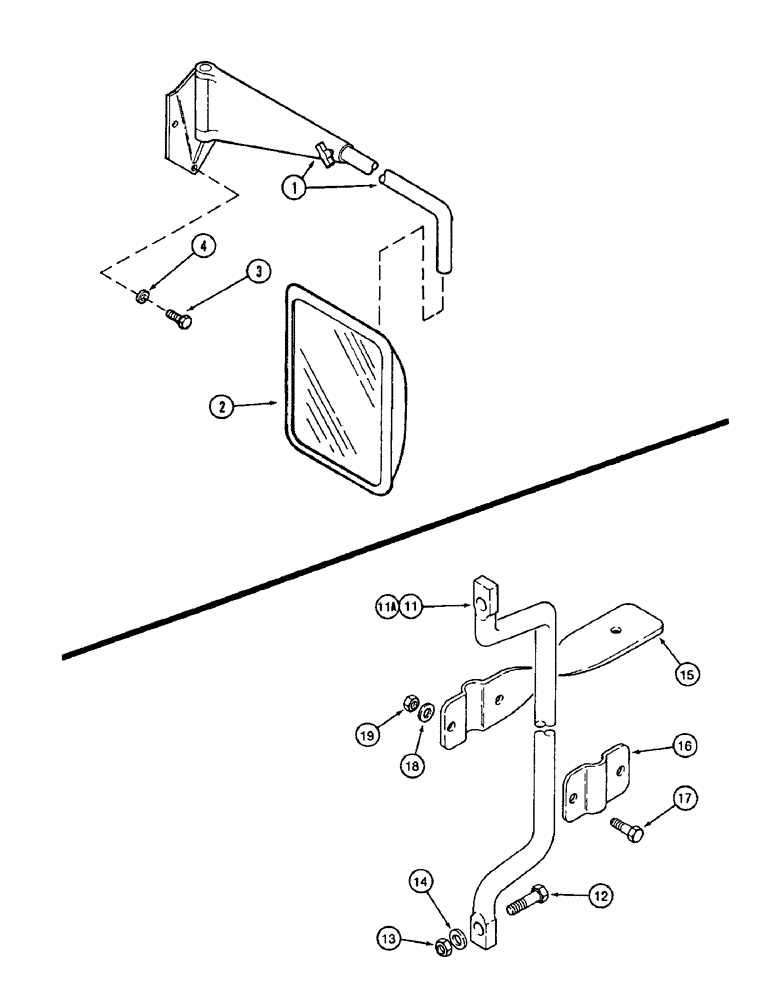
1
13
16
15
19
18
4
11
17
12
FIT
1:1
100%

Артикул

Название

Примечание

Количество

1

1530998C1

SUPPORT ASSY.

BRACKET ASSEMBLY - mirror, left-hand or right-hand, pivot bolt has an M22 head on bolt, no longer available, order 1530998C2 assembly, includes mounting bracket kit, detent kit, arm kit, tube kit and handle kit

2шт.

1

1530998C2

SUPPORT

BRACKET ASSEMBLY - mirror, left hand or right hand, pivot bolt has an M13 head on bolt, includes mounting bracket kit, detent kit, arm kit, tube kit and handle kit

2шт.

136294A1

SUPPORT

KIT - mounting bracket

1шт.

136296A1

PAWL

KIT - detent, if used, to service P/N 1530998C1 assembly

1шт.

NSS

NOT SOLD SEPARAT

KIT - detent, if used, to service P/N 1530998C2 assembly

1шт.

136298A1

ARM

KIT, if used, to service P/N 1530998C1 assembly

1шт.

258477A1

ARM

KIT, if used, to service P/N 1530998C2 assembly

1шт.

136299A1

TUBE

KIT arm

1шт.

136300A1

HANDLE GRIP

KIT - handle

1шт.

2

185773A1

MIRROR

ASSEMBLY - rear view, includes clamp, mirror, bolt, washer, cap and bushing

2шт.

132219A1

CLAMP

mirror

1шт.

185774A1

MIRROR

glass

1шт.

614-8050

BOLT,Hex, M8 x 1.25 x 50mm, Cl 8.8, Full Thd

1шт.

185775A1

CAP

bolt head

1шт.

132220A1

BUSHING

mirror

1шт.

3

256320A1

BOLT

BOLT - hex, full threads, 8 - 1.25 x 25 mm, zinc cobalt plate, replaces: P/N 614-8020 bolt, mirror mounting kit

6шт.

4

256402A1

SPECIAL WASHER,9mm ID x 16mm OD x 1.6mm Thk

flat, 9 x 17 x 1.6 mm, zinc cobalt plate, Replaces: P/N 895-11008 washer, mirror mounting kit

6шт.

104470A1

PACKAGE

MOUNTING KIT - monitor bar, two bracket, order from Machinery Price List, Includes: Ref. 11 thru 19

1шт.

11

103212A1

BAR

monitor mounting, 356 mm (14-1/64 inch) long, kits

1шт.

12

614-10030

BOLT,Hex, M10 x 1.5 x 30mm, Cl 8.8, Full Thd

Monitor mounting kits

2шт.

13

825-1410

NUT,M10, Cl 8

Monitor mounting kits

2шт.

14

895-18010

WASHER,10.5mm ID x 18mm OD x 1.6mm Thk

Monitor mounting kits

2шт.

15

103213A1

HOLDER

BRACKET - mounting, monitor, kits

2шт.

16

103226A1

CLAMP

mounting bracket, monitor kits

2шт.

17

614-8025

BOLT,Hex, M8 x 1.25 x 25mm, Cl 8.8, Full Thd

Monitor mounting kits

4шт.

18

895-11008

WASHER,9mm ID x 16mm OD x 1.6mm Thk

Monitor mounting kits

4шт.

19

829-1408

NUT,Hex, M8 x 1.25, Cl 10.9

Monitor mounting kits

4шт.

104471A1

PACKAGE

MOUNTING KIT - monitor bar, three bracket, order from Machinery Price List, Includes: Ref. 11A thru 19

1шт.

11a

104466A1

BAR

monitor mounting, 556 mm (21-7/8 inch) long, kits

1шт.

12

614-10030

BOLT,Hex, M10 x 1.5 x 30mm, Cl 8.8, Full Thd

Monitor mounting kits

2шт.

13

825-1410

NUT,M10, Cl 8

Monitor mounting kits

2шт.

14

895-18010

WASHER,10.5mm ID x 18mm OD x 1.6mm Thk

Monitor mounting kits

2шт.

15

103213A1

HOLDER

BRACKET - mounting, monitor, kits

3шт.

16

103226A1

CLAMP

mounting bracket, monitor kits

3шт.

17

614-8025

BOLT,Hex, M8 x 1.25 x 25mm, Cl 8.8, Full Thd

Monitor mounting kits

6шт.

18

895-11008

WASHER,9mm ID x 16mm OD x 1.6mm Thk

Monitor kits

6шт.

19

829-1408

NUT,Hex, M8 x 1.25, Cl 10.9

Monitor mounting kits

6шт.

895-11008

WASHER,9mm ID x 16mm OD x 1.6mm Thk

1шт.

Выбрано товаров: 38