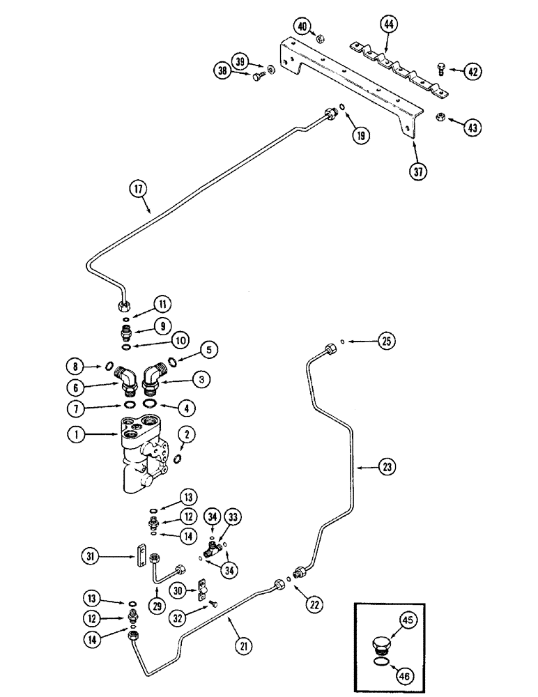
Запчасти Case IH 8920 (5-008) - HYDROSTATIC STEERING SYSTEM, PRIORITY VALVE TO STEERING PUMP (05) - STEERING

Схема запчастей Case IH 8920 - (5-008) - HYDROSTATIC STEERING SYSTEM, PRIORITY VALVE TO STEERING PUMP (05) - STEERING
39
12
29
42
21
45
12
37
33
6
4
43
10
31
7
14
25
9
34
2
44
3
17
40
14
46
13
5
11
23
38
13
34
8
1
32
22
19
30
FIT
1:1
100%

Артикул

Название

Примечание

Количество

1

1994591C4

VALVE

ASSEMBLY - priority, steering, see Figure 5-014

1шт.

2

238-6117

O-RING,0.103" Thk x 0.799" ID, -117, Cl 6, 90 Duro

1шт.

3

201-308

ELBOW,90 Degree Elbow, 1-7/16" - 12 Male ORFS x 1-5/16" - 12 Male ORB

adj O-ring, 1-7/16-12 face x 1-5/16-12 inch, 90 deg, Includes: Ref. 4 thru 5

1шт.

4

237-6016

O-RING,0.116" Thk x 1.171" ID, -916, Cl 6, 90 Duro

16-1, 90 Duro, 1.171" ID x .118" Thk

1шт.

6

201-307

ELBOW,90 Degree Elbow, 1-3/16" - 12 Male ORFS x 1-1/16" - 12 Male ORB

adj, O-ring boss, 1-3/16-12 face seal x 1-1/16-12 inch, 90 degree, Includes: Ref. 7 and 8

1шт.

7

237-6012

O-RING,0.116" Thk x 0.924" ID, -912, Cl 6, 90 Duro

12-1, 90 Duro, .924 ID x .116" Thk

1шт.

8

238-6018

O-RING,0.07" Thk x 0.739" ID, -18, Cl 6, 90 Duro

1шт.

9

201-102

HYD CONNECTOR,13/16" - 16 Male ORFS x 3/4" - 16 Male ORB

CONNECTOR, HYD., , Includes Ref. 10 and 11 13/16"-16 ORFS x 3/4"-16 ORB

1шт.

10

237-6008

O-RING,0.087" Thk x 0.644" ID, -908, Cl 6, 90 Duro

8-1, 90 Duro, .644" ID x .087" Thk

1шт.

11

238-6014

O-RING,0.07" Thk x 0.489" ID, -14, Cl 6, 90 Duro

1шт.

12

201-101

HYD CONNECTOR,11/16" - 16 Male ORFS x 9/16" - 18 Male ORB

Adapter - straight, Incl Ref. 13 and 14 11/16"-16 ORFS x 9/16"-18 ORB

2шт.

14

238-6012

O-RING,0.07" Thk x 0.364" ID, -12, Cl 6, 90 Duro

1шт.

17

1340547C1

HYD TUBE

TUBE supply, steering, Includes: Ref. 19

1шт.

19

238-6014

O-RING,0.07" Thk x 0.489" ID, -14, Cl 6, 90 Duro

1шт.

21

1289489C3

HYD TUBE

TUBE steering, signal rear, Includes: Ref. 22

1шт.

22

238-6012

O-RING,0.07" Thk x 0.364" ID, -12, Cl 6, 90 Duro

2шт.

23

1340546C1

HYD TUBE

TUBE - steering, signal, front, Includes: Ref. 25

1шт.

25

238-6012

O-RING,0.07" Thk x 0.364" ID, -12, Cl 6, 90 Duro

2шт.

29

252478A3

TUBE,0.375" OD, 100, 87 mm Length

pump, signal short, Replaces: P/N 1289370C2

1шт.

30

1334536C2

CLAMP

tube, 3/8 inch OD

1шт.

31

1334535C2

SUPPORT

PLATE - tube

1шт.

32

614-6012

BOLT,Hex, M6 x 1 x 12mm, Cl 8.8, Full Thd

1шт.

33

201-408

TEE,11/16"-16 ORFS

11/16-16 inch face seal branch x face seal x face seal, Includes: Ref. 34

1шт.

34

238-6012

O-RING,0.07" Thk x 0.364" ID, -12, Cl 6, 90 Duro

3шт.

37

1340548C3

SUPPORT

BRACKET - support, tube

1шт.

38

613-10025

BOLT,Hex, M10 x 1.5 x 25mm, Cl 8.8, Full Thd

- hex, full threads, 10 - 1.5 x 25 mm

2шт.

40

825-1410

NUT,M10, Cl 8

2шт.

42

614-8020

BOLT,Hex, M8 x 1.25 x 20mm

- hex, full threads, 8 - 1.25 x 20 mm

6шт.

43

825-1408

NUT,M8, Cl 8

6шт.

44

1348408C1

CLAMP

tube, retaining

1шт.

45

218-5158

PLUG,Hex Hd, 1 1/16"-12 ORB

(Without hitch), Includes: Ref. 46 Hex Hd, 1 1/16"-12 ORB

1шт.

46

237-6012

O-RING,0.116" Thk x 0.924" ID, -912, Cl 6, 90 Duro

12-1, 90 Duro, .924 ID x .116" Thk

1шт.

47

814-10060

BOLT,Hex, M10 x 1.5 x 60mm, Cl 8.8

1шт.

5

238-6021

O-RING,15/16 X 1 - 1/16, Cl 6

1шт.

39

895-11010

WASHER,11mm ID x 20mm OD x 2mm Thk

2шт.

13

237-6006

O-RING,0.078" Thk x 0.468" ID, -906, Cl 6, 90 Duro

6-1, 90 Duro, .468" ID x .078" Thk

1шт.

Выбрано товаров: 36