Запчасти Case IH 8930 (9-084) - CAB, REAR ACCESS AND SUNVISOR KITS (09) - CHASSIS/ATTACHMENTS

Схема запчастей Case IH 8930 - (9-084) - CAB, REAR ACCESS AND SUNVISOR KITS (09) - CHASSIS/ATTACHMENTS
5
4
3
1
11
2
10
FIT
1:1
100%

Артикул

Название

Примечание

Количество

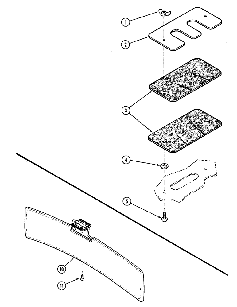
A167146

PACKAGE

ACCESS KIT - rear, cab, order from Machinery Price List, Includes: Ref. 1-5

1шт.

1

129-500

WING NUT,#10-32

Rear access kit

2шт.

2

A165352

PLATE

cable access, rear kit

1шт.

3

A165354

SEAL

cable access, rear kit

2шт.

4

A165523

FASTENER

RETAINER - special, rear access kit

2шт.

5

440-11012

SCREW,Cross Pan Hd, #10-24 x 3/4"

Rear access kit

2шт.

A67885

VISOR, SUN

KIT - operator, order from Machinery Price List, sunvisor, Includes: Ref. 10, 11

1шт.

10

97133C1

VISOR, SUN

kit, sunvisor

1шт.

11

1971367C2

SELF-TAP SCREW,Cross Oval Hd, #10-16 x 3/4"

Polyseal, sunvisor kit

2шт.

Выбрано товаров: 9