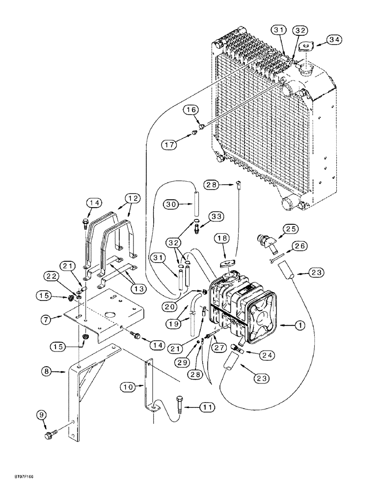
Запчасти Case IH 8940 (2-011A) - DEAERATION SYSTEM, ROUNDED TANK, IF EQUIPPED (02) - ENGINE

Схема запчастей Case IH 8940 - (2-011A) - DEAERATION SYSTEM, ROUNDED TANK, IF EQUIPPED (02) - ENGINE
8
14
24
7
11
27
26
22
25
21
10
20
23
23
29
1
32
31
12
9
33
19
28
21
13
18
31
30
17
34
28
15
15
16
32
14
FIT
1:1
100%

Артикул

Название

Примечание

Количество

252719A1

TANK

ASSEMBLY - deaeration, no longer available, machines serial number JJA0072000 through JJA0078477 order 324239A1 retrofit kit, see Figure 2-11C, Includes: Ref. 1,2,3,4,5,6

1шт.

1

NSS

NOT SOLD SEPARAT

TANK - deaeration

1шт.

2

294886A1

PLUG

ADAPTER - straight, 1/8-17 NPTF with No. 8 NC tapped hole, not shown

1шт.

3

493-41017

LOCK WASHER,Ext, #8

external tooth lock, No. 8, not shown

1шт.

4

440-1086

SCREW,Cross Pan Hd, #8-32 x 3/8"

Not shown

1шт.

5

294885A1

GAUGE

ASSEMBLY - sight glass, not shown, Includes: Ref. 6

1шт.

6

238-5115

O-RING,0.103" Thk x 0.674" ID, -115, Cl 5, 75 Duro

Not shown

1шт.

7

253031A1

LARGE PLATE

PLATE, LARGE support, tank

1шт.

8

252716A1

SUPPORT

BRACKET - left-hand, tank support

1шт.

9

854-12035

BOLT,Hvy Hex, M12 x 35mm, Cl 10.9

BOLT - heavy hex flange, 12 - 1.75 x 35 mm, class 10.9

2шт.

10

252720A1

SUPPORT

BRACKET - tank support

1шт.

11

814-10070

BOLT,Hex, M10 x 1.5 x 70mm, Cl 8.8

Replaces 854-10070 hex flange head bolt used on some models

1шт.

12

253030A1

FIXING BRACKET

CLAMP - band, upper

2шт.

13

254145A1

CLAMP

band, lower

2шт.

14

905-10030

BOLT,Hex Flg, M10 x 35mm

7шт.

15

825-51410

FLANGE NUT,M10, Flg Ser

5шт.

16

86568834

PLUG,1/4" - 18 NPT

Radiator, Replaces radiator vent to engine hose (Ref 10, Figure 2-2) used on some models

1шт.

17

86643151

PLUG,Hex Hd, 1/8"-27 NPTF

Radiator

1шт.

18

301472A1

FILLER CAP

10 psi, deaeration tank, replaces A149609 cap

1шт.

19

142713A1

HOSE

1021 mm (40-7/32 inch) long, coolant overflow

1шт.

20

A171099

HOSE CLAMP,13.2mm - 15.4mm

spring-type

1шт.

21

253866A1

CABLE

WIRE - ground, tank to mounting plate

1шт.

22

895-18010

WASHER,10.5mm ID x 18mm OD x 1.6mm Thk

1шт.

23

253784A1

HOSE

19 (3/4) x 27 (1-1/16) x 1785 mm (70-5/16 inch) long, return

1шт.

24

214-1412

HOSE CLAMP,#12, 0.69" - 1.25", Type F Worm

1шт.

25

217-185

FITTING,45 Degree Elbow, 3/4" Hose Barb x 1/2" Male NPTF

45 degree, 3/4 stem end x 1/2 inch PT

1шт.

26

214-1316

HOSE CLAMP,#16, 1", Spring

CLAMP - spring type, 1 inch

1шт.

27

279476A1

SENSOR

low coolant, probe, coolant level, replaces A145513 sensor

1шт.

28

253865A1

CABLE

WIRE - coolant level extension (Prior to P.I.N. JJA0076314)

1шт.

29

824-1405

NUT,M5, Cl 5

1шт.

30

253764A1

HOSE

8 (5/16) x 14 (9/16) x 1520 mm (59-7/8 inch) long, engine cylinder head to deaeration tank

1шт.

31

A172261

HOSE,7.92mm ID x 1820mm L, SAE 30R6

Cut from L126767 bulk hose, Radiator to deaeration tank

1шт.

32

A171099

HOSE CLAMP,13.2mm - 15.4mm

spring-type

4шт.

33

241173A1

FITTING

ORIFICE - straight, 0.120 inch hole, 1/8 PT x 5/16 inch stem end

1шт.

34

253858A1

PLUG

CAP - radiator, non-opening

1шт.

L126767

HOSE,7.9mm ID x 2336mm L, SAE 30R6

1шт.

Выбрано товаров: 36