Запчасти Case IH 8940 (8-030) - HITCH CYLINDER ASSEMBLY, 1-1/2 INCH BORE (08) - HYDRAULICS

Схема запчастей Case IH 8940 - (8-030) - HITCH CYLINDER ASSEMBLY, 1-1/2 INCH BORE (08) - HYDRAULICS
4
8
9
1
2
10
5
7
3
5
6
FIT
1:1
100%

Артикул

Название

Примечание

Количество

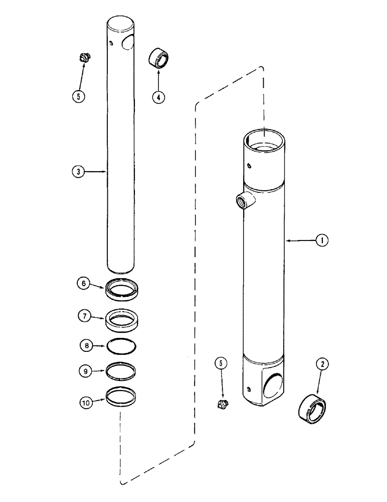
149699C6

CYLINDER ASSY.

38 (1-1/2) ID x 273 mm (10-3/4 inch) stroke, see note, Includes: Ref. 1-10

1шт.

1

1341305C2

HYD CYL SLEEVE

TUBE ASSEMBLY, Includes: Ref. 2

1шт.

2

149638C1

BUSHING,31.8mm ID x 38.16mm OD x 16mm L

pivot

2шт.

3

1341300C2

PISTON ROD

1шт.

4

149636C1

BUSHING,19.25mm ID x 25.46mm OD x 13mm L

pivot

2шт.

5

219-14

LUBE NIPPLE,1/4" NPTF

Straight

2шт.

6

403460R1

WIPER SEAL,38mm ID x 50.9mm OD x 7.94mm Thk

SEALRING WIPER - piston rod

1шт.

7

1252335C1

SEAL,36.55mm ID x 53.06mm OD x 6.35mm Thk

oil

1шт.

8

238-5129

O-RING,0.103" Thk x 1.549" ID, -129, Cl 5, 75 Duro

1шт.

9

149668C1

WASHER

RING - backup

1шт.

10

149667C1

RING

quad

1шт.

Выбрано товаров: 11