Запчасти Case IH 8940 (8-032) - HITCH CYLINDER ASSEMBLY, 1-3/4 INCH BORE (08) - HYDRAULICS

Схема запчастей Case IH 8940 - (8-032) - HITCH CYLINDER ASSEMBLY, 1-3/4 INCH BORE (08) - HYDRAULICS
2
3
5
9
8
1
5
4
6
7
10
FIT
1:1
100%

Артикул

Название

Примечание

Количество

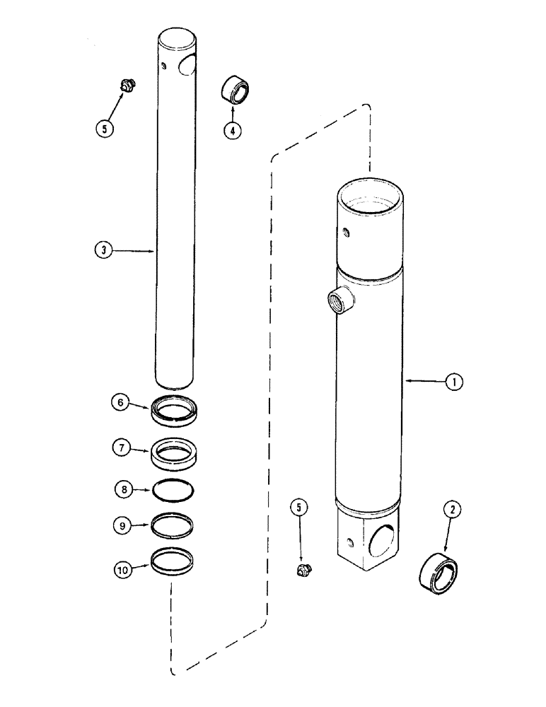
1266760C4

CYLINDER ASSY.

44 (1-3/4) ID x 273 mm (10-3/4 inch) stroke, see note, Includes: Ref. 1-10

1шт.

1

1341304C3

BODY

TUBE ASSEMBLY - cylinder, Includes: Ref. 2

1шт.

2

149638C1

BUSHING,31.8mm ID x 38.16mm OD x 16mm L

pivot

2шт.

3

1341303C2

PISTON ROD

1шт.

4

149636C1

BUSHING,19.25mm ID x 25.46mm OD x 13mm L

pivot

2шт.

5

219-14

LUBE NIPPLE,1/4" NPTF

Straight

2шт.

80362C1

SEAL KIT

seal, also includes 1266757C1 retaining ring not used in this application, Includes: Ref. 6-10

1шт.

6

403845R1

WIPER SEAL

seal, piston rod

1шт.

7

1261097C1

WIPER SEAL

oil

1шт.

8

238-5133

O-RING,0.103" Thk x 1.799" ID, -133, Cl 5, 75 Duro

1шт.

9

145387C1

WASHER

piston rod quad ring

1шт.

10

145388C1

SEALING RING

SEALRING quad, piston rod

1шт.

Выбрано товаров: 12