Запчасти Case IH 8940 (2-026) - MANIFOLDS, 6TA-830 EMISSIONS CERTIFIED ENGINE, 8940 AND 8950 TRACTORS ONLY (02) - ENGINE

Схема запчастей Case IH 8940 - (2-026) - MANIFOLDS, 6TA-830 EMISSIONS CERTIFIED ENGINE, 8940 AND 8950 TRACTORS ONLY (02) - ENGINE
1
3
8
14
16
12
17
15
13
5
7
11
4
9
10
9
2
10
FIT
1:1
100%

Артикул

Название

Примечание

Количество

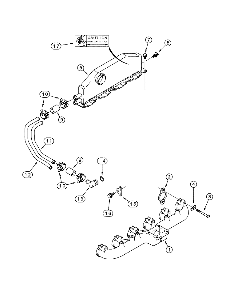
1

J932183

EXHAUST MANIFOLD

exhaust, replaces J929779

1шт.

2

J929012

GASKET,0.5mm Thk

exhaust manifold, 0.54 mm thick

6шт.

2

J932063

MANIFOLD GASKET,1.78mm Thk

exhaust manifold, high temperature, 1.78 mm thick, 8950 Tractor, if used

6шт.

3

J929537

BOLT

BOLT - hex, special, exhaust

12шт.

4

J914708

LOCKING PLATE

manifold bolt, exhaust

12шт.

5

J924732

AFTERCOOLER

air intake, aftercooler

1шт.

6

J823494

SEALANT

Three Bond Silver RTV Adhesive/Sealer, 3 ounce tube, intake manifold aftercooler, not shown

1шт.

7

J918109

FLANGE BOLT,Hex, M8 x 1.25 x 25mm

Special, Intake aftercooler to cylinder head

18шт.

8

J909394

COCK, DRAIN

VALVE - air bleed, intake, aftercooler

1шт.

9

J918611

HOSE,18.50 mm ID x 63.00 mm

Supply Tube to Intake Aftercooler

4шт.

10

J918163

CLIP

CLAMP - spring type, hose retaining, intake aftercooler

8шт.

11

J906436

TUBE,19.05 mm OD x 385.3 mm L

TUBE - water inlet, intake aftercooler

1шт.

12

J908402

TUBE,19.05 mm OD

TUBE - water outlet, intake aftercooler

1шт.

13

J917394

ELBOW

CONNECTOR - water inlet, intake aftercooler

2шт.

14

238-5120

O-RING,0.103" Thk x 0.987" ID, -120, Cl 5, 75 Duro

Intake aftercooler

2шт.

15

J906439

PLATE

mounting, intake aftercooler

1шт.

16

845-8016

BOLT,Hvy Hex, M8 x 16mm, Cl 8.8

Intake aftercooler

1шт.

17

J910778

DECAL

Caution, open during fill, connector to block, intake aftercooler

1шт.

Выбрано товаров: 18