Запчасти Case IH 8940 (2-054) - CYLINDER BLOCK, 6TA-830 EMISSIONS CERTIFIED ENGINE, 8940 TRACTOR ONLY (02) - ENGINE

Схема запчастей Case IH 8940 - (2-054) - CYLINDER BLOCK, 6TA-830 EMISSIONS CERTIFIED ENGINE, 8940 TRACTOR ONLY (02) - ENGINE
22
9
6
18
8
10
5
21
19
12
8
12
26
17
27
7
14
7
15
7
28
14
25
23
3
11
16
4
30
24
13
7
14
29
20
2
1
FIT
1:1
100%

Артикул

Название

Примечание

Количество

319993A1

ENGINE ASSEMBLY

ENGINE ASSY 6TA-830 Emissions Certified, complete, for service order basic engine below

1шт.

243307A1

BASIC ENGINE

ASSEMBLY - includes all except starter, alternator, fan, fan belt, air cleaner, muffler, exhaust manifold, flywheel and housing, oil fill and dipstick, fuel injection pump, injectors and lines, front pulley, belt tensioner, turbocharger and aftercooler

1шт.

243307A1R

REMAN-BASIC ENGINE

For 8930, 8940, W/O Accessory Drive Hole in Gear Housing. Remanufactured Basic Engine Assembly, assembly includes short block assembly, cylinder head, valve cover, front cover, oil pan, water pump, thermostat and gasket kit to transfer trim parts

1шт.

243307A1C

CORE-BASIC ENGINE

Return Number

1шт.

47466015R

REMAN-BASIC ENGINE

For 8930, 8940, Wiith Accessory Drive Hole in Gear Housing. Remanufactured Basic Engine Assembly, assembly includes short block assembly, cylinder head, valve cover, front cover, oil pan, water pump, thermostat and gasket kit to transfer trim parts

1шт.

47466015C

CORE-BASIC ENGINE

Return Part Number

1шт.

47465967R

REMAN-BASIC ENGINE

For 8950 Only, W/O Accessory Drive Hole in Gear Housing. Remanufactured Basic Engine Assembly, assembly includes short block assembly, cylinder head, valve cover, front cover, oil pan, water pump, thermostat and gasket kit to transfer trim parts

1шт.

47465967C

CORE-BASIC ENGINE

Return Number

1шт.

47465954R

REMAN-BASIC ENGINE

For 8950 Only, Wiith Accessory Drive Hole in Gear Housing. Remanufactured Basic Engine Assembly, assembly includes short block assembly, cylinder head, valve cover, front cover, oil pan, water pump, thermostat and gasket kit to transfer trim parts

1шт.

47465954C

CORE-BASIC ENGINE

Return Number

1шт.

JR934600

ENGINE, EXCHANGE

Engine (Exchange) Block Assembly - short, remanufactured, component parts shown on this Figure do not apply to the remanufactured assembly

1шт.

JC934600

CORE-ENGINE

Return Part Number

1шт.

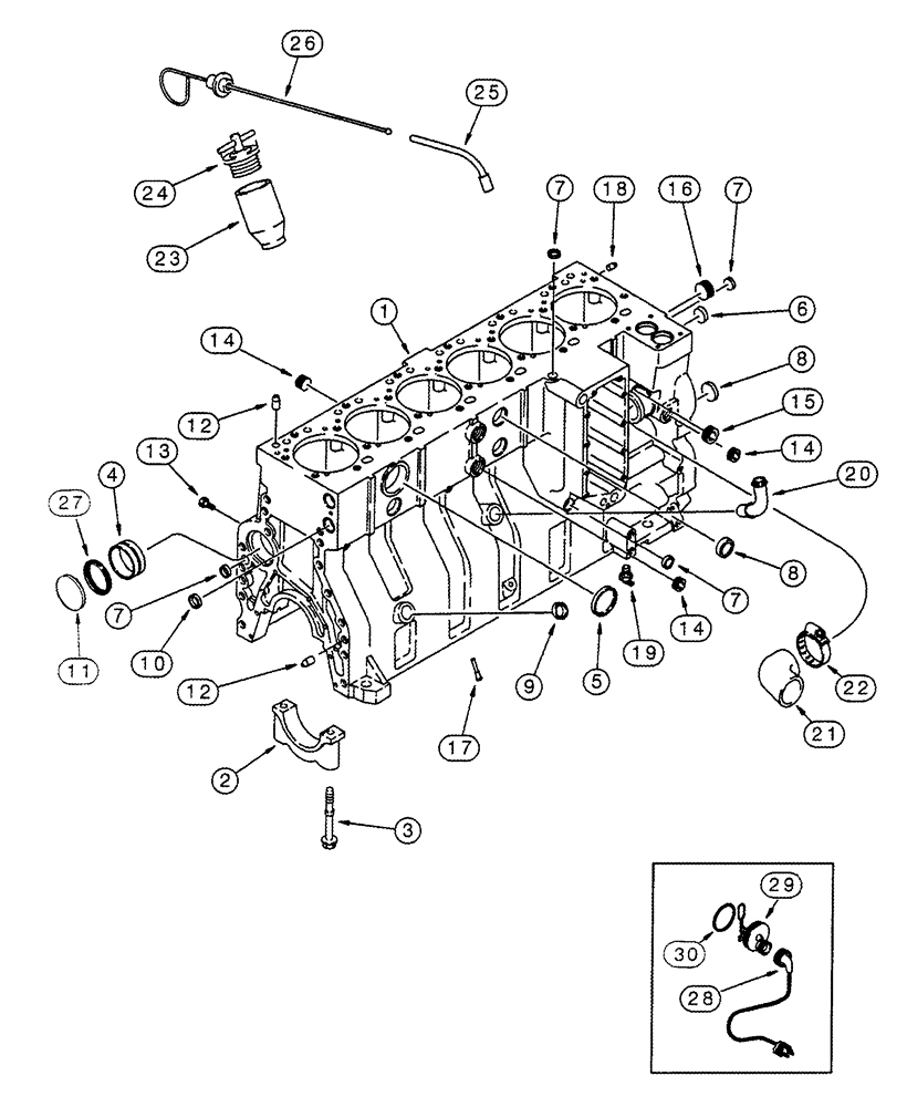
1

J934600

SKELETON ENGINE

BLOCK ASSEMBLY - short, new, includes stripped block, pistons, connecting rods and bearings, crankshaft and bearings, Includes: Ref. 2-20

1шт.

2

J917313

BEARING CAP

bearing, main

7шт.

3

J916369

FLANGE BOLT,Hex, M14 x 2 x 128mm, Cl 10.9

Bearing cap to block

14шт.

4

J945329

CAMSHAFT BEARING,60.08mm ID x 64.13mm OD x 25mm L

camshaft, see Figure 2-48, item 6, replaces J901685 bushing

7шт.

5

A77782

PLUG

expansion, 58 mm OD

1шт.

6

A77586

PLUG

expansion, 28.9 mm OD

1шт.

7

A77506

PLUG

expansion, 21 mm OD

4шт.

8

J905401

PLUG

expansion, 35 mm OD

4шт.

9

J920706

PLUG

expansion, 22 mm OD

1шт.

10

A77530

PLUG

expansion, 30 mm OD

2шт.

11

41-3044

PLUG,Exp, 2 3/4"

1шт.

12

J901846

PIN,12.01mm OD x 24mm L

dowel

4шт.

13

J906619

PLUG,1/8" - 27

hex, 1/8 inch PT

6шт.

14

A77429

PLUG

hex socket, 1/2 inch PT

5шт.

15

A77505

PLUG

hex socket, 3/4 inch PT

2шт.

16

A77533

PLUG

hex socket, 1 inch PT

1шт.

17

J928031

NOZZLE,8.5mm OD x 30mm L

piston cooling

12шт.

18

J900257

PIN,10.01mm OD x 16mm L

dowel, 16 mm long

2шт.

19

217-103

COCK, DRAIN

VALVE - 1/4 inch PT, coolant

1шт.

20

J903744

PIPE FITTING,22.42 mm ID x 28 mm OD x 90.2, 64 mm L

TUBE - turbocharger oil drain

1шт.

21

J920762

ELBOW

HOSE - 79 mm (3-1/8 inch), water

1шт.

22

J918521

HOSE CLAMP,59mm - 83mm

adj, 1-13/16 - 2-3/4 inch dia, coolant

1шт.

23

J905408

TUBE,35.13 mm ID x 52.39 mm OD x 100 mm L

oil filler

1шт.

24

A77424

FILLER CAP

CAP - oil fill tube

1шт.

25

J928896

TUBE,9.52 mm OD x 239.2, 123.7 mm L

oil dipstick

1шт.

26

J928895

DIPSTICK

oil

1шт.

27

J926048

O-RING,0.07" Thk x 2.614" ID, -38, Cl 5, 75 Duro

sealing, 66 mm ID

1шт.

196804A1

KIT

engine block heater, Includes: All Ref. No. Below

1шт.

28

196466A1

ELECTRIC CABLE

engine block heater

1шт.

29

NSS

NOT SOLD SEPARAT

ELEMENT - engine block heater, 120 volt

1шт.

30

J910517

O-RING

engine block heater sealing

1шт.

31

L18337

CABLE TIE,9.95"-12.1" lg

CABLE STRAP tie, 15 inch, not shown, engine block heater

1шт.

Выбрано товаров: 44