Запчасти Case IH MAGNUM 180 (90.118.05[01]) - CAB, STEPS - BSN ZCRH01701 (90) - PLATFORM, CAB, BODYWORK AND DECALS

Схема запчастей Case IH MAGNUM 180 - (90.118.05[01]) - CAB, STEPS - BSN ZCRH01701 (90) - PLATFORM, CAB, BODYWORK AND DECALS
17
12
14
2
10
13
15
9
2
14
11
home
4
12
18
16
1
3
7
8
5
14
6
FIT
1:1
100%

Артикул

Название

Примечание

Количество

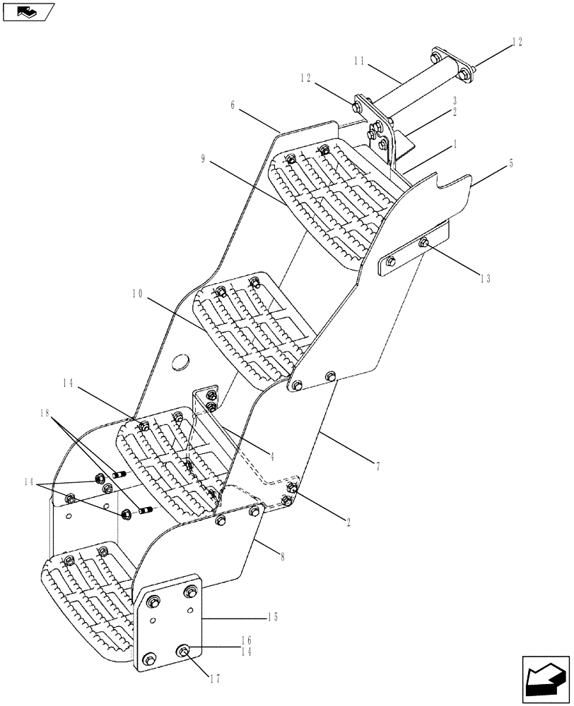
1

84196541

BRACKET, SUPPORTING

Upper Steps

1шт.

2

844-10025

BOLT,Hex, M10 x 25mm, Cl 8.8

6шт.

3

84381041

BRACKET, SUPPORTING

Fuel Tank Hold Down

1шт.

4

84196543

BRACKET, SUPPORTING

Lower Steps

1шт.

5

87341258

RISER

Rear Upper Step

1шт.

6

84211792

RISER

Front Upper Steps

1шт.

7

87731280

RISER

Rear Center Steps

1шт.

8

84197984

RISER

Lower Step

2шт.

9

87310397

STEP

1шт.

10

87301185

STEP

3шт.

11

84122286

SUPPORT

1шт.

12

844-12025

BOLT,Hvy Hex, M12 x 25mm, Cl 8.8

4шт.

13

614-10035

BOLT,Hex, M10 x 1.5 x 35mm, Cl 8.8, Full Thd

16шт.

14

825-2410

FLANGE NUT,M10 x 1.5, Flg, Cl 8

26шт.

15

87486039

RISER

2шт.

16

86642464

WASHER,11mm ID x 30mm OD x 2.5mm Thk

8шт.

17

614-10050

BOLT,Hex, M10 x 1.5 x 50mm, Cl 8.8, Full Thd

4шт.

18

86533693

STUD,M10 x 47, Cl 8.8

2шт.

Выбрано товаров: 18