Запчасти Case IH MAGNUM 180 (55.100.17[01]) - HARNESS, CAB (55) - ELECTRICAL SYSTEMS

Схема запчастей Case IH MAGNUM 180 - (55.100.17[01]) - HARNESS, CAB (55) - ELECTRICAL SYSTEMS
6
13
25
7
3
35
24
9
37
33
21
2
6
8
5
40
22
16
34
home
30
25
37
23
27
39
26
11
10
17
36
4
20
38
12
14
29
19
1
28
18
15
37
31
32
FIT
1:1
100%

Артикул

Название

Примечание

Количество

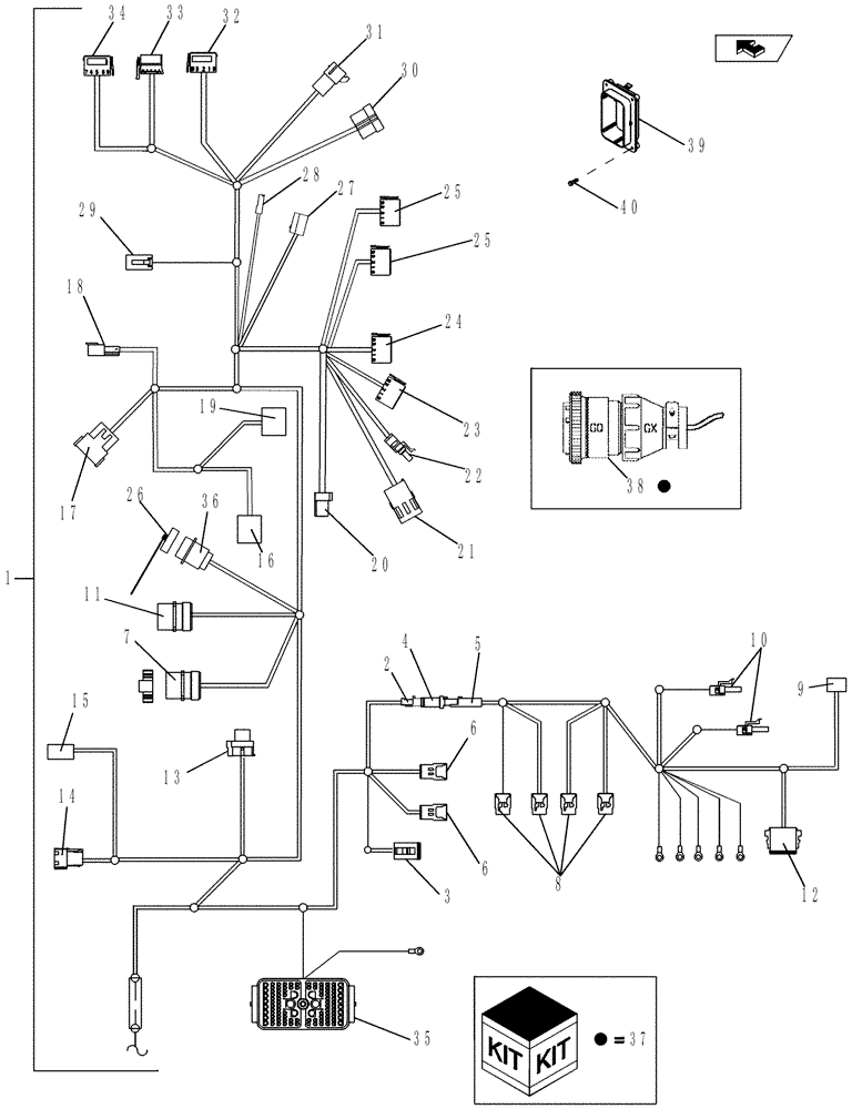
1

84186854

HARNESS

Cab, Inc. 2 - 36

1шт.

2

631801C1

CONNECTION

1шт.

3

225389C1

CONNECTOR, ELEC

CONNECTOR Power Seat

1шт.

4

113699A1

RECTIFIER

Assembly

1шт.

5

739070C1

CONNECTOR, ELEC

CONNECTOR

1шт.

6

144421A1

CONNECTING BLOCK

For Operator and Window Blocks

2шт.

7

225292C1

DUST CAP

CAN Second Diagnostics, With Teather

1шт.

8

182163A1

ELECTRO/HYD CONTACT

Micro Relay 6-Way

4шт.

9

82867472

WIRE CONNECTOR,Female

Handbrake

1шт.

10

245488C1

ELEC CONNECTOR,6 Pin

Egress Lighting

2шт.

11

310057A1

ELEC CONNECTOR,Male, 9 Pin

CAN Tractor Diagnostics, Teather and Cap

1шт.

12

225402C1

CONNECTOR, ELEC

CONNECTOR Electronic Flasher

1шт.

13

87410946

MULTIPOLE CONNECTOR,Female, 34 Cavities

Right Arm Console

1шт.

14

179483A1

CONNECTOR, ELEC

CONNECTOR To HVAC Unit

1шт.

15

239451A1

MULTIPOLE CONNECTOR,Female, 4 Pin

HVAC CAN BUS

1шт.

16

87382923

ELEC CONNECTOR,Male, 10 Cavities

To Autoguidance Harness

1шт.

17

223690A1

CONNECTOR, ELEC

CONNECTOR To Large Display Harness

1шт.

18

276426A1

ELEC CONNECTOR,Male, 3 Pin

Autoguidance to Large Display

1шт.

19

87382919

WIRE CONNECTOR,Male, 6 Cavities

To ISO11783 Harness

1шт.

20

449797C1

CONTACT HOUSING,Male, 6 Pole

CONNECTOR Blower Switch

1шт.

21

245485C1

ELEC CONNECTOR,Male, 3 Pin

ATC Blower

1шт.

22

245484C1

ELEC CONNECTOR,3 Pin

HVAC Temperature Control

1шт.

23

87426882

CONNECTOR, ELEC

CONNECTOR Defog Switch

1шт.

24

87426892

CONNECTOR, ELEC

CONNECTOR Auto A/C Switch

1шт.

25

87426886

CONNECTOR, ELEC

CONNECTOR EHR/EDC Switch and Standard A/C Switch

1шт.

26

225162C1

PLUG

Auxillary Power

1шт.

27

877291R1

ELEC CONNECTOR,Female

Cigar Lighter

1шт.

28

279658A1

CONNECTOR, ELEC

CONNECTOR

1шт.

29

239451A1

MULTIPOLE CONNECTOR,Female, 4 Pin

Right Side Wiper

1шт.

30

449797C1

CONTACT HOUSING,Male, 6 Pole

CONNECTOR Front Wiper

1шт.

31

227393A1

CONNECTOR, ELEC

CONNECTOR Intermittant Front Wiper

1шт.

32

87426882

CONNECTOR, ELEC

CONNECTOR Strobe / Beacon

1шт.

33

375601A1

CONNECTOR, ELEC

CONNECTOR Power Mirrors

1шт.

34

87426885

CONNECTOR, ELEC

CONNECTOR Rear Wiper

1шт.

35

437551A1

ELEC CONNECTOR,Male, 102 Pin

To Main Chassis Harness

1шт.

36

225164C1

ELEC CONNECTOR

Auxiliary Power

1шт.

37

719641006

DIA KIT, TRACTOR

Auxiliary Power Connector, Inc. 38

1шт.

38

187103A1

ELEC CONNECTOR

1шт.

39

437550A1

FLANGE

1шт.

40

780-34319

SELF-TAP SCREW,Hex Wash Hd, M4.8 x 19

4шт.

Выбрано товаров: 40