Запчасти Case IH MAGNUM 190 (35.124.01) - VALVE ASSEMBLY, HITCH - BSN ZCRH01492 (35) - HYDRAULIC SYSTEMS

Схема запчастей Case IH MAGNUM 190 - (35.124.01) - VALVE ASSEMBLY, HITCH - BSN ZCRH01492 (35) - HYDRAULIC SYSTEMS
16
11
home
19
7
18
1
10
33
17
9
20
28
13
2
25
12
34
5
35
4
27
6
29
15
30
32
3
24
21
14
31
22
8
23
26
36
FIT
1:1
100%

Артикул

Название

Примечание

Количество

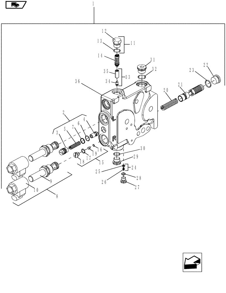
1

87331245

VALVE SECTION

ASSY, Hitch, Inc. 1 - 36

1шт.

87331245R

REMAN-HYD VALVE

MAGNUM 180, MAGNUM 190, MAGNUM 210, MAGNUM 225, ALL TIER 4 ZARH06086 AND AFTER VALVE ASSEMBLY, HITCH - BSN ZCRH01492

1шт.

87331245C

CORE-VALVE HYD

Return Number

1шт.

1

47434177R

REMAN-HYD VALVE

Reman For New P/N 87331245, Assy, Hitch

1шт.

1

47434177C

CORE-VALVE HYD

Return Part Number

1шт.

2

1542563C1

KIT

Inc. 3 - 7

1шт.

3

1994580C1

PLUG

Logic Check

1шт.

4

1543329C1

VALVE POPPET,7mm ID x 13.8mm OD x 27mm L

Logic Check

1шт.

5

1994581C1

SPRING,6.1mm OD x 31.1mm L

Logic Check

1шт.

6

238-6015

O-RING,0.07" Thk x 0.551" ID, -15, Cl 6, 90 Duro

1шт.

7

G108723

RING,14.34mm ID x 16.94mm OD x 1.32mm Thk

Back-Up

1шт.

8

87737701

SOLENOID

Inc. 9 - 10

2шт.

9

87608471

CARTRIDGE

Cartridge Flow Control

1шт.

10

87608473

COIL

Proportional Flow Control

1шт.

11

385520A1

PLUG,Hex, 13.05mm ID x 22.23mm OD x 23.5mm L

Inc. 12 - 13

1шт.

12

385521A1

PLUG

1шт.

13

237-6008

O-RING,0.087" Thk x 0.644" ID, -908, Cl 6, 90 Duro

1шт.

14

337425A3

VALVE, PRESSURE RELI

EF

1шт.

15

87619813

CHECK VALVE,1/2" - 20

Inc. 16 - 19

1шт.

16

100-2125

SNAP RING,M25, Int

1шт.

17

237-6005

O-RING,0.072" Thk x 0.414" ID, -905, Cl 6, 90 Duro

1шт.

18

NSS

NOT SOLD SEPARAT

VALVE, Check

1шт.

19

NSS

NOT SOLD SEPARAT

POPPET

1шт.

20

436854A1

SPRING,15.11mm OD x 63.35mm L

1шт.

21

87332504

SPOOL

1шт.

22

218-5211

PLUG,Hex Soc, 7/8"-14 ORB

Inc. 23

1шт.

23

237-6010

O-RING,0.097" Thk x 0.755" ID, -910, Cl 6, 90 Duro

1шт.

24

86994122

POPPET

Inc. 25 - 26

1шт.

25

446404A1

PIN,8.65mm OD x 5.46mm L

Load Sense

1шт.

26

446405A1

SPRING

Load Sense

1шт.

27

221573A1

PLUG,Hex Soc, M12 x 1.5, ORB

Incl. 28

1шт.

28

637-63093

O-RING,2.2mm Thk x 9.3mm ID, Cl 6, 90 Duro

1шт.

29

221578A1

PLUG,M18 x 1.5 ORB

Inc. 30

1шт.

30

637-63153

O-RING,2.2mm Thk x 15.3mm ID, Cl 6, 90 Duro

1шт.

31

221579A1

PLUG,M22 x 1.5 ORB

Inc. 32

1шт.

32

637-63193

O-RING,2.2mm Thk x 19.3mm ID, Cl 6, 90 Duro

1шт.

33

87518992

PLUG

Inc. 34 - 35

1шт.

34

133519C1

SCREEN

1шт.

35

NSS

NOT SOLD SEPARAT

PLUG, Orifice

1шт.

36

NSS

NOT SOLD SEPARAT

VALVE BODY, Hitch

1шт.

Выбрано товаров: 40