Качественные детали и логистика
Оригинальные и аналоговые запчасти с доставкой по России, Казахстану и Беларуси
©2022 PartSell ООО "Система" ИНН 2463123282 ОГРН 1212400004838
Центральный офис: г. Красноярск, Академика Киренского, д.87, пом.4
Телефон: 8 (800) 777-65-74 Email: zakaz@partsell.ru
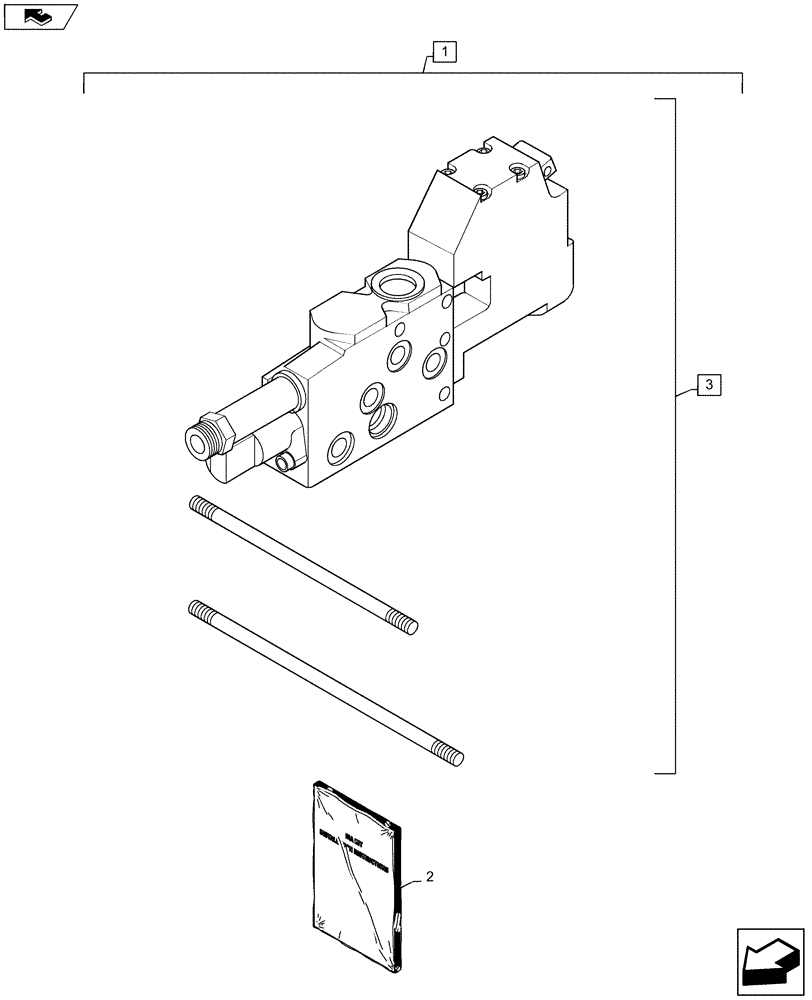
(88.035.01) - DIA KIT, MID MOUNT VALVE 3RD SECTION
№
Артикул
Название
Примечание
Количество
1
719892006
DIA KIT, TRACTOR
Middle Mount Valve, 3rd Section, Incl 2 - 3
1шт.
2
84160847
INSTRUCTION
Sheet, Middle Mount Valve 3rd Section
3
84214460
Middle Mount Valve Single Slice
Выбрано товаров: 0