Запчасти Case IH MAGNUM 200 (41.200.AT[04]) - HYDRAULIC STEERING SYSTEM - CVT, NON-SUSPENDED AXLE (41) - STEERING

Схема запчастей Case IH MAGNUM 200 - (41.200.AT[04]) - HYDRAULIC STEERING SYSTEM - CVT, NON-SUSPENDED AXLE (41) - STEERING
6
9
15
25
14
13
12
22
20
5
24
10
21
23
30
26
8
11
31
18
16
29
31
27
7
2
19
17
4
31
1
28
9
3
FIT
1:1
100%

Артикул

Название

Примечание

Количество

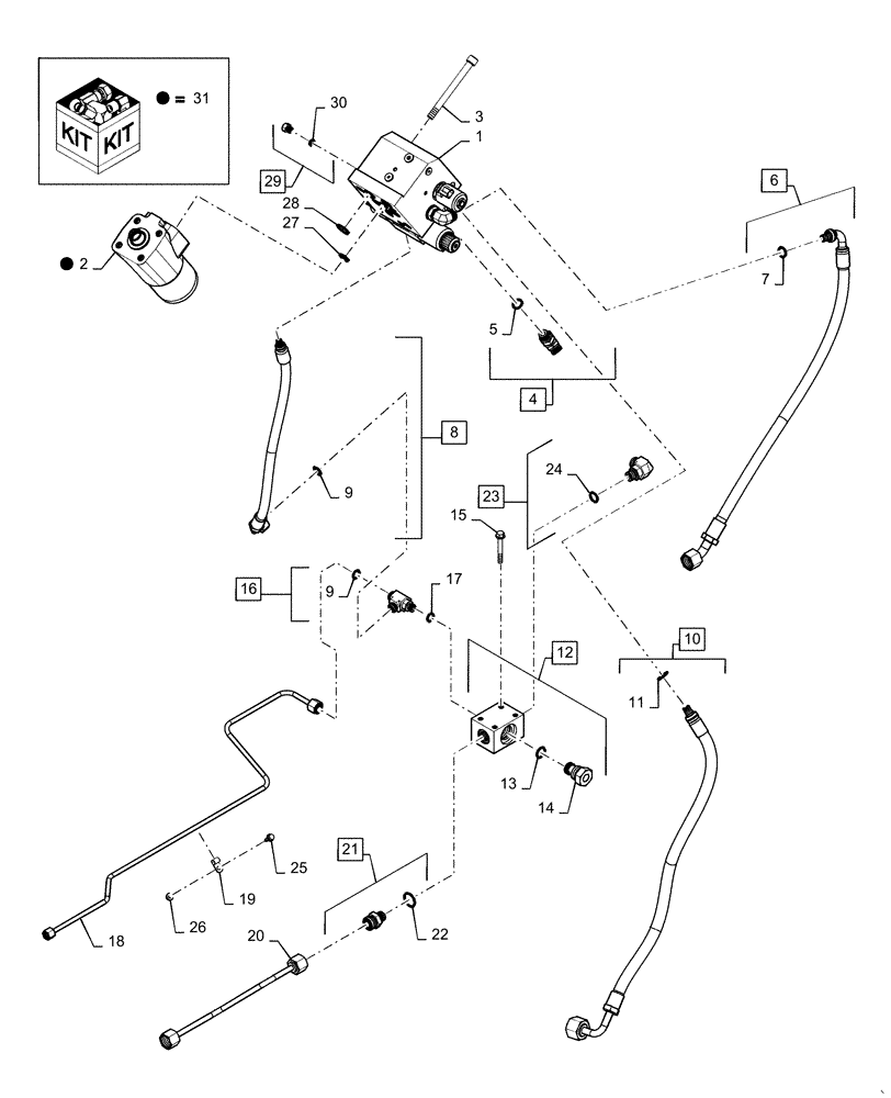
1

47650235

VALVE

Assy, CCLS, Autoguidance

1шт.

1

47650235R

REMAN-HYD VALVE

Reman Assy, CCLS, Autoguidance

1шт.

1

47650235C

CORE-VALVE HYD

Core Return Number

1шт.

2

84552393

STEERING VALVE

293CC/REV AG; Incl 31

1шт.

3

86625211

HEX SOC SCREW,M12 x 1.75 x 130mm, Cl 8.8

2шт.

4

87345924

FITTING,45 Degree, M18 x 1.5 ORB x -08 Fem STC

45 DEG- M18 ORB x -8 STC; Incl 5

3шт.

5

637-63153

O-RING,2.2mm Thk x 15.3mm ID, Cl 6, 90 Duro

3шт.

6

47481664

HYDRAULIC HOSE

Steering Supply; Incl 7

1шт.

7

9992069

O-RING,0.07" Thk x 0.614" ID, -16, Cl 6, 90 Duro

2шт.

8

84174370

HYDRAULIC HOSE

Steering LS; Incl 9

1шт.

9

9993141

O-RING,0.07" Thk x 0.364" ID, -12, Cl 6, 90 Duro

2шт.

10

84174369

HYDRAULIC HOSE

Steering Return; Incl 11

1шт.

11

9991976

O-RING,0.07" Thk x 0.739" ID, -18, Cl 6, 90 Duro

1шт.

12

87472910

VALVE PRESSURE RELIE

Steering; Incl 13, 14

1шт.

13

238-5124

O-RING,0.103" Thk x 1.237" ID, -124, Cl 5, 75 Duro

1шт.

14

242569A1

CARTRIDGE

1шт.

15

844-8060

BOLT,Hex Flng, M8 x 1.25 x 60mm, Cl 8.8

3шт.

16

87499945

BRANCH TEE

1MM ORIFICE, M14 x 11/16; Incl 9, 17

1шт.

17

637-63113

O-RING,2.2mm Thk x 11.3mm ID, Cl 6

1шт.

18

84230055

HYD TUBE,0.312" OD

Steering LS

1шт.

19

515-2179

CLAMP,5/16", Insul, 1/4" Bolt

1шт.

20

84221671

HYD TUBE,0.375" OD

Lube

1шт.

21

86579679

HYD CONNECTOR,1"-14 ORFS x M18 x 1.5 ORB

Incl 7, 22

1шт.

22

86598101

O-RING,2.2mm Thk x 15.3mm ID, Cl 6, 90 Duro

1шт.

23

700-305

ELBOW,90 Degree Elbow, 13/16" - 16 Male ORFS x M18 x 1.5 Male ORB

Incl 24

1шт.

24

70923841

O-RING,0.07" Thk x 0.489" ID, -14, Cl 6, 90 Duro

1шт.

25

844-6016

BOLT,Hvy Hex, M6 x 16mm, Cl 8.8

1шт.

26

825-2406

FLANGE NUT,M6 x 1, Cl 8.8

1шт.

27

238-6113

O-RING,0.103" Thk x 0.549" ID, -113, Cl 6, 90 Duro

1шт.

28

238-6117

O-RING,0.103" Thk x 0.799" ID, -117, Cl 6, 90 Duro

3шт.

29

9672438

PLUG,7/16" - 20 ORB

Incl 30

1шт.

30

165202

O-RING,0.072" Thk x 0.351" ID, -904, Cl 6, 90 Duro

1шт.

31

87454545

SEAL KIT

Steering Valve

1шт.

Выбрано товаров: 33