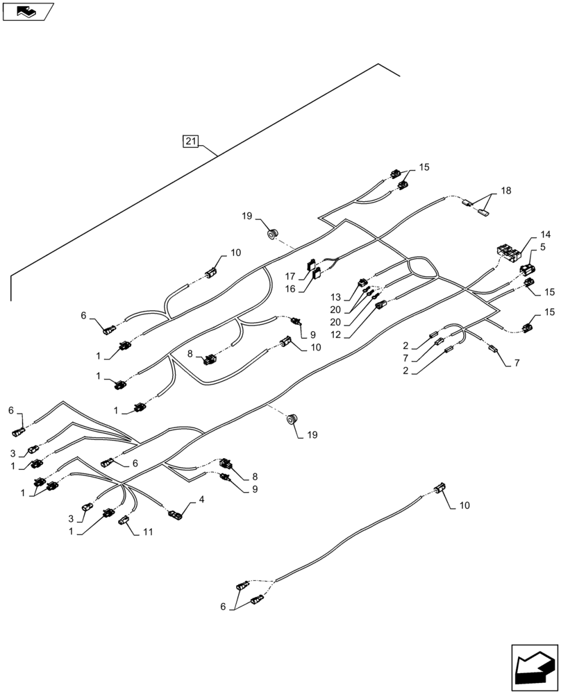
Запчасти Case IH MAGNUM 200 (55.510.AH[03]) - WIRE HARNESS, CAB ROOF NA - ASN ZERH08100 (55) - ELECTRICAL SYSTEMS

Схема запчастей Case IH MAGNUM 200 - (55.510.AH[03]) - WIRE HARNESS, CAB ROOF NA - ASN ZERH08100 (55) - ELECTRICAL SYSTEMS
20
6
3
19
21
6
8
6
17
8
1
18
12
9
1
7
3
10
4
9
5
7
11
15
15
15
20
13
2
1
16
14
1
6
19
2
home
1
10
10
1
FIT
1:1
100%

Артикул

Название

Примечание

Количество

1

82012083

WIRE CONNECTOR,Female

Lighting And Signals

7шт.

1

82012085

TERMINAL CONNECTOR,Female, Tin, 0.75 - 1.5mm

14шт.

2

84388514

ELEC CONNECTOR

X - 101 , X - 103

2шт.

2

84165997

TERMINAL

2шт.

3

84817101

ELEC CONNECTOR,Male, 16 - 20 SAE

Power Mirrors X - 112 / 113

2шт.

3

87697946

CONNECTOR, ELEC

6шт.

3

84817102

LOCKING TAB,Wedge Lock, 3-Pin

2шт.

4

87382911

WIRE CONNECTOR,Male, 3 Cavities

X - 2094

1шт.

4

84395362

TERMINAL,Apex, 2.80mm, Male, 0.50 - 0.80mm2 Wire Range

3шт.

5

87382918

WIRE CONNECTOR,Female, 6 Cavities

X - 111

1шт.

5

84395358

TERMINAL

6шт.

6

87687244

ELEC CONNECTOR

Work Lights

5шт.

6

87680675

TERMINAL

8шт.

6

82012084

SEAL,1.4mm ID

2шт.

7

87688695

ELEC CONNECTOR,Female, 1 Cavity

X - 100, X - 102

2шт.

7

87697660

TERMINAL

2шт.

8

87692862

ELEC CONNECTOR

Wipers

2шт.

8

87692876

CABLE TERMINAL,Female, Tin, 1 - 2mm

8шт.

8

87680701

SEAL

8шт.

9

87693744

WIRE CONNECTOR

Wiper Ground

2шт.

9

87692876

CABLE TERMINAL,Female, Tin, 1 - 2mm

2шт.

10

87695582

ELEC CONNECTOR,Female, 2 Pole

360 Lights

3шт.

10

87695921

CONTACT,Female, Nickel, 0.50 - 1.00mm

6шт.

10

84074638

LOCKING TAB,Locking Wedge, Green

3шт.

11

87696093

ELEC CONNECTOR,Female, 2 Cavities

X - 114

1шт.

11

87696954

TERMINAL,Female, Nickel, 0.35 - 1.50mm

2шт.

11

87696145

LOCKING TAB

1шт.

12

87697533

ELEC CONNECTOR

X - 094

1шт.

12

87697679

TERMINAL

2шт.

13

87697646

ELEC CONNECTOR

X - 091

1шт.

13

87693308

CONNECTION,ELECTRIC

3шт.

13

87705093

RETAINER

1шт.

14

87698645

ELEC CONNECTOR

X - 013

1шт.

14

87697766

TERMINAL

23шт.

14

87704911

RETAINER

2шт.

14

87704912

RETAINER

1шт.

15

87705606

ELEC CONNECTOR

Speakers

4шт.

15

87693329

TERMINAL

8шт.

15

87705061

RETAINER

4шт.

16

87709371

ELEC CONNECTOR,Female, 8 Cavities

X - 087

1шт.

16

87697644

TERMINAL CONNECTOR

8шт.

17

87709660

ELEC CONNECTOR,Female, 2 Cavities

X - 095

1шт.

17

87697644

TERMINAL CONNECTOR

8шт.

18

84120021

ELEC CONNECTOR,Female, 2 Cavities

X - 165

2шт.

19

182045A1

GROMMET

2шт.

20

1964705C1

TERMINAL CONNECTOR

M8 Ring Terminal

3шт.

21

47670926

WIRE HARNESS

Cab Roof; Incl 1 - 20

1шт.

Выбрано товаров: 47