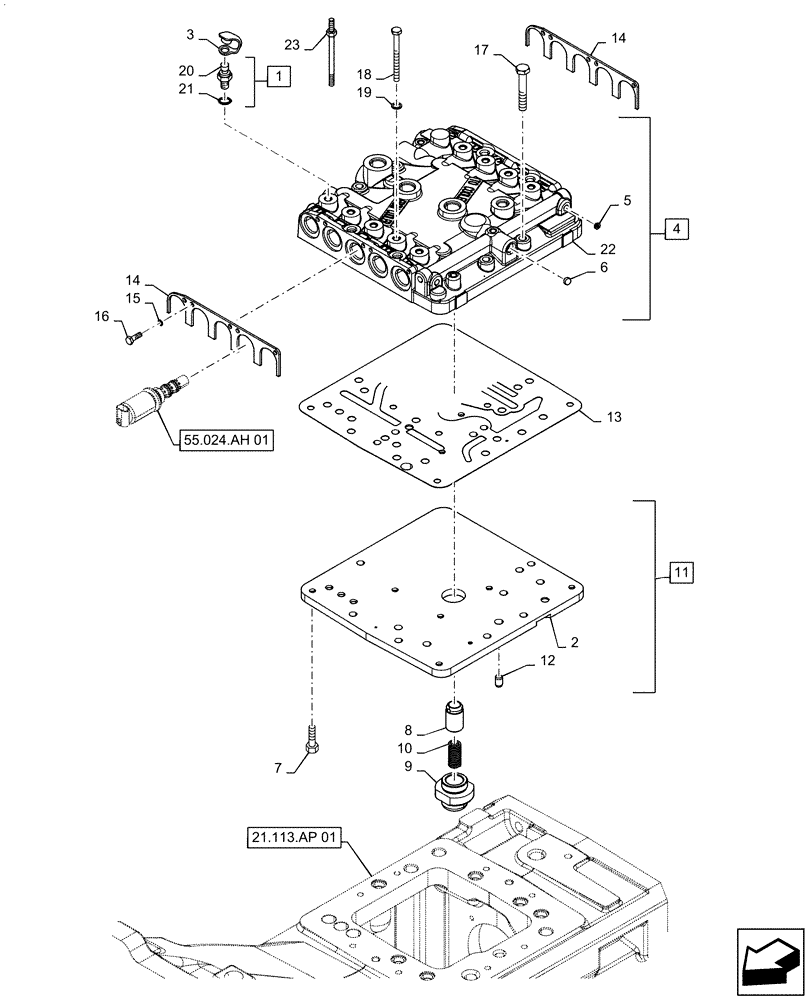
Запчасти Case IH MAGNUM 200 (21.135.AQ[03]) - TRANSMISSION CONTROL VALVE, POWERSHIFT (21) - TRANSMISSION

Схема запчастей Case IH MAGNUM 200 - (21.135.AQ[03]) - TRANSMISSION CONTROL VALVE, POWERSHIFT (21) - TRANSMISSION
21.113.ap 01
12
6
18
11
23
22
20
14
1
13
19
14
9
8
2
4
21
17
3
5
7
16
15
55.024.ah 01
10
FIT
1:1
100%

Артикул

Название

Примечание

Количество

1

5185423

COUPLING

ASSY, Incl 20, 21

5шт.

2

NSS

NOT SOLD SEPARAT

Plate, Incl in 11

1шт.

3

5185424

DUST CAP,11.5mm ID x 81.5 L, Black

5шт.

4

87315898

TOP COVER

ASSY, Incl 5, 6, 22

1шт.

5

14326004

PLUG,Hex Socket, M10 x 1.25 x 11.00mm, STL, DAC

4шт.

6

14328401

PLUG,M14, Tapered

1шт.

7

14302831

HEX SOC SCREW,M8 x 1.25 x 18mm, Cl 10.9, Full Thd

8шт.

8

5187494

BY-PASS VALVE

1шт.

9

5183477

BODY

1шт.

10

5176720

SPRING,Compression, 17mm OD x 50mm L

1шт.

11

87342776

PLATE

Incl 2, 12

1шт.

12

5153109

DOWEL,10mm OD x 15mm L

2шт.

13

5194959

GASKET,0.5mm Thk

1шт.

14

47126217

PLATE

2шт.

15

11197779

BELLEVILLE WASHER,M6 Bolt Size x 12mm OD x 1.2mm Thk

10шт.

16

14433121

HEX SOC SCREW,M6 x18mm, Cl 8.8, Full Thd

10шт.

17

11343721

BOLT,Hex, M10 x 65, 8.8

3шт.

18

47126246

BOLT,Hex, M10 x 1.25 x 78mm, Spcl

4шт.

19

14437685

O-RING,9.30mm ID x 2.40mm

4шт.

20

NSS

NOT SOLD SEPARAT

Coupling, Incl in 1

1шт.

21

14437785

O-RING,11.3mm ID x 2.4mm

5шт.

22

NSS

NOT SOLD SEPARAT

Cover, Incl in 4

1шт.

23

47610562

STUD

1шт.

Выбрано товаров: 0