Запчасти Case IH MAGNUM 210 (55.640.11) - AUTOGUIDANCE CONTROL MODULE & MOUNTING (55) - ELECTRICAL SYSTEMS

Схема запчастей Case IH MAGNUM 210 - (55.640.11) - AUTOGUIDANCE CONTROL MODULE & MOUNTING (55) - ELECTRICAL SYSTEMS
6
home
3
4
1
5
FIT
1:1
100%

Артикул

Название

Примечание

Количество

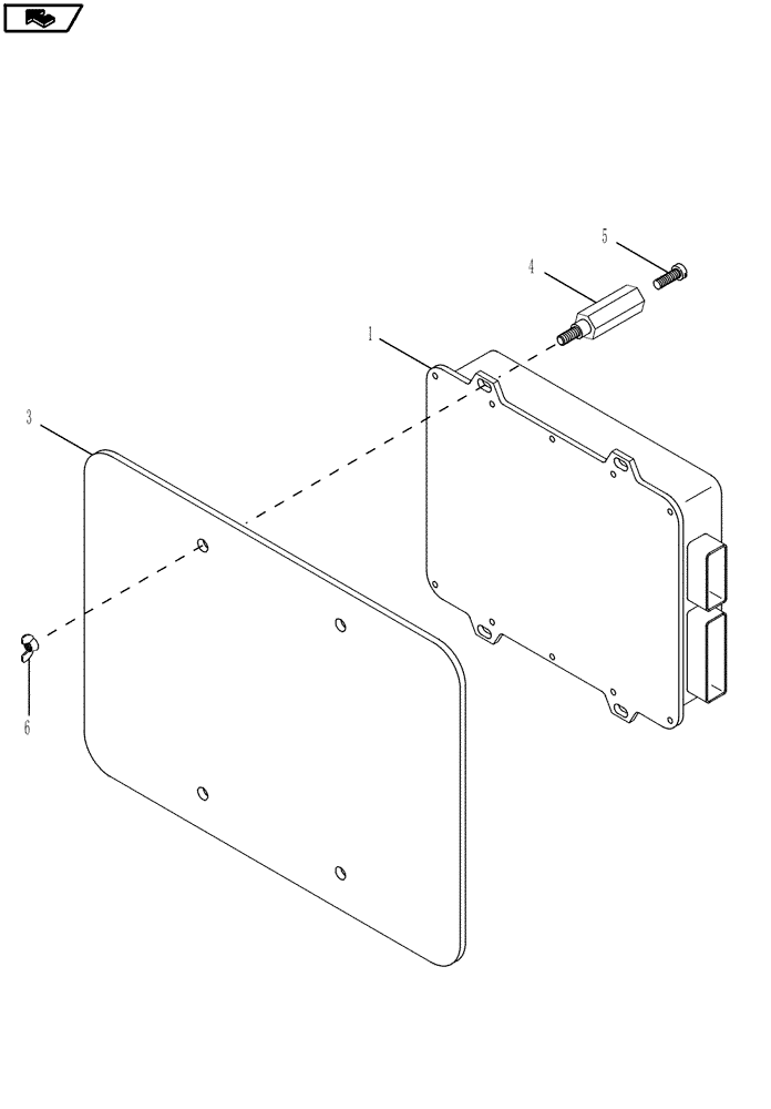
1

87518983

CONTROLLER

KIT Autoguidance

1шт.

1

87518983R

REMAN ELECT CONTROL

Remanufactured NAV II Control Module; For N.A. only

1шт.

1

87518983C

CORE-ELECTRONIC CONT

Return Number, MODULE - for N.A. Only

1шт.

3

87532159

COVER

Mounting

1шт.

4

87313014

SPACER,M8 x 1.25

4шт.

5

555-1

BOLT,Hvy Hex, M8 x 16mm, Cl 8.8

4шт.

6

84814892

WING NUT,M6 x 1.0

4шт.

Выбрано товаров: 7