Запчасти Case IH MAGNUM 220 (35.300.AB[02]) - HYDRAULIC OIL COOLER LINES - CVT (35) - HYDRAULIC SYSTEMS

Схема запчастей Case IH MAGNUM 220 - (35.300.AB[02]) - HYDRAULIC OIL COOLER LINES - CVT (35) - HYDRAULIC SYSTEMS
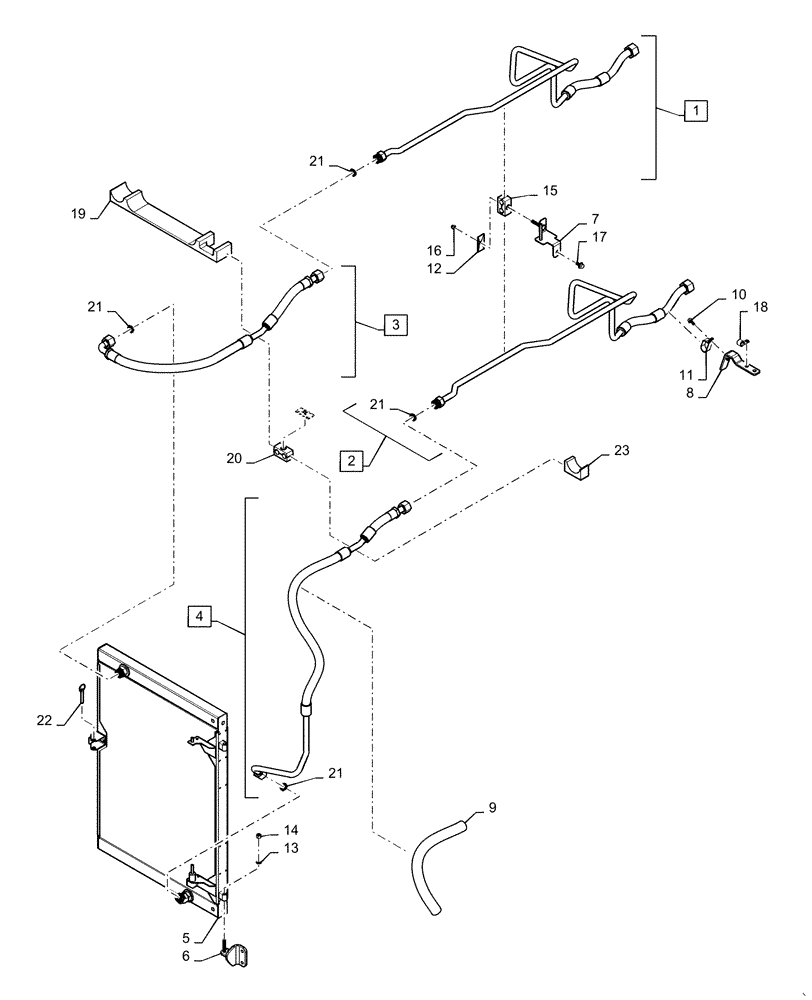
1
20
4
11
15
5
7
21
21
2
13
18
8
12
3
17
16
19
14
10
6
22
21
9
23
21
FIT
1:1
100%

Артикул

Название

Примечание

Количество

1

47544443

HYD TUBE

Oil Supply, CVT; Incl 21

1шт.

2

47544444

HYD TUBE

Oil Return, CVT; Incl 21

1шт.

3

47449194

HYDRAULIC HOSE

Oil Cooler Supply, CVT; Incl 21

1шт.

4

47449198

HYDRAULIC HOSE

Oil Cooler Return, CVT; Incl 21

1шт.

5

84230098

OIL COOLER

1шт.

6

84240620

BRACKET

Lower Hinge

1шт.

7

47449019

BRACKET

HVAC and Oil Routing

1шт.

8

47452382

BRACKET

Trans Cooler Line

1шт.

9

87350913

CONDUIT

1шт.

10

844-8020

BOLT,Hvy Hex, M8 x 20mm, Cl 8.8

1шт.

11

470375C1

CLAMP,1", Insul, 3/8" Bolt

1шт.

12

1347127C1

PLATE

Tube Clamp

3шт.

13

895-11008

WASHER,9mm ID x 16mm OD x 1.6mm Thk

1шт.

14

832-10408

NUT,M8 x 1.25, Cl 8.8

1шт.

15

87000140

CLAMP,Tube, 19.05mm

2 Hole 19.05-19.05 mm Dia Ribbed

2шт.

16

87301462

CROWN NUT,Crown, M8, Cl6

2шт.

17

844-8016

BOLT,Hex, M8 x 16mm, Cl 8.8

1шт.

18

516-22158

CLAMP,J, 11/16" Insul, 5/16" Bolt

1шт.

19

47431051

SEAL

Oil Cooler Plumbing

1шт.

20

118576A1

CLAMP

2 Hole

1шт.

21

238-6018

O-RING,0.07" Thk x 0.739" ID, -18, Cl 6, 90 Duro

4шт.

22

86017630

HITCH PIN,9.53mm OD x 50.55mm L

1шт.

23

87456576

INSULATOR,45mm W x 81mm L x 40mm Thk

Oil Cooler Plumbing

1шт.

Выбрано товаров: 23