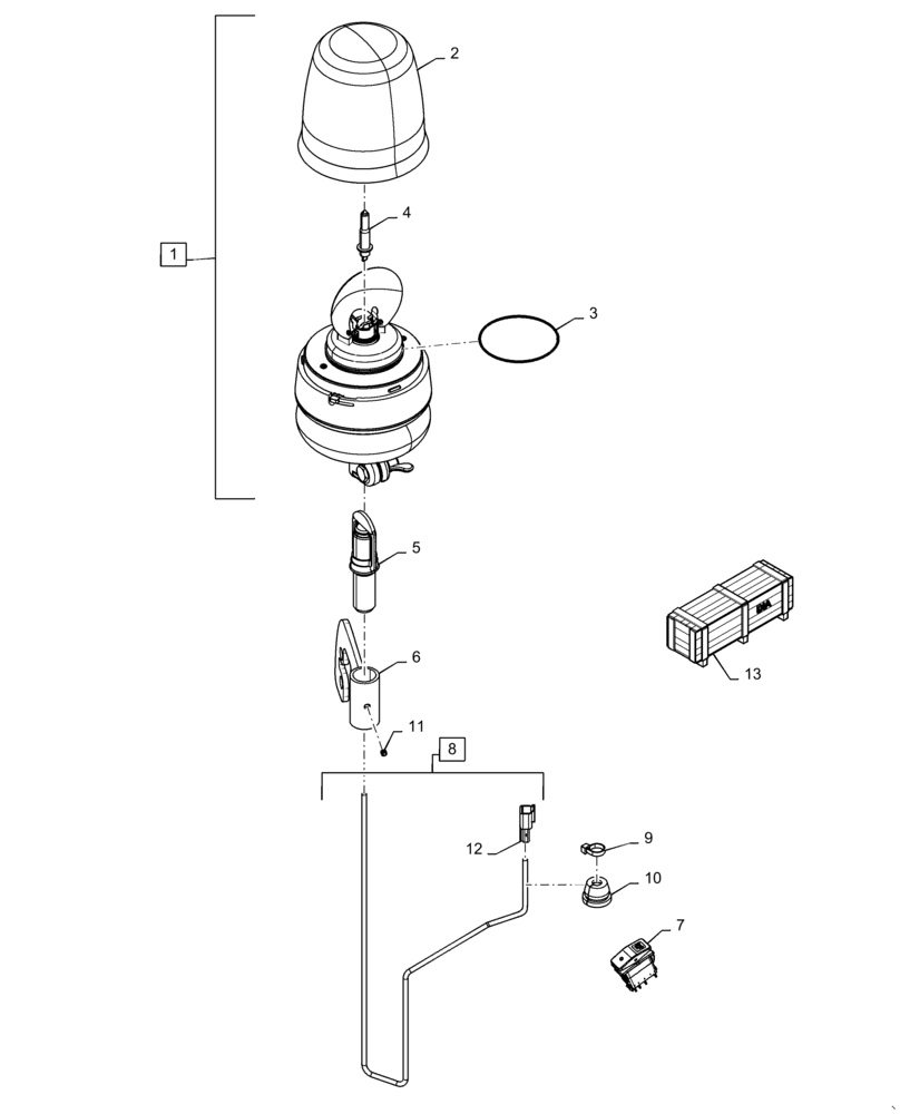
Запчасти Case IH MAGNUM 220 (55.404.AC[01]) - VAR - 420025 - BEACON, SINGLE (55) - ELECTRICAL SYSTEMS

Схема запчастей Case IH MAGNUM 220 - (55.404.AC[01]) - VAR - 420025 - BEACON, SINGLE (55) - ELECTRICAL SYSTEMS
11
1
12
10
6
3
2
8
13
4
5
7
9
FIT
1:1
100%

Артикул

Название

Примечание

Количество

1

84337818

BEACON

12V Flexible, Incl 2 - 4

1шт.

2

82020775

LENS

Amber, Beacon Lamp

1шт.

3

A187575

O-RING

Motor Drive Belt, Beacon Lamp

1шт.

4

86616248

BULB,H1, 12V, 55W

1шт.

5

244106A1

ELEC CONNECTOR

1шт.

6

84307951

BRACKET

Beacon

1шт.

7

87414325

SWITCH

Rocker, Beacon Strobe

1шт.

8

47562450

WIRE HARNESS

Beacon Light, Incl 12

1шт.

9

L11541

CABLE TIE,203.2mm L, Nylon

1шт.

10

182045A1

GROMMET

1шт.

11

878-1066

SET SCREW,Hex Skt, M6 x 6mm, Cup Pt

1шт.

12

87696547

ELEC CONNECTOR,Female, 2 Cavities

1шт.

13

47453788

DIA KIT, TRACTOR

LH Beacon Light, Incl 1 - 12

1шт.

Выбрано товаров: 13