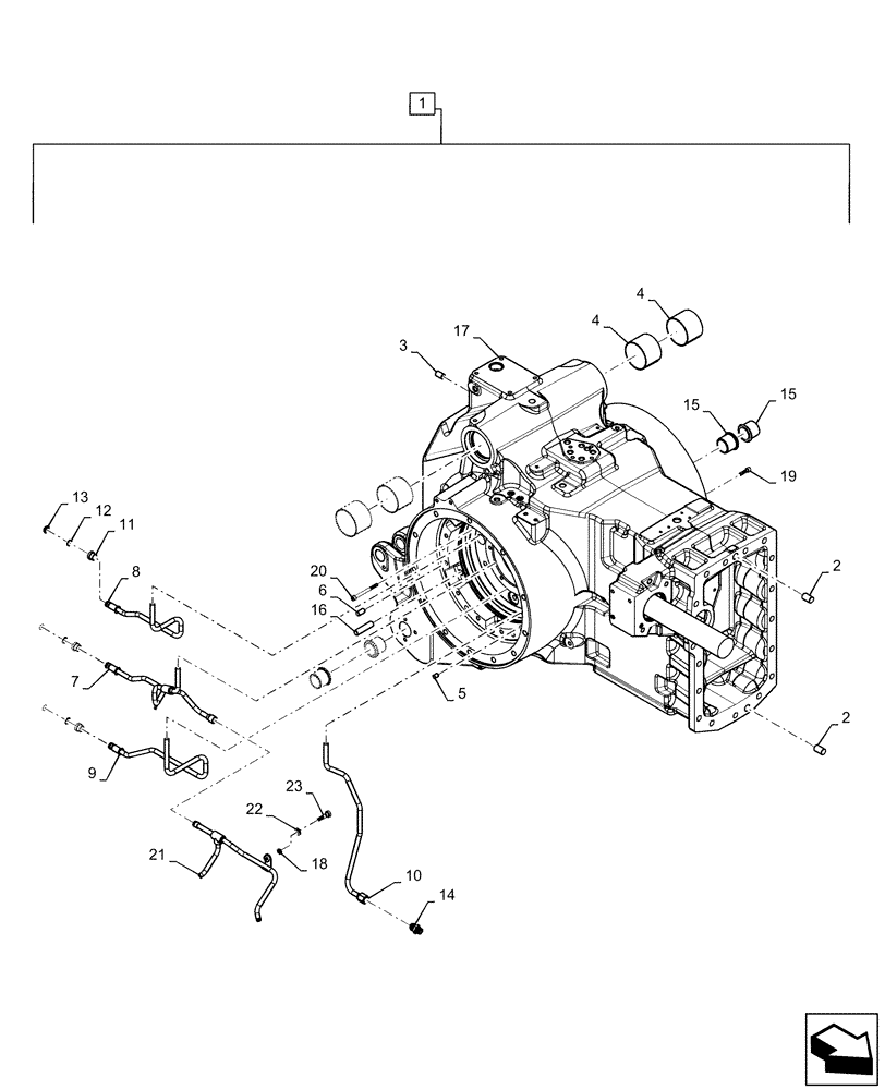
Запчасти Case IH MAGNUM 220 (21.118.AF[01]) - VAR- 420104, 420105 - FINAL DRIVE HOUSING - CVT (21) - TRANSMISSION

Схема запчастей Case IH MAGNUM 220 - (21.118.AF[01]) - VAR- 420104, 420105 - FINAL DRIVE HOUSING - CVT (21) - TRANSMISSION
2
15
15
1
4
10
22
11
9
16
3
6
13
8
21
19
23
7
18
2
14
5
12
17
4
20
FIT
1:1
100%

Артикул

Название

Примечание

Количество

1

84490303

TRANSMISSION HOUSING

CVT Final Drive Housing, Incl 2 - 23

1шт.

2

5185790

DOWEL,18mm OD x 30mm L

Pin

2шт.

3

4985062

DOWEL,15mm OD x 25mm L

Pin

2шт.

4

5185956

BUSHING,80.1mm ID x 85mm OD x 60mm L

Rockshaft

4шт.

5

10839710

DOWEL,M10 x 15.00mm

Pin

2шт.

6

5110200

DOWEL,12mm OD x 25mm L

Pin

6шт.

7

84271168

HYD TUBE

PTO Lubrication Pipe

1шт.

8

84269541

TUBE

PTO Pipe, Supply to Rear

1шт.

9

84269540

TUBE

PTO Brake Pipe

1шт.

10

87583446

TUBE

4WD Pipe

1шт.

11

84268812

BUSHING,16mm ID x 23mm OD x 16mm L

3шт.

12

84268818

SNAP RING

3шт.

13

14453182

O-RING,0.07" Thk x 0.489" ID, -14, Cl 9, 70 Duro

3шт.

14

5154713

HYD CONNECTOR

1шт.

15

5194813

BUSHING,37mm ID x 53mm OD x 40mm L

4шт.

16

5187995

GUIDE PIN,15mm OD x 65mm L

6шт.

17

NSS

NOT SOLD SEPARAT

TRANSMISSION HOUSING, CVT Final Drive, Incl in 1

1шт.

18

14450581

O-RING,6.86mm ID x 1.78mm Width

1шт.

19

14306520

HEX SOC SCREW,M8 x 1.25 x 30mm, Cl 8.8, Full Thd

1шт.

20

1960667

HEX SOC SCREW,M8 x 90mm, Cl 8.8

1шт.

21

87742108

HYD TUBE

Lube Pipe

1шт.

22

11190579

BELLEVILLE WASHER,M10 Bolt Size x 20mm OD x 2.3mm Thk

1шт.

23

87742107

SCREW,M8 x 37mm

1шт.

Выбрано товаров: 23