Запчасти Case IH MAGNUM 225 (10.310.01) - AFTERCOOLER (10) - ENGINE

Схема запчастей Case IH MAGNUM 225 - (10.310.01) - AFTERCOOLER (10) - ENGINE
8
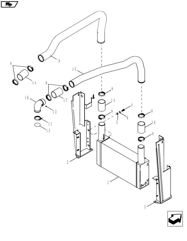
1
14
10
8
8
4
14
11
13
12
6
8
home
3
16
9
5
15
17
8
8
2
FIT
1:1
100%

Артикул

Название

Примечание

Количество

1

87307279

HEAT EXCHANGER

, Serial Range: Air-Air

1шт.

2

87621948

SUPPORT

Left Hand

1шт.

3

87621960

SUPPORT

Right Hand

1шт.

4

614-10025

BOLT,Hex, M10 x 1.5 x 25mm, Cl 8.8

4шт.

5

87456528

TUBE SPACER

4шт.

6

495-81148

WASHER,7/16" x 1 1/4" x .134"

6шт.

8

352198A1

CLAMP,90mm

Hose

8шт.

9

87735074

AIR INTAKE TUBE,2.87 mm ID x 3 mm OD x 946, 394 mm L

Cooler to Intake Manifold

1шт.

10

J918685

PIPE

1шт.

11

J069053

CLAMP,66.54mm ID

1шт.

12

J008465

PLUG

1шт.

13

J883284

O-RING,0.07" Thk x 2.364" ID, -36

1шт.

14

84174188

INTAKE AIR HOSE

Air to Air, Cold Side

2шт.

15

87735073

DUCT

, Serial Range: Turbo-Cooler

1шт.

16

84174187

INTAKE AIR HOSE

Air to Air, Hot Side

2шт.

17

377592A1

HOSE,76.20 mm ID x 130.00 mm, SAE 20R1, SAE J20

2шт.

Выбрано товаров: 16