Запчасти Case IH MAGNUM 235 (21.113.AP[02]) - SPEED TRANSMISSION, HOUSING (21) - TRANSMISSION

Схема запчастей Case IH MAGNUM 235 - (21.113.AP[02]) - SPEED TRANSMISSION, HOUSING (21) - TRANSMISSION
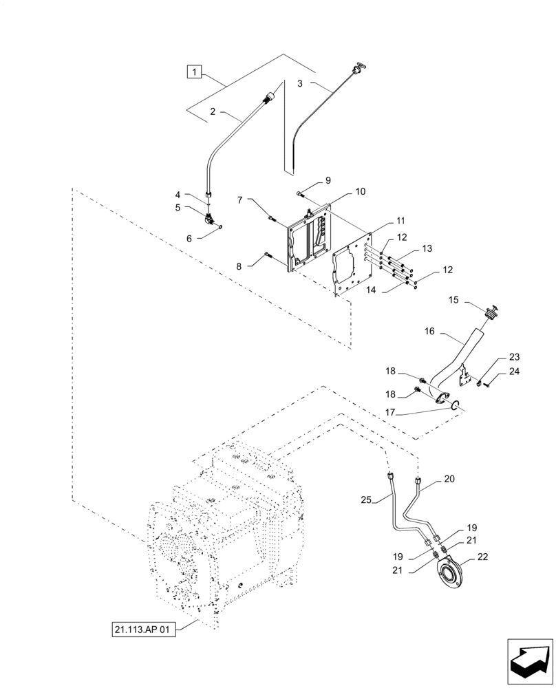
25
2
24
17
1
15
6
23
8
21
5
14
19
16
21
4
22
9
20
21.113.ap 01
19
7
12
13
10
11
18
18
12
3
FIT
1:1
100%

Артикул

Название

Примечание

Количество

1

84155850

DIPSTICK

Incl 2, 3

1шт.

2

84155852

DIPSTICK,918mm L

1шт.

3

84155851

TUBE

1шт.

4

9992298

O-RING,0.07" Thk x 0.489" ID, -14, Cl 6, 90 Duro

1шт.

5

86579691

90 ELBOW,90 Degree, 13/16"-18 ORFS x M18 x 1.5 ORB

1шт.

6

86598101

O-RING,2.2mm Thk x 15.3mm ID, Cl 6, 90 Duro

1шт.

7

614-10040

BOLT,Hex, M10 x 1.5 x 40mm, Cl 8.8, Full Thd

2шт.

8

628-10035

BOLT,Hex, M10 x 1.5 x 35mm, Cl 10.9, Full Thd

6шт.

9

861-10030

HEX SOC SCREW,M10 x 30mm, Cl 12.9

2шт.

10

87433653

PLATE ASSY.

1шт.

11

87433655

GASKET,0.92mm Thk

1шт.

12

272217

O-RING,0.07" Thk x 0.426" ID, -13, Cl 6, 90 Duro

8шт.

13

47747093

TUBE

1шт.

14

47747094

TUBE

2шт.

15

A77424

FILLER CAP

1шт.

16

84298535

TUBE

1шт.

17

238-5226

O-RING,0.139" Thk x 1.984" ID, -226, Cl 5, 75 Duro

1шт.

18

844-10020

BOLT,Hvy Hex, M10 x 20mm, Cl 8.8

4шт.

19

237-6004

O-RING,0.072" Thk x 0.351" ID, -904, Cl 6, 90 Duro

2шт.

20

87544717

HYD TUBE,7.03 mm ID x 9.53 mm OD

1шт.

21

218-5352

HYD CONNECTOR,9/16"-18, 37 Degree x 7/16"-20, O-Ring

2шт.

22

87341627

MANIFOLD

1шт.

23

515-22127

CLAMP,1/2", Insul, 5/16" Bolt

1шт.

24

614-8020

BOLT,Hex, M8 x 1.25 x 20mm

1шт.

25

87544716

HYD TUBE,7.03 mm ID x 9.53 mm OD x 286.72, 124.59 mm L

1шт.

Выбрано товаров: 25