Запчасти Case IH MAGNUM 235 (33.220.AH) - AIR COMPRESSOR - CANE VERSION (33) - BRAKES & CONTROLS

Схема запчастей Case IH MAGNUM 235 - (33.220.AH) - AIR COMPRESSOR - CANE VERSION (33) - BRAKES & CONTROLS
10
27
25
5
6
19
21
23
24
2
4
18
22
8
1
19
9
20
14
7
15
17
11
3
26
13
18
12
16
FIT
1:1
100%

Артикул

Название

Примечание

Количество

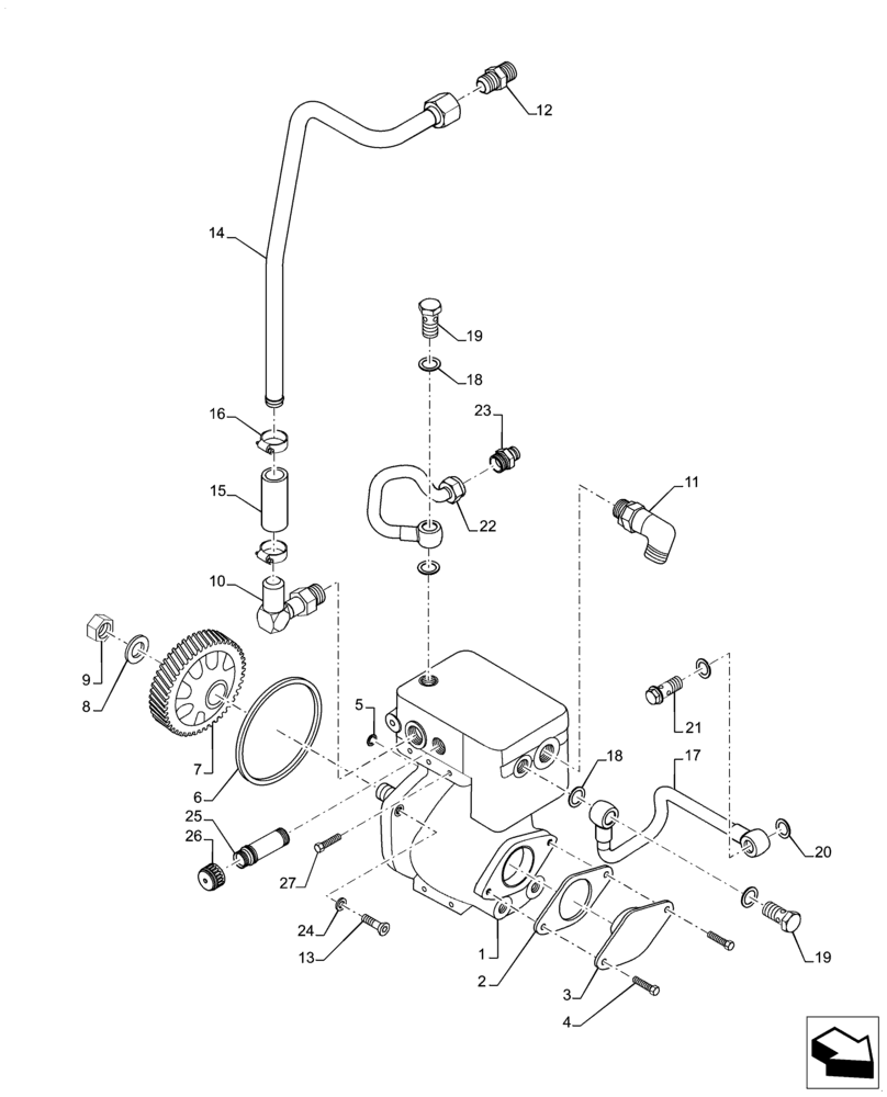
1

84307299

AIR COMPRESSOR

1шт.

2

84441023

GASKET

1шт.

3

84441022

COVER

1шт.

4

43138

BOLT,Hex, M10 x 1.5 x 20mm, Cl 8.8

2шт.

5

84441024

O-RING,9.19mm ID x 2.62mm Thk

1шт.

6

84441025

O-RING

1шт.

7

87520321

GEAR

1шт.

8

84441028

LOCKING RING

1шт.

9

84307309

NUT

1шт.

10

84531948

FITTING

90 Bead Hose M20 x M26 DIN

1шт.

11

84154675

ELBOW

1шт.

12

218-446

HYD CONNECTOR,1-1/16" - 12 Male JIC x 3/4" - 14 Male NPTF

1шт.

13

14422121

HEX SOC SCREW,M12 x 35mm, Cl 8.8, Full Thd

3шт.

14

84419013

TUBE

1шт.

15

84419014

INTAKE AIR HOSE

1шт.

16

86643166

HOSE CLAMP,#16, 20.6mm - 38.1mm, Type F Worm Gear, W/ Liner

2шт.

17

84154642

HYDRAULIC HOSE

1шт.

18

87667806

SEALING WASHER,18mm ID x 26mm OD x 1.5mm

4шт.

19

82824891

BANJO BOLT,2-Way, M18 x 1.5 x 37mm

2шт.

20

87667805

SEALING WASHER,16mm ID x 24mm OD x 1.5mm

2шт.

21

87736842

BANJO BOLT,M16 x 1.5 x 37mm

1шт.

22

84154640

HYDRAULIC HOSE

1шт.

23

84154645

PIPE FITTING

1шт.

24

140046

BELLEVILLE WASHER,M12 Bolt Size x 27mm OD x 1.8mm Thk

3шт.

25

84315910

ADAPTER

1шт.

26

84159148

BREATHER

1шт.

27

844-6012

BOLT,Hvy Hex, M6 x 12mm, Cl 8.8

4шт.

Выбрано товаров: 27