Качественные детали и логистика
Оригинальные и аналоговые запчасти с доставкой по России, Казахстану и Беларуси
©2022 PartSell ООО "Система" ИНН 2463123282 ОГРН 1212400004838
Центральный офис: г. Красноярск, Академика Киренского, д.87, пом.4
Телефон: 8 (800) 777-65-74 Email: zakaz@partsell.ru
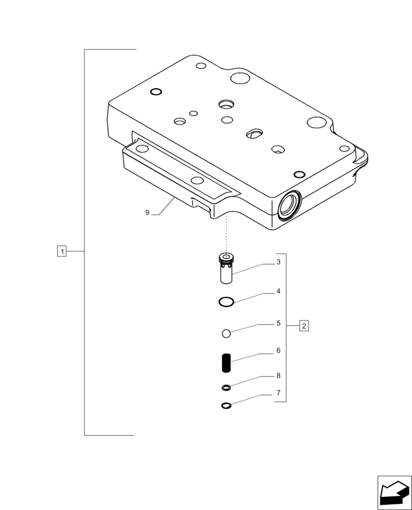
(35.310.AC[02]) - PLATE ASSEMBLY, VALVE MOUNTING, TOP
№
Артикул
Название
Примечание
Количество
1
87444975
MANIFOLD
Incl 2 - 9
1шт.
2
445492A2
CHECK VALVE
Incl 3 - 8
3
NSS
NOT SOLD SEPARAT
Valve, Incl in 2
4
238-5012
O-RING,0.07" Thk x 0.364" ID, -12, Cl 5, 75 Duro
5
86976060
BALL,7.14mm OD, Gr 24
6
445494A1
VALVE SPRING,7.21mm OD x 18.53mm L
7
100-2131
SNAP RING,0.312", Int, #31
8
86988656
SPRING WASHER,Spring, 5.5mm ID x 7.5mm OD x 1.1mm Thk
9
87444976
Выбрано товаров: 0